Каталог запасных частей к технике: ПАЗ-4230. Топливные трубопроводы
1
2
3
4
5
5
6
7
8
9
10
10
11
11
11
12
12
12
12
13
14
15
16
17
17
17
18
19
20
21
22
23
24
25
26
27
28
29
30
31
32
33
34
35
35
36
36
37
37
38
38
38
39
40
41
42
43
44
45
46
47
48
49
50
51
52
53
53
54
55
56
57
57
58
59
60
61
62
63
64
65
65
66
67
68
69
70
71
72
73
74
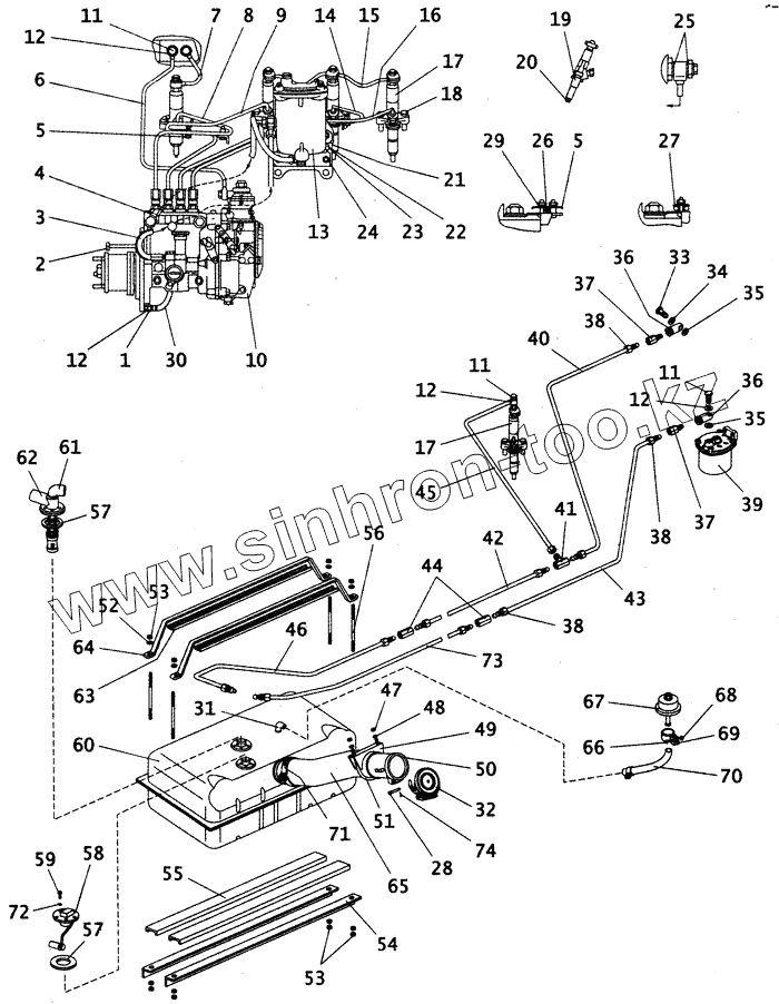
| Позиция на иллюстрации | Заводской номер детали | Название детали | |
|---|---|---|---|
| 672-1104104-Б | 672-1104104-Б | Муфта конусная | |
| 1 | 260-3509232-01 | Штуцер | |
| 2 | М10-6gх120.88.35.019 | Болт | |
| 3 | 240-1104170-02 | Трубка топливная низкого давления | |
| 4 | 240-1104170 | Трубка топливная низкого давления | |
| 5 | 240-1111130 | Колодка | |
| 6 | 245-1104330-И | Трубка пневмокорректора | |
| 7 | 245-1104350-В | Трубка перепускная | |
| 8 | 245-1104300-Г | Топливопровод высокого давления 1 цилиндра | |
| 9 | 245-1104300-Г-01 | Топливопровод высокого давления 2 цилиндра | |
| 10 | 773.1111005-05-Э2 | Насос топливный | |
| 10 | РР4М10Р1i-3531/773-20-06 | Насос топливный | |
| 11 | 36-1104787 | Болт штуцера | |
| 12 | 36-1104788 | Кольцо фильтра тонкой очистки | |
| 13 | 240-1117010-А | Фильтр топливный | |
| 14 | 245-1104300-Г-02 | Топливопровод высокого давления 3 цилиндра | |
| 15 | 245-1104320-А2 | Топливопровод дренажный | |
| 16 | 245-1104300-Г-03 | Топливопровод высокого давления 4 цилиндра | |
| 17 | 171.1112010-01 | Форсунка | |
| 17 | 455.1112010-50 | Форсунка | |
| 18 | М10-6gх35.88.35.019 | Болт | |
| 19 | 240-1111036-Б1 | Кольцо защитное | |
| 20 | 245-1111020 | Прокладка-экран | |
| 21 | 245-1117060-А | Кронштейн | |
| 22 | М10-6gх30.88.35.019 | Болт | |
| 23 | 10.65Г.06 | Шайба | |
| 24 | М10-6Н.6.019 | Гайка | |
| 25 | Д18-055-А | Кольцо уплотнительное | |
| 26 | 6.65Г.06 | Шайба | |
| 27 | 240-1111114 | Колодка | |
| 28 | 260021-П29 | Палец 6х42 | |
| 29 | М6-6Н.6.019 | Гайка | |
| 30 | 240-3509150 | Маслопровод | |
| 31 | 3102-1101281 | Клапан топливного бака со штуцером | |
| 32 | 66-01-1103010-10 | Пробка бака в сборе | |
| 33 | Д18-051-А | Болт поворотного угольника | |
| 34 | Д18-055-А-01 | Кольцо уплотнительное | |
| 35 | 3205-70-1104088 | Шайба уплотнительная | |
| 36 | 3205-70-1104118 | Угольник поворотный | |
| 37 | 672-1104106 | Штуцер прямой для трубки диаметром 10 | |
| 38 | 672-1104102-Б | Гайка упорная соединительная диаметром 10 | |
| 39 | 240-1105010 | Фильтр топливный грубой очистки в сборе | |
| 40 | 4230-1104106 | Трубка | |
| 41 | 3205-70-1104104 | Муфта соединения трубок топливопроводов | |
| 42 | 4230-1104090 | Трубка | |
| 43 | 4230-1104104 | Трубка | |
| 44 | 672Ю-1104104 | Муфта соединительная трубок топливопроводов | |
| 45 | 3205-07-1104786 | Трубка от форсунки к муфте | |
| 46 | 3205-70-1104100 | Трубка от тройника к муфте | |
| 47 | 250508-П29 | Гайка М6 | |
| 48 | 252134-П29 | Шайба 6 | |
| 49 | 4230-1101127 | Хомут | |
| 50 | 4230-1103009 | Пробка топливного бака в сборе с патрубком | |
| 51 | 4230-1101128 | Стремянка | |
| 52 | 252137-П29 | Шайба 6 | |
| 53 | 250514-П29 | Гайка М12 | |
| 54 | 3205-1101116-10 | Балка крепления бака топливного | |
| 55 | 3205-1101135 | Прокладка | |
| 56 | 3205-1101110 | Хомут крепления бака топливного | |
| 57 | 12-1104022 | Прокладка датчика указателя уровня бензина | |
| 58 | 5422.3827 | Датчик указателя уровня топлива | |
| 59 | 224598-П29 | Винт М5х0,8х14 крепления ручки | |
| 60 | 4230-1101010 | Топливный бак | |
| 61 | 298349-П29 | Штуцер угловой отстойника | |
| 62 | 4301-1104012 | Фланец забора слива топлива | |
| 63 | 3205-1101133 | Прокладка стяжки | |
| 64 | 3205-1101106-10 | Стяжка бака топливного | |
| 65 | 4230-1101126 | Шланг | |
| 65 | 4230-03-1101126 | Шланг | |
| 66 | 220082-П29 | Винт М5х20 | |
| 67 | 66-01-1128110 | Клапан топливного бака в сборе | |
| 68 | 251086-П29 | Гайка М5 | |
| 69 | 288000-П8 | Хомутик 16 | |
| 70 | 3205-1101375 | Шланг от бака к клапану | |
| 71 | АВА100-120/12С7-W4 | Хомут червячный | |
| 72 | 293196 | Шайба 5,75 | |
| 73 | 3205-70-1104100 | Трубка от тройника к муфте | |
| 74 | 258013-П29 | Шплинт 2х16 |
Содержащиеся в справочниках-каталогах запасные части и детали не предлагаются к продаже, а носят исключительно информационный характер