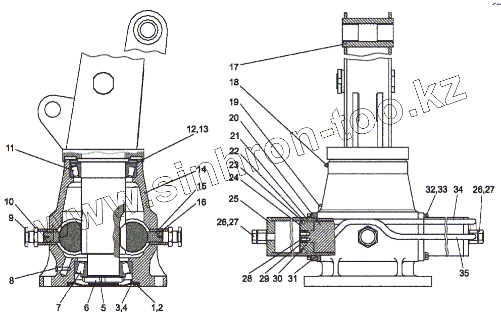
Каталог запасных частей к технике: МТЗ МПТ-461.1. ГМ42-0700000-01 Устройство поворотное
ГМ42-0700000-01
1
2
3
4
5
6
7
8
9
10
11
12
13
14
15
16
17
18
19
20
21
22
23
24
25
26
26
27
27
28
29
30
31
32
33
34
35
| Позиция на иллюстрации | Заводской номер детали | Название детали | |
|---|---|---|---|
| ГМ42-0700000-01 | ГМ42-0700000-01 | Устройство поворотное | |
| 1 | М8-6gx20.46.0115 | Болт М8-6gx20.46.0115 | |
| 2 | 8.65Г.0115 | Шайба 8.65Г.0115 | |
| 3 | ГМ42-0700007 | Крышка | |
| 4 | Кольцо 180-185-36-2-2 | Кольцо 180-185-36-2-2 | |
| 5 | Н95.01.08.05 | Шайба Н95.01.08.05 | |
| 6 | ГМ42-0700006 | Гайка | |
| 7 | 7520 | Подшипник 7520 | |
| 8 | У459.007-02 | Пробка | |
| 9 | ГМ42-0700012 | Болт | |
| 10 | ГМ42-0700013 | Гайка | |
| 11 | 2007128 | Подшипник 2007128 | |
| 12 | ГМ42-0700008 | Стакан | |
| 13 | Кольцо 205-210-36-2-2 | Кольцо 205-210-36-2-2 | |
| 14 | ГМ42-0704000-02 | Корпус | |
| 15 | Кольцо 027-032-30 | Кольцо 027-032-30 | |
| 16 | ГМ42-0700004 | Упор | |
| 17 | ГМ42-0702000 | Колонна | |
| 18 | Масленка 1.2.Ц6 | Масленка 1.2.Ц6 | |
| 19 | Заглушка-щуп | Заглушка-щуп | |
| 20 | ГМ42-0700003-03 | Шток-рейка | |
| 21 | КОП 3-62 | Кольцо опорное | |
| 22 | УКЗ.1-18 | Кольцо защитное | |
| 23 | Манжета 1-100х80-6 | Манжета 1-100х80-6 | |
| 24 | ГМ42-0700001 | Поршень | |
| 25 | ГМ42-0701000-01 | Гильза | |
| 26 | ЛВ-203А.01.00.002 | Болт | |
| 27 | У458.001-07 | Прокладка | |
| 28 | Винт ВМ6-6gx20.58.0115 | Винт ВМ6-6gx20.58.0115 | |
| 29 | ГМ42-0700002 | Шайба поршневая | |
| 30 | Кольцо 030-035-30 | Кольцо 030-035-30 | |
| 31 | Кольцо 120-126-36 | Кольцо 120-126-36 | |
| 32 | М16х1,5-6gx40.109.40Х.0115 | Болт М16х1,5-6gx40.109.40Х.0115 | |
| 33 | 16.65Г.0115 | Шайба 16.65Г.0115 | |
| 34 | ГМ42-0705000 | Трубопровод | |
| 35 | ГМ42-0705000-01 | Трубопровод |
Содержащиеся в справочниках-каталогах запасные части и детали не предлагаются к продаже, а носят исключительно информационный характер