Каталог запасных частей к технике: МТЗ МЛПТ-354М. Управление подачей топлива
1
2
2
3
3
4
5
6
7
7
7
7
7
7
7
7
8
8
8
9
10
11
11
11
11
11
11
11
12
12
12
12
13
13
13
13
14
14
14
15
16
17
17
17
17
17
17
17
17
17
18
18
19
19
20
21
21
22
22
22
23
24
25
26
27
28
29
30
31
32
33
34
35
35
35
35
36
36
37
37
37
37
38
39
40
41
42
43
44
45
46
47
48
49
50
51
52
53
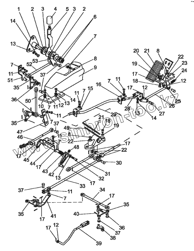
| Позиция на иллюстрации | Заводской номер детали | Название детали | |
|---|---|---|---|
| 1 | 354-1108045-А | Кронштейн | |
| 2 | 80-1108028 | Шайба | |
| 3 | 80-1108178 | Шайба фрикционная | |
| 4 | А13.17.000 | Рукоятка | |
| 5 | МЛ127-1108040 | Рукоятка | |
| 6 | М14х1,5-6Н.04.019 | Гайка | |
| 7 | 4598166045 | Шайба 6Т | |
| 8 | M6-6gx30.88.35.019 | Болт | |
| 9 | 354-1108020 | Кожух | |
| 10 | С6.01.019 | Шайба | |
| 11 | M6-6gx16.88.35.019 | Болт | |
| 12 | С8.01.019 | Шайба | |
| 13 | 4598166046 | Шайба 8Т | |
| 14 | M8-6gx16.88.35.019 | Болт | |
| 15 | 80В-1108504 | Кронштейн | |
| 16 | 821-1108504 | Кронштейн | |
| 17 | 3,2x25.019 | Шплинт | |
| 18 | M10-6gx25.88.35.019 | Болт | |
| 19 | 4598166067 | Шайба 10ОТ | |
| 20 | М10-6Н.6.019 | Гайка | |
| 21 | А13.36.001 | Чехол | |
| 22 | М6-6Н.6.019 | Гайка | |
| 23 | 80В-1108341 | Кронштейн | |
| 24 | 70-4803019 | Пружина | |
| 25 | МЛ127-1108020 | Педаль | |
| 26 | МЛ131-1108011 | Тяга | |
| 27 | 8x25 | Палец | |
| 28 | МЛ131-1108030 | Опора | |
| 29 | МЛ127-1108070 | Трос | |
| 30 | 8x30 | Палец | |
| 31 | 80В-1108503 | Тяга | |
| 32 | M8-6gx25.88.35.019 | Болт | |
| 33 | 80В-1108525 | Тяга | |
| 34 | 80В-1108344-01 | Тяга | |
| 35 | 80В-1108506 | Рычаг | |
| 36 | С10.01.019 | Шайба | |
| 37 | 70-1601109-01 | Палец | |
| 38 | 354-1108060 | Кронштейн | |
| 39 | 80В-1108540-01 | Тяга | |
| 40 | 2x16.019 | Шплинт | |
| 41 | 354-1108030 | Кронштейн | |
| 42 | 80В-1108365 | Рычаг | |
| 43 | 354-1108001-А | Пружина | |
| 44 | 80В-1108346 | Кронштейн | |
| 45 | 80В-1108360 | Вал | |
| 46 | 80В-1108535 | Тяга | |
| 47 | 80В-1108370 | Кронштейн | |
| 48 | 50-1108044 | Шпонка | |
| 49 | 80В-1108510 | Педаль | |
| 50 | 80В-1108343 | Тяга | |
| 51 | 80В-1108380 | Кронштейн | |
| 52 | 80В-1108344 | Тяга | |
| 53 | 80В-1108347 | Пружина тарельчатая |
Содержащиеся в справочниках-каталогах запасные части и детали не предлагаются к продаже, а носят исключительно информационный характер