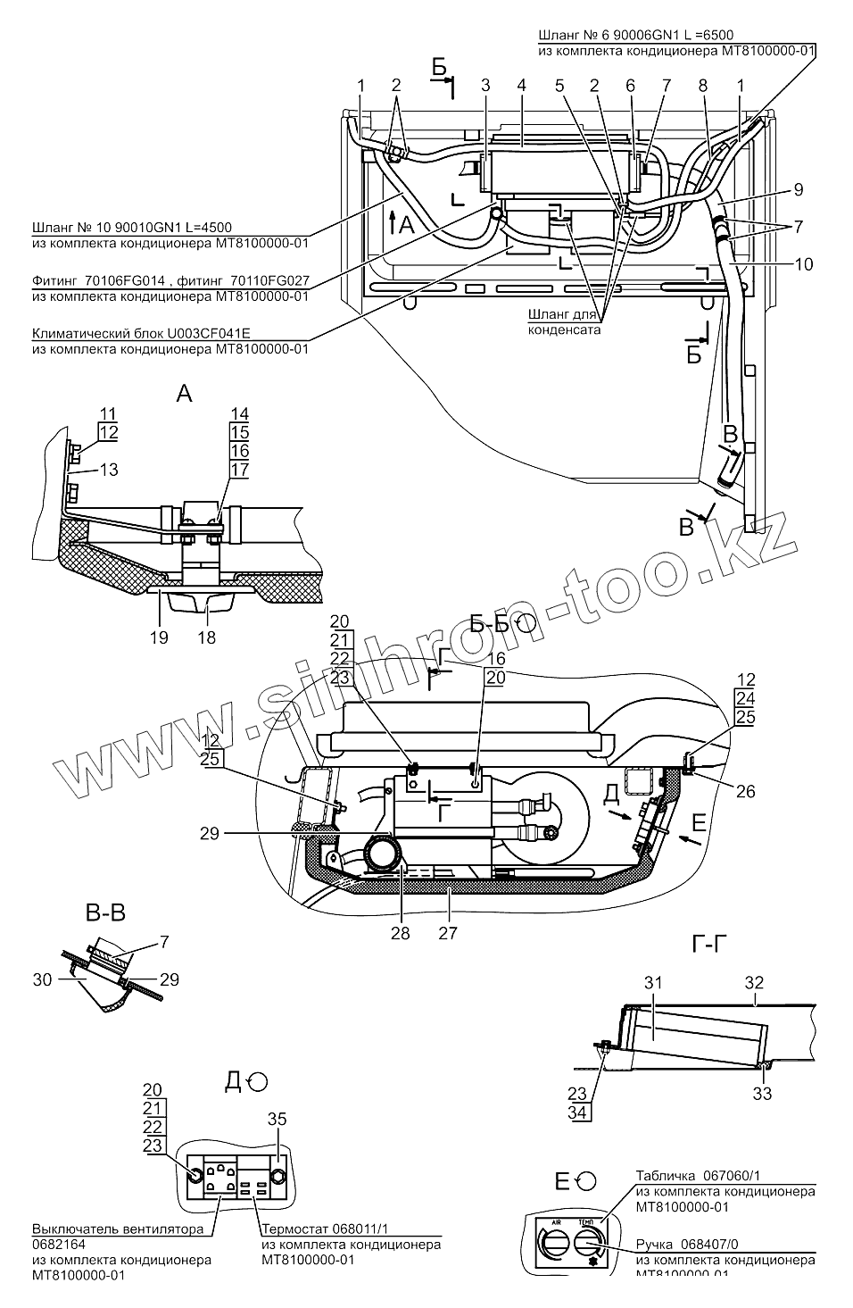
Каталог запасных частей к технике: МТЗ МЛПТ-344. Установка отопителя-охладителя
1
1
2
2
3
4
5
6
7
7
7
8
9
10
11
12
12
12
13
14
15
16
16
17
18
19
20
20
20
21
21
22
22
23
23
23
24
25
25
26
27
28
29
29
30
31
32
33
34
35
| Позиция на иллюстрации | Заводской номер детали | Название детали | |
|---|---|---|---|
| 344-8101010 | 344-8101010 | Установка отопителя-охладителя | |
| 1 | МЛ127-8101702-02 | Шланг | |
| 2 | TORRO20-32/9-C6W | Хомут «НОРМА» | |
| 3 | 80-8101941 | Уголок | |
| 4 | 1522-8101012-03 | Шланг | |
| 5 | 344-8101020 | Тройник | |
| 6 | 80-8101941-01 | Уголок | |
| 7 | TORRO50-70/9-C6W | Хомут «НОРМА» | |
| 8 | 3022-8101012 | Трубка | |
| 9 | 1,02114E+11 | Воздуховод | |
| 10 | 1,02114E+11 | Воздуховод | |
| 11 | M8-6gx20.88.35.019 | Болт | |
| 12 | 4598166046 | Шайба 8Т | |
| 13 | 80-8101717 | Кронштейн | |
| 14 | B.M5-6gx10.58.019 | Винт | |
| 15 | М5-6Н.6.019 | Гайка ГОСТ 5915-70 | |
| 16 | С.5.01.019 | Шайба | |
| 17 | 4598166044 | Шайба 5Т | |
| 18 | ПО11 | Кран | |
| 19 | 80-8101811 | Накладка | |
| 20 | М6-6gх16.88.35.019 | Болт | |
| 21 | М6-6Н.6.019 | Гайка | |
| 22 | С.6.01.019 | Шайба | |
| 23 | 4598166045 | Шайба 6Т | |
| 24 | М8-6gх35.88.35.019 | Болт | |
| 25 | М8-6Н.6.019 | Гайка | |
| 26 | А30.04.017-01 | Колпачок | |
| 27 | 80-8101810-02 | Панель | |
| 28 | 344-8101930 | Короб | |
| 29 | 4x10.019 | Шуруп | |
| 30 | 2,01576E+11 | Дефлектор | |
| 31 | 80-8104070 | Фильтр | |
| 32 | 80-8101760 | Крышка | |
| 33 | 80-8101714-04 | Уплотнитель | |
| 34 | М6-6gх20.88.35.019 | Болт | |
| 35 | 80-8101952 | Кронштейн |
Содержащиеся в справочниках-каталогах запасные части и детали не предлагаются к продаже, а носят исключительно информационный характер