Каталог запасных частей к технике: МТЗ МЛПТ-344. Панель. Козырек
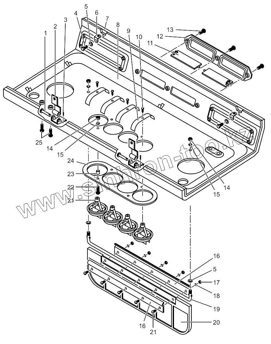
1
2
3
4
5
5
6
7
8
9
10
11
12
13
14
14
15
15
16
16
17
18
19
20
21
21
22
23
24
25
| Позиция на иллюстрации | Заводской номер детали | Название детали | |
|---|---|---|---|
| 80П-8204010-01 | 80П-8204010-01 | Козырек противосолнечный | |
| 80-8101810-02 | 80-8101810-02 | Панель | |
| 1 | 50-8400031 | Ось | |
| 2 | 80-8100048 | Петля | |
| 3 | 2x12.019 | Шплинт | |
| 4 | M6-6gx16.88.35.019 | Болт | |
| 5 | С.6.01.019 | Шайба | |
| 6 | 70-6702111 | Угольник | |
| 7 | 80-8101713 | Обивка | |
| 8 | 80-8100100-01 | Панель | |
| 9 | 1522-8104105 | Скоба | |
| 10 | 2-4x16.019 | Шуруп | |
| 11 | 80-8100012 | Заслонка | |
| 12 | 80-8100011-Б | Крышка | |
| 13 | B.M6-6gx16.58.019 | Винт | |
| 14 | М6-6Н.6.019 | Гайка | |
| 15 | 4598166045 | Шайба 6Т | |
| 16 | 70-8204014 | Держатель | |
| 17 | М4-6Н.6.019 | Гайка | |
| 18 | 4598166023 | Шайба 4 | |
| 19 | 80П-8204011-01 | Ось | |
| 20 | 70-8204011-А | Козырек | |
| 21 | 1522-8104100 | Дефлектор | |
| 22 | B.M6-6gx25.58.019 | Винт | |
| 23 | 1.М6-7Нx16.0-10.Ц6.хр. | Заклепка-гайка | |
| 24 | 80-8101813 | Рамка | |
| 25 | B.M6-6gx20.58.019 | Винт |
Содержащиеся в справочниках-каталогах запасные части и детали не предлагаются к продаже, а носят исключительно информационный характер