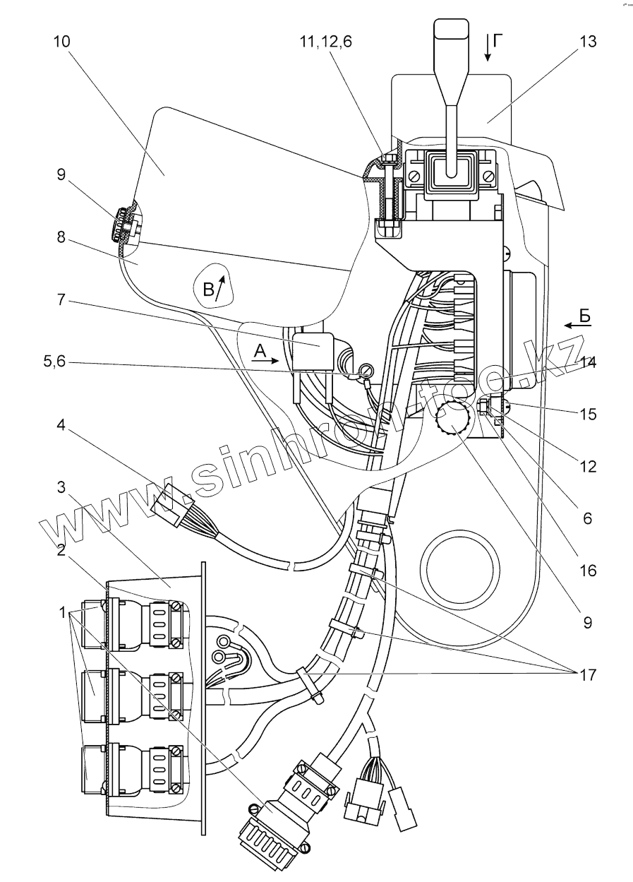
Каталог запасных частей к технике: МТЗ БЕЛАРУС 1502. Щиток приборов
1502-3805110
1
2
3
4
5
6
6
6
7
8
9
9
10
11
12
12
13
14
15
16
17
| Позиция на иллюстрации | Заводской номер детали | Название детали | |
|---|---|---|---|
| 1502-3805110 | 1502-3805110 | Щиток приборов | |
| 1 | 925-3724390 | Жгут | |
| 2 | 822-3805073-Б | Кронштейн | |
| 3 | 822-3805072 | Кронштейн | |
| 4 | Жгут822-3724010-Б | Жгут | |
| 5 | ВинтВ.М6-6gх16.58.019 | Винт | |
| 6 | Шайба6ТОСТ37.001.115-75 | Шайба 6Т ОСТ 37.001.115-75 | |
| 7 | 733.3747 | Реле | |
| 8 | 822-3805161 | Боковина | |
| 9 | 80-3805065 | Винт | |
| 10 | 923-3805121 | Панель | |
| 11 | БолтМ6-6gх60.88.35.019 | Болт | |
| 12 | ШайбаС6.01.019 | Шайба | |
| 13 | 822-3709124-Б | Чехол | |
| 14 | 822-3805050 | Основание | |
| 15 | ВинтВ.М6-6gх20.58.019 | Винт | |
| 16 | ГайкаМ6-6Н.6.019 | Гайка | |
| 17 | 80-3723045 | Манжета | |
| 18 | Шуруп4х10.019 | Шуруп 4х10.019 | |
| 19 | 70-3506027 | Втулка | |
| 20 | 80-3723043 | Скоба | |
| 21 | ВинтВ.М5-6gх16.58.019 | Винт | |
| 22 | ГайкаМ5-6Н.6.019 | Гайка | |
| 23 | Шайба5ТОСТ37.001.115-75 | Шайба | |
| 24 | 822-3805162 | Боковина | |
| 25 | 245.3710 | Выключатель аварийный | |
| 25 | 249.3710-05 | Выключатель аварийной сигнализации | |
| 26 | 5336-3710015 | Рамка выключателя | |
| 27 | ПКП-3А | Переключатель стеклоочистителя | |
| 28 | БП-2-01 | Блок предохранителей | |
| 29 | 822-3805027-Б | Табличка | |
| 30 | 3710.040-01 | Колодка 30-16-06570 | |
| 31 | 822-3805026-Б | Табличка | |
| 32 | БП-1-01 | Блок предохранителей | |
| 33 | РП-1 | Прерыватель указателей поворота | |
| 33 | 8586.6/0031 | Прерыватель указателей поворота | |
| 33 | ЭРП-1 | Прерыватель указателей поворота | |
| 34 | ПКП-1А | Переключатель подрулевой | |
| 35 | 3710.040-02 | Колодка 30-16-06571 | |
| 36 | 1021076 | Выключатель стартера | |
| 37 | 822-3805013 | Табличка | |
| 38 | 822-3805075 | Кронштейн | |
| 39 | Реле | Реле | |
| 39 | 752.3777.000-10 | Реле | |
| 39 | 982.3777-10 | Реле | |
| 40 | ПР-32-04 | Уплотнитель | |
| 41 | 822-3723044 | Хомутик | |
| 43 | БолтМ8-6gх20.88.35.019 | Болт | |
| 44 | ШайбаС8.01.019 | Шайба | |
| 45 | Шайба8ТОСТ37.001.115-75 | Шайба 8Т ОСТ 37.001.115-75 | |
| 46 | 1502-3724275 | Жгут 27 | |
| 47 | АР80.3709 | Пульт управления | |
| 47 | КД8105-П | Пульт управления | |
| 48 | БолтМ6-6gх16.88.35.019 | Болт | |
| 49 | П150М-14.48 | Переключатель | |
| 49 | ПК150-14.48 | Переключатель | |
| 50 | 80-3801327 | Заглушка | |
| 51 | БлокКД8105 | Индикатор комбинированный | |
| 51 | АР80.3813 | Индикатор комбинированный | |
| 52 | Шуруп4х16.019 | Шуруп 4х16.019 | |
| 52 | АР10.3803 | Блок контрольных ламп | |
| 52 | БИ8112.3803-1 | Блок индикаторов | |
| 53 | АР10.3803 | Блок контрольных ламп | |
| 53 | БИ8112.3803-1 | Блок индикаторов | |
| 53 | ЭА10.3803 | Блок сигнализаторов | |
| 54 | П147М-04.29 | Переключатель | |
| 54 | ПК147-04.29 | Переключатель | |
| 55 | ТУАР.3801.005-98 | Комбинация приборов | |
| 55 | КД8116.3801-2 | Блок | |
| 55 | КП-02.3801-1 | Комбинация приборов |
Содержащиеся в справочниках-каталогах запасные части и детали не предлагаются к продаже, а носят исключительно информационный характер