Вернуться на главную
Поиск
Каталоги запчастей к технике
Сельхозтехника
МТЗ
МТЗ-80 (2002)
6702, 8404 Тент каркас. Основание
Каталог запасных частей к технике: МТЗ-80 (2002). 6702, 8404 Тент каркас. Основание
zoom-in
zoom-out
enlarge
shrink
circle-right
circle-left
file-text2
info
cart
Тип техники
Не выбрано
Легковые автомобили
Грузовые автомобили и прицепы
Автобусы
Сельхозтехника
Спецтехника
Двигатели
Мототехника
Марка
Не выбрано
AGCO
Amity
CASE IH
DongFeng
Fortschritt
Foton
Franz Kleine
Gaspardo
Great Plains
KRONE
KUHN
Lemken
Lovol
MacDon
Massey Ferguson
New Holland
TIGARBO
Vaderstad
Versatile
Wirax
Агро
Агротехмаш
Бобруйскагромаш (ОАО «УКХ «Бобруйскагромаш»)
БЭМЗ
ВгТЗ
Воронежсельмаш
ВТЗ
Гомсельмаш
ДКЗ
ЗАО "Техника-сервис"
ЗиД
КЗК
Кировец-Ландтехник
Клевер
Красная Звезда
Лидагропроммаш
Лидсельмаш
ЛТЗ
Машстройхолдинг
Минитракторы
Мордовагромаш
МТЗ
Навигатор-Новое машиностроение
Нефтекамский автозавод
ПТЗ
Ремком
РСМ
Сибсельмаш
ТеКЗ
ТКЗ
ХЗТСШ
ХТЗ
ЮМЗ
Модель
Не выбрано
1025.5 (2013)
1025/1025.2/1025.3 (2009)
1220 (2011)
1220.5 (2013)
1523.5 (2013)
1523.5 с ГМТ (2014)
2122.3/2122.4 (2015)
3022ДЦ.1 (2011)
320.4М (2019)
622 (2012)
800/900 (2003)
80Х (2012)
892 (2011)
922.3 / 922.4 (2013)
922.5 (2013)
923.4 (2014)
923.5 (2013)
92П (2010)
952.5 (2013)
БЕЛАРУС 1025.7 (2022)
БЕЛАРУС 1220.7 (2022)
БЕЛАРУС 1221.7 (2022)
БЕЛАРУС 2103 (2015)
БЕЛАРУС 320 (1998)
БЕЛАРУС 3522.5 (2013)
БЕЛАРУС 3525 (2019)
БЕЛАРУС 421 (2014)
БЕЛАРУС 451 (2023)
БЕЛАРУС 651 (2023)
БЕЛАРУС 923.7 (2022)
БЕЛАРУС 952.7 (2022)
Беларус-08Н (09Н) (2015)
Беларус-422.1 (2018)
КБ-00.000 (САЗ) (2015)
КМ-2 (САЗ) (2015)
МТЗ-082
МТЗ-100
МТЗ-1005 (2008)
МТЗ-1021.3 (2010)
МТЗ-1025.4 (2009)
МТЗ-112Н, 132Н (2010)
МТЗ-1221 (1997)
МТЗ-1221 (2009) (2009)
МТЗ-1221.4 (2009)
МТЗ-1221.4 (2009)
МТЗ-1221.5 (2013)
МТЗ-1222/1523 (2009)
МТЗ-1522 (2008)
МТЗ-1523
МТЗ-1523 (2013)
МТЗ-1523 (2008) (2008)
МТЗ-1523.4 (2010)
МТЗ-1523.6 (2018)
МТЗ-2022 (2010)
МТЗ-2103 (2010)
МТЗ-2522 (2010)
МТЗ-310, 320, 321 (2011)
МТЗ-3522 (2011)
МТЗ-510/512, 520/522 (2010)
МТЗ-570 (2010)
МТЗ-80 (1998)
МТЗ-80 (2002) (2002)
МТЗ-80 (2009) (2009)
МТЗ-80.1 (2015)
МТЗ-821/921 (2009)
МТЗ-822 (2008)
МТЗ-826 (2010)
МТЗ-90/92 (2008)
МТЗ-900
МТЗ-900/920/950/952 (2009)
МТЗ-920.4/952.4 (2009)
МТЗ-922 (2008)
МТЗ-923 (2008)
ФР-00.010 (САЗ) (2015)
ФР-00700-Б (САЗ) (2015)
Схема
>
Не выбрано
6700, 8400 Кабина трактора. Крылья задние
6702, 6706 Кабина трактора. Пол кабины
5205 Стеклоочиститель переднего стекла
192.000 Стеклоочиститель заднего стекла
5208 Стеклоомыватель
6708 Двери кабины
6800 Сиденье оператора
6800, 6805 Сиденье. Механизм ругулировки
6809 Сиденье дополнительное
8101, 8115 Отопитель. Арматура отопителя
8201 Зеркало заднего вида внутреннее
8201 Зеркало заднего вида боковое
8204 Козырек противосолнечный
8401, 8402 Облицовка радиатора. Капот
8403 крылья передние 80.1
8403 Крылья передние 82Р
8403 Крылья передние 82.1
8405 Подножка
1309 Ограждение вентилятора
6702, 8404 Тент каркас. Основание
1001,1002 Подвеска и блок цилиндров
1003 Головка цилиндров. Клапаны и толкатели клапанов
1004, 1005 Поршни и шатуны. Вал коленчатый и маховик
1006 Механизм распределительный
1008 Газопровод дизеля
1022 Установка насоса рулевого управления
1101 Баки топливные
1104, 1111 Трубопроводы топливные и установка топливной аппаратуры
1111 Насос топливный 4УТНИ
1110 Регулятор топливного насоса
1106 Насос подкачивающий
1112 Форсунка 171.1112010-01
1105 Фильтр топливный грубой очистки
1108 Управление подачей топлива
1109 Фильтр воздушный
1109 Моноциклон
1115 Аварийный останов дизеля
1117 Фильтр топливный тонкой очистки
1205 Глушитель
1301, 1302 Радиатор водяной. Подвеска радиатора водяного
1306 Термостат
1307, 1308 Насос водяной и вентилятор
1310 Шторка. Вариант с ГОРУ
1310 Шторка. Вариант с ГУР
1401 Картер масляный
1402, 1403 Насос масляный и приемник масляного насосоа
1404 Фильтр масляный центробежный
1405 Радиатор масляный
1601 Диски сцепления
1601 Корпус сцепления
1601 Корпус сцепления (отводка)
1601 Корпус сцепления (привод ВОM, привод насоса годросистемы навески)
1601, 1721 Корпус сцепления (понижающий редуктор)
1602 Привод выключения сцепления
1701 Коробка передач. Корпус коробки передач
1701 Вал первичный. Вал вторичный
1701 Вал промежуточный
1701, 1721 Редуктор
1701 Вал первой передачи заднего хода
1702 Механизм переключения передач. Корпус вилок
1703 Механизм переключения передач. Крышка
1702 Механизм переключения передач
1723 Управление редуктором
1802 Раздаточная коробка
2203, 2209 Карданный вал. Промежуточная опора карданного вала.
2210 Ограждение карданного вала
2302 Главная передача
2300, 2301, 2303 Передний ведуший мост в сборе. Корпус и крышка. Дифференциал
2308 Редуктор конечной передачи
2401, 2407 Корпус заднего моста. Конечная передача
2403 Дифференциал. Стакан подшипников
2409 Механизм блокировки дифференциала
2412 Бортовой редуктор (82Р)
2800, 2801 Полурама
3000 Ось передняя и тяга рулевая. Вариант с ГОРУ
3000 Ось передняя и тяга рулевая. Вариант с ГУР
3101, 3103 Колеса передние направляющие. Ступицы передних колес.
3102 Колеса передние ведущие
3104, 3107 Колеса задние. Ступицы задних колес
3101, 3102 Колесо переднее ведущее, колесо заднее, колесо переднее направляющее
3401 Привод управления рулевого. Вариант с ГОРУ
3401 Привод управления рулевого. Вариант с ГУР
3407 Арматура рулевого управления. Вариант с ГОРУ
3405 Гидроцилиндр 50х25-200. Вариант с ГОРУ
3405, 3407 Гидроцилиндр и арматура ГОРУ (80.1)
3405, 3407 Гидроцилиндр и арматура ГОРУ (82.1, 82Р)
3407 Гидроагрегаты и армаура ГУР
3405 Цилиндр ГУР
3406 Распределитель ГУР
3502, 3503 Тормоза основные. Управление тормозами
3504 Тормоз стояночный
3506 Трубопроводы и арматура пневмопривода тормозов
3512 Регулятор давления
3513 Баллон
3521 Голока соединителя
3514 Кран тормозной
А29.01. Компрессор
3709, 3710 Электрооборудование двигателя и трансмиссии
3713, 3721 Электрооборудование кабины
3722, 3724 Установка фонарей задних
3731 Аккумуляторные батареи. Установка аккумуляторных батарей
3701 Генератор
3707 Подогреватель электрофакельный
3708 Стартер
3712 Фонари передние
3714 Плафон освещения кабины
3716 Фонари задние
3717 Фонарь освещения номерного знака
3801, 3805 Приборы
3805 Стенка, крышка
3805 Основание, приборы. Вариант 1
3805 Основание, приборы. Вариант 2
4202 Вал отбора мощности задний
4216 Управление задним валом отбора мощности
4605 Механизм задней навески
4607 Управление распределителем
4607 Гидроагрегаты и арматура. Выриант без силового регулятора
4607 Арматура корпуса гидроагрегатов
4608 Корпус гидроагрегатов и фильтр
4608 Корпус гидроагрегатов и фильтр. Вариант
4604 Привод насоса
4604 Привод насоса. Вариант
Ц100 Гидроцилиндр Ц100х200
Р80-3/4-222-3Гг Распределитель Р80-3/4-222-ЗГг
НШ32А-3 Насос шестеренный НШ32А-3
4616 Управление регулятором
4614 Регулятор
М036-50Р Муфта разрывная
Н.036 Запорное устройство
4619 Механизм фиксации
4801 Управление блокировкой. Вариант с ГОРУ
4801, 4802 Дачик блокировки. Арматура дачика блокировки. Вариант с ГУР
4803 Управление блокировкой. Вариант с ГУР
2707 Устройство прицепное. Вариант крюк
2707 Устройство прицепное. Вариант маятник или прицеп
2805 Устройство буксирное
2807 Крюк прицепной гидрофицированный
4204 Вал отбора мощности боковой
4211 Шкив приводной
4235 Балласт передний
4605 Кронштейн наружной блокировки
4605 Стяжка телескопическая
3901 Инструмент
3912 Аптечка санитарная
3919 Ящик инструментальный
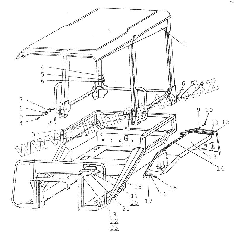
1
2
3
4
4
4
5
5
5
6
6
6
7
8
9
9
10
11
12
13
14
15
16
17
18
19
20
21
22
23
Позиция на иллюстрации
Заводской номер детали
Название детали
85-3712041-01
85-3712041-01
Кронштейн левый
85-3712045-01
85-3712045-01
Кожух левый
80-8404011-Б-01
80-8404011-Б-01
Крыло правое
80-6700510
80-6700510
Тент-каркас с основанием в сборе
80-8404020-Б-01
80-8404020-Б-01
Закрылок правый
1
80-6703056
Вставка
2
80-6702510
Основание
3
80-6700511
Накладка
4
ГОСТ7796-70
Болт М8-6gх20.88.35.019
5
OCT37.001.115-75
Шайба 6Т
6
ГОСТ6958-78
Шайба С6.01.08кп.019
7
80-6700511-01
Накладка
8
80-6701505
Каркас
9
ГОСТ11371-78
Шайба С6.01.08кп.019
10
ГОСТ7798-70
Болт M6-6gx16.88.35.019
11
80-8404020-Б
Закрылок левый
12
80-8404014-А
Уплотнитель
13
80-8404011-Б
Крыло левое
14
80-8404013-А
Уплотнитель
15
ГОСТ7796-70
Болт М8-6gх20.88.35.019
16
ОСТ37.001.115-75
Шайба 8Т
17
ГОСТ11371-78
Шайба С6.01.08кп.019
18
85-3712041
Кронштейн правый
19
ГОСТ7796-70
Болт М8-6gх20.88.35.019
20
ГОСТ5915-70
Гайка М6-6Н.6.019
21
85-3712045
Кожух правый
22
ГОСТ17473-80
Винт ВМ6-6gх12.58.019
23
ОСТ37.001.115-75
Шайба 8Т
Содержащиеся в справочниках-каталогах запасные части и детали не предлагаются к продаже, а носят исключительно информационный характер
Дополнительная информация
×
Название:
Номер:
Примечание: