Каталог запасных частей к технике: МТЗ-2103. Охлаждение наддувочного воздуха
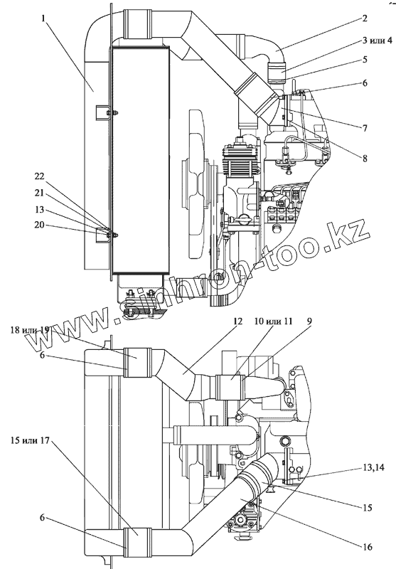
2103-1317010
1
2
3
4
5
6
6
6
7
8
9
10
11
12
13
13
14
15
15
16
17
18
19
20
21
22
| Позиция на иллюстрации | Заводской номер детали | Название детали | |
|---|---|---|---|
| 2103-1317010 | 2103-1317010 | Охлаждение наддувочного воздуха | |
| 1 | 2522Д-1317100-06 | Охладитель | |
| 2 | 245-1008311 | Патрубок | |
| 3 | 270 003150-В | Патрубок силиконовый | |
| 4 | PR001-50-100-MA | Патрубок термостойкий | |
| 5 | "Norma ""GBS""M 61/20 W2" | Хомут | |
| 6 | "Norma ""GBS"" M 101/25 W2" | Хомут | |
| 7 | 2103-1317020 | Патрубок | |
| 8 | 2103-1317001 | Прокладка | |
| 9 | "Norma ""GBS"" M 82/25 W2" | Хомут | |
| 10 | 270 003152-B | Патрубок силиконовый | |
| 11 | PR001-75-100-MA | Патрубок термостойкий | |
| 12 | 2103-1317040 | Воздухопровод | |
| 13 | 4598166045 | Шайба 6Т | |
| 14 | M8-6gx16.88.35.019 | Болт | |
| 15 | 270 003153-А | Патрубок силиконовый | |
| 16 | 2103-1317030 | Воздухопровод | |
| 17 | PR001-90-120-PES | Патрубок термостойкий | |
| 18 | 270 003153-В | Патрубок силиконовый | |
| 19 | PR001-90-120-MA | Патрубок термостойкий | |
| 20 | M8-6gx25.88.35.019 | Болт | |
| 21 | С8.01.019 | Шайба | |
| 22 | М8-6Н.6.019 | Гайка |
Содержащиеся в справочниках-каталогах запасные части и детали не предлагаются к продаже, а носят исключительно информационный характер