Вернуться на главную
Поиск
Каталоги запчастей к технике
Сельхозтехника
МТЗ
МТЗ-2022
Кран 2822-1602100-03
Каталог запасных частей к технике: МТЗ-2022. Кран 2822-1602100-03
zoom-in
zoom-out
enlarge
shrink
circle-right
circle-left
file-text2
info
cart
Тип техники
Не выбрано
Легковые автомобили
Грузовые автомобили и прицепы
Автобусы
Сельхозтехника
Спецтехника
Двигатели
Мототехника
Марка
Не выбрано
AGCO
Amity
CASE IH
DongFeng
Fortschritt
Foton
Franz Kleine
Gaspardo
Great Plains
KRONE
KUHN
Lemken
Lovol
MacDon
Massey Ferguson
New Holland
TIGARBO
Vaderstad
Versatile
Wirax
Агро
Агротехмаш
Бобруйскагромаш (ОАО «УКХ «Бобруйскагромаш»)
БЭМЗ
ВгТЗ
Воронежсельмаш
ВТЗ
Гомсельмаш
ДКЗ
ЗАО "Техника-сервис"
ЗиД
КЗК
Кировец-Ландтехник
Клевер
Красная Звезда
Лидагропроммаш
Лидсельмаш
ЛТЗ
Машстройхолдинг
Минитракторы
Мордовагромаш
МТЗ
Навигатор-Новое машиностроение
Нефтекамский автозавод
ПТЗ
Ремком
РСМ
Сибсельмаш
ТеКЗ
ТКЗ
ХЗТСШ
ХТЗ
ЮМЗ
Модель
Не выбрано
1025.5 (2013)
1025/1025.2/1025.3 (2009)
1220 (2011)
1220.5 (2013)
1523.5 (2013)
1523.5 с ГМТ (2014)
2122.3/2122.4 (2015)
3022ДЦ.1 (2011)
320.4М (2019)
622 (2012)
800/900 (2003)
80Х (2012)
892 (2011)
922.3 / 922.4 (2013)
922.5 (2013)
923.4 (2014)
923.5 (2013)
92П (2010)
952.5 (2013)
БЕЛАРУС 1025.7 (2022)
БЕЛАРУС 1220.7 (2022)
БЕЛАРУС 1221.7 (2022)
БЕЛАРУС 2103 (2015)
БЕЛАРУС 320 (1998)
БЕЛАРУС 3522.5 (2013)
БЕЛАРУС 3525 (2019)
БЕЛАРУС 421 (2014)
БЕЛАРУС 451 (2023)
БЕЛАРУС 651 (2023)
БЕЛАРУС 923.7 (2022)
БЕЛАРУС 952.7 (2022)
Беларус-08Н (09Н) (2015)
Беларус-422.1 (2018)
КБ-00.000 (САЗ) (2015)
КМ-2 (САЗ) (2015)
МТЗ-082
МТЗ-100
МТЗ-1005 (2008)
МТЗ-1021.3 (2010)
МТЗ-1025.4 (2009)
МТЗ-112Н, 132Н (2010)
МТЗ-1221 (1997)
МТЗ-1221 (2009) (2009)
МТЗ-1221.4 (2009)
МТЗ-1221.4 (2009)
МТЗ-1221.5 (2013)
МТЗ-1222/1523 (2009)
МТЗ-1522 (2008)
МТЗ-1523
МТЗ-1523 (2013)
МТЗ-1523 (2008) (2008)
МТЗ-1523.4 (2010)
МТЗ-1523.6 (2018)
МТЗ-2022 (2010)
МТЗ-2103 (2010)
МТЗ-2522 (2010)
МТЗ-310, 320, 321 (2011)
МТЗ-3522 (2011)
МТЗ-510/512, 520/522 (2010)
МТЗ-570 (2010)
МТЗ-80 (1998)
МТЗ-80 (2002) (2002)
МТЗ-80 (2009) (2009)
МТЗ-80.1 (2015)
МТЗ-821/921 (2009)
МТЗ-822 (2008)
МТЗ-826 (2010)
МТЗ-90/92 (2008)
МТЗ-900
МТЗ-900/920/950/952 (2009)
МТЗ-920.4/952.4 (2009)
МТЗ-922 (2008)
МТЗ-923 (2008)
ФР-00.010 (САЗ) (2015)
ФР-00700-Б (САЗ) (2015)
Схема
>
Не выбрано
Кабина
Дверь кабины
Сиденье оператора
Механизм реверса
Установка отопителя-охладителя
Установка отопителя-охладителя
Установка конденсатора и фильтра-осушителя
Установка компрессора
Установка шлангов кондиционера
Зеркало внутреннее
Зеркало наружное
Козырек противосолнечный
Установка ящика инструментального
Облицовка
Крылья передних колес
Подножка
Управление БД, ПВМ и редуктором
Управление навесным устройством
Баки топливные
Установка воздухоочистителя
Управление подачей топлива
Управление подачей топлива (в режиме реверса)
Установка глушителя
Блок охлаждения 2022-1301009-Б
Установка охладителя
Ограждение вентилятора
Установка сцепления
Корпус сцепления
Управление сцеплением
Управление сцеплением
Цилиндр главный 2022-1602810
Бачок 822-1602120
Гидроусилитель 2022-1602510-01
Цилиндр рабочий 1523-1602550
Цилиндр главный (на реверсе)
Кран 2822-1602100-03
Коробка передач 1222-1700010
Вал первичный
Вал промежуточный
Вал пониженных передач и заднего хода
Вал блока шестерен
Вал вторичный
Механизм управления коробкой передач
Цилиндр
Привод насосов
Насос масляный шестеренный
Фильтр
Фильтр-распределитель
Привод переднего ведущего моста
Привод карданный
Ограждение
Передний ведущий мост, редуктор центральный
Редуктор конечной передачи переднего ведущего моста
Корпус заднего моста, передача конечная, механизм отключения привода независимого ВОМ
Передача конечная
Дифференциал, стакан подшипников
Привод блокировки
Полурама в сборе
Колеса передние ведущие
Колеса задние ведущие
Тяга рулевая
Колонка рулевая
Колонка рулевая
Гидроцилиндр 50x25-250
Управление рулевое гидрообъемное
Управление рулевое гидрообъемное
Управление рулевое гидрообъемное, реверс
Тормоза рабочие
Управление тормозами
Цилиндр рабочий 822-1602550-Б-01
Управление тормозами на реверсе
Управление стояночным тормозом
Трубопроводы и арматура пневмопривода тормозов прицепа
Регулятор давления
Баллон
Кран тормозной
Головка соединительная
Электрооборудование по дизелю
Электрооборудование трансмиссии
Электрооборудование по кабине
Электрооборудование по кабине
Установка фонарей передних
Генератор
Установка батарей аккумуляторных
Щиток приборов
Гидроагрегаты и арматура
Гидроагрегаты и арматура
Гидроагрегаты и арматура
Бак
Фильтр выносной Б2022-4608310
Привод насоса гидросистемы
Тягово-сцепное устройство
Вал отбора мощности задний
Управление гидропривода заднего ВОМ
Балласт
Устройство навесное
Узлы и элементы навесного устройства
Инструмент оператора
Аптечка
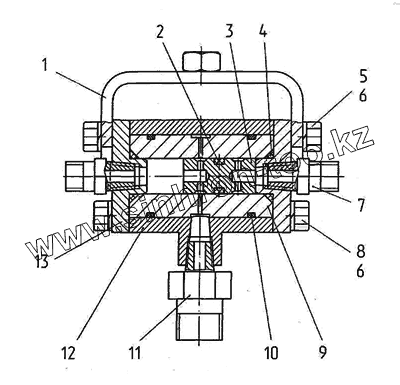
2822-1602100-03
1
2
3
4
5
6
6
7
8
9
10
11
12
13
Позиция на иллюстрации
Заводской номер детали
Название детали
2822-1602100-03
2822-1602100-03
Кран
1
2822-1602110
Кронштейн
2
008-012-25-2-6
Кольцо
3
2822-1602104
Поршень
4
012-016-25-2-6
Кольцо
5
М6х25
Винт
6
6Т
Шайба
7
80-1701549
Штуцер
8
М6х20
Винт
9
2822-1602102
Корпус
10
025-028-19-2-6
Кольцо
11
822-3503155
Штуцер
12
2822-1602101
Корпус
13
2822-1602103
Крышка
Содержащиеся в справочниках-каталогах запасные части и детали не предлагаются к продаже, а носят исключительно информационный характер
Дополнительная информация
×
Название:
Номер:
Примечание: