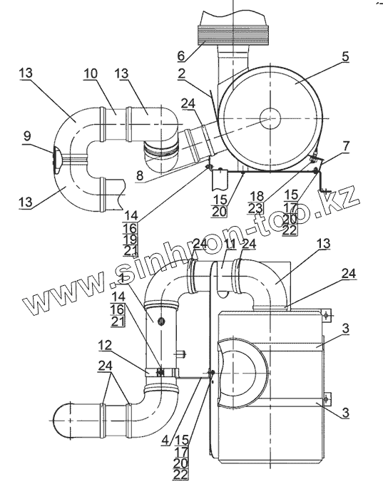
Каталог запасных частей к технике: МТЗ-1523.4. Установка воздухоочистителя
1523.4-1109125
1
2
3
3
4
5
6
7
8
9
10
11
12
13
13
13
13
14
14
15
15
15
16
16
17
17
18
19
20
20
20
21
21
22
22
23
24
24
24
24
24
| Позиция на иллюстрации | Заводской номер детали | Название детали | |
|---|---|---|---|
| 1523.4-1109125 | 1523.4-1109125 | Установка воздухоочистителя | |
| 1 | 1523.4-1109025 | Воздухопровод | |
| 2 | 1523.4-1109110 | Опора | |
| 3 | 1522-1109025 | Хомут | |
| 4 | 1121В-1109010 | Кронштейн | |
| 5 | 260-1109015-02 | Воздухоочиститель | |
| 6 | А53.21.000-02 | Моноциклон | |
| 7 | 1523.4-1109022 | Кронштейн | |
| 8 | 1523.4-1109023 | Кронштейн | |
| 9 | 1523.4-1109024 | Труба | |
| 10 | 1523.4-1109024-01 | Труба | |
| 11 | 1523.4-1109024-02 | Труба | |
| 12 | 1221 В-1109008 | Скоба | |
| 13 | 260-1109009-А | Патрубок | |
| 14 | M6-6gx20.88.35.019 | Болт | |
| 15 | M8-6gx20.88.35.019 | Болт | |
| 16 | М6-6Н.6.019 | Гайка | |
| 17 | М8-6Н.6.019 | Гайка | |
| 18 | М10-6Н.6.019 | Гайка | |
| 19 | С6.01.019 | Шайба | |
| 20 | С8.01.019 | Шайба | |
| 21 | 6Т | Шайба | |
| 22 | 8Т | Шайба | |
| 23 | 10 ОТ | Шайба | |
| 24 | TORRO90-110/9-C6W | Хомут |
Содержащиеся в справочниках-каталогах запасные части и детали не предлагаются к продаже, а носят исключительно информационный характер