Каталог запасных частей к технике: МТЗ-1523.4. Баки топливные
1
2
2
3
3
3
4
4
4
4
4
4
5
5
6
7
8
9
10
11
12
13
14
15
16
19
20
21
22
23
24
25
26
27
27
28
28
29
30
31
31
32
33
34
35
36
37
38
39
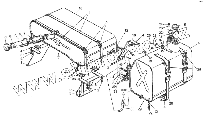
| Позиция на иллюстрации | Заводской номер детали | Название детали | |
|---|---|---|---|
| 1 | 1522-1101080 | Кронштейн | |
| 2 | М10 | Гайка | |
| 3 | 10 ОТ | Шайба | |
| 4 | ПР-43-02 | Прокладка | |
| 5 | 082-1103010 | Пробка | |
| 6 | 1522-1101060 | Горловина | |
| 7 | 85-1101002 | Трубка | |
| 8 | ХС-61 | Хомут | |
| 9 | 70-1101035-Б-01 | Рукав | |
| 10 | 1522-1101010 | Бак | |
| 11 | 1522-1101090 | Хомут | |
| 12 | ПП6-1 | Кран | |
| 13 | 1522-1101140-01 | Лента | |
| 14 | 1522-1101118 | Прокладка | |
| 15 | 3,2x18 | Шплинт | |
| 16 | 3022-1101113 | Штуцер | |
| 19 | 1522-3806026 | Прокладка | |
| 20 | 3022-1101002-01 | Топливопровод | |
| 21 | 16-27 | Хомут | |
| 22 | ДОТ.6804-02 | Датчик объема топлива | |
| 23 | 80-1101067 | Шайба | |
| 24 | ВМ5х35 | Винт | |
| 25 | 1522-1101005 | Болт | |
| 26 | 1522-1101140 | Лента | |
| 27 | 11,112-100 | Шарик | |
| 28 | 822-1101081 | Штуцер | |
| 29 | 1522-1101210 | Бак | |
| 30 | 920П-1101210-02 | Топливопровод | |
| 31 | 1522-1101125 | Палец | |
| 32 | 1522-1101130 | Кронштейн | |
| 33 | М16х50 | Болт | |
| 34 | 16 ОТ | Шайба | |
| 35 | М10х25 | Болт | |
| 36 | 1522-1101070 | Кронштейн | |
| 37 | Д18-051 | Болт | |
| 38 | РМ14 | Шайба | |
| 39 | КГ 1 /8 | Пробка |
Содержащиеся в справочниках-каталогах запасные части и детали не предлагаются к продаже, а носят исключительно информационный характер