Каталог запасных частей к технике: МТЗ-1523.4. Блок охлаждения 1523Д-1301009
1
2
3
4
7
8
8
9
10
10
10
15
15
15
15
15
15
15
16
16
17
17
18
18
19
19
19
19
19
19
20
24
25
25
25
26
26
26
26
27
27
27
28
28
28
28
28
28
28
29
30
30
31
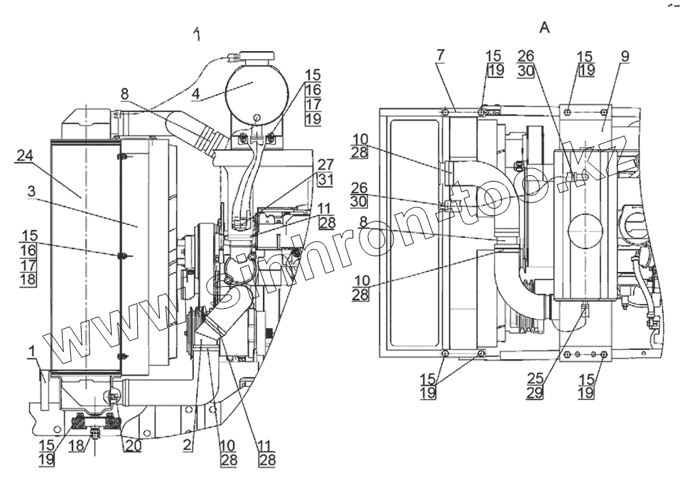
| Позиция на иллюстрации | Заводской номер детали | Название детали | |
|---|---|---|---|
| 1 | 1523Д-1301320 | Уплотнитель | |
| 2 | 1523Д-1303030 | Труба | |
| 3 | 1523Д-1309080 | Кожух | |
| 4 | 1523Д-1311010 | Бачок расширительный | |
| 7 | 1523Д-1302001 | Планка | |
| 8 | 1523Д-1302011 | Переходник | |
| 9 | 1523Д-1311031 | Кронштейн | |
| 10 | 142-1303010 | Шланг | |
| 15 | M8-6gx16.88.35.019 | Болт | |
| 16 | M8-6H.04.019 | Гайка | |
| 17 | C8.01.08.019 | Шайба | |
| 18 | 3.2x25.019 | Шплинт | |
| 19 | 8T | Шайба | |
| 20 | КГ1/4.А12.019 | Пробка | |
| 24 | 1520Д-1301010 | Радиатор водяной | |
| 25 | 12-22 | Хомут | |
| 25 | TORRO 12-20/9-C6W | Хомут | |
| 25 | Clamp NORMA TORRO 12-22/971 | Хомут | |
| 26 | 16-25 | Хомут Norma | |
| 26 | Clamp NORMA TORRO 16-27/971 | Хомут | |
| 26 | TORRO 12-25/9-C6W | Хомут | |
| 27 | 25-40 | Хомут | |
| 27 | Clamp NORMA TORRO 25-40/971 | Хомут | |
| 27 | TORRO 25-40/9-C6W | Хомут | |
| 28 | 50-70 | Хомут фирмы Nоrmа | |
| 28 | Clamp NORMA TORRO 50-70/971 | Хомут | |
| 28 | TORRO 50-70/9-C6W | Хомут | |
| 29 | 10x18.5 | Рукав | |
| 30 | 14x23-1,6 | Рукав | |
| 31 | 25x36-1,6 | Рукав |
Содержащиеся в справочниках-каталогах запасные части и детали не предлагаются к продаже, а носят исключительно информационный характер