Каталог запасных частей к технике: КЗК Енисей КЗС-950. Регулировка подбарабаний
1
2
4
5
5
5
6
7
7
8
8
9
10
11
12
13
14
15
16
17
18
19
20
21
22
23
24
25
26
27
28
29
30
31
32
33
33
34
35
36
37
38
39
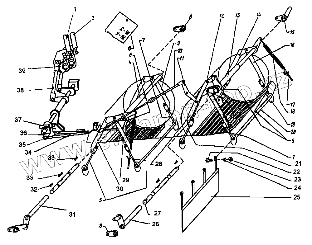
| Позиция на иллюстрации | Заводской номер детали | Название детали | |
|---|---|---|---|
| 1 | КДМ 5-44-5А | Рычаг | |
| 2 | КДМ 5-44-2А | Рычаг | |
| 3 | КДМ 2-170А | Рычаг | |
| 4 | КДМ 2-67-01 | Вал торсиона | |
| 5 | КДМ 6063 | Болт регулировочный | |
| 6 | КДМ 040Б-01 | Табличка | |
| 7 | КДМ 6034-01 | Болт регулировочный | |
| 8 | КДМ 2-66-2 | Рычаг | |
| 9 | КДМ 2-71-01 | Тяга задняя | |
| 10 | КДМ 2-166 | Тяга регулируемая | |
| 11 | КДМ 2-169А | Рычаг | |
| 12 | КДМ 2-167А | Тяга | |
| 13 | КДМ 2-66Б-01 | Вал торсиона | |
| 14 | КДМ 2-52 | Тяга передняя | |
| 15 | КДМ 2-58 | Рычаг | |
| 16 | КДМ 2-68-01 | Тяга задняя | |
| 17 | КДМ 6890 | Тяга | |
| 18 | КДМ 6464 | Пружина | |
| 19 | КДМ 4142-10 | Заслонка | |
| 20 | КДМ 2-71 | Тяга задняя | |
| 21 | КДМ 6034 | Болт регулировочный | |
| 22 | М6х20-7798 | Болт | |
| 23 | М6-5915 | Гайка | |
| 24 | 6.65Г-6402 | Шайба | |
| 25 | КДМ 2-84А | Фартук | |
| 26 | КДМ 2-66-1Б | Труба торсиона | |
| 27 | КДМ 6050А-01 | Вал торсиона | |
| 28 | КДМ 2-70 | Тяга передняя левая | |
| 29 | КДМ 2-68 | Тяга | |
| 30 | КДМ 2-67-2 | Рычаг | |
| 31 | КДМ 2-67-1 | Труба торсиона | |
| 32 | 54-61809 | Шпонка | |
| 33 | 54-61810 | Шпонка | |
| 34 | КДМ 2-168 А | Тяга | |
| 35 | КДМ 2-64 | Тяга | |
| 36 | КДМ 2-177 | Рычаг | |
| 37 | КДМ 2-99 | Кронштейн | |
| 38 | КДМ 2-167-01А | Тяга | |
| 39 | КДМ 40586А | Сектор |
Содержащиеся в справочниках-каталогах запасные части и детали не предлагаются к продаже, а носят исключительно информационный характер