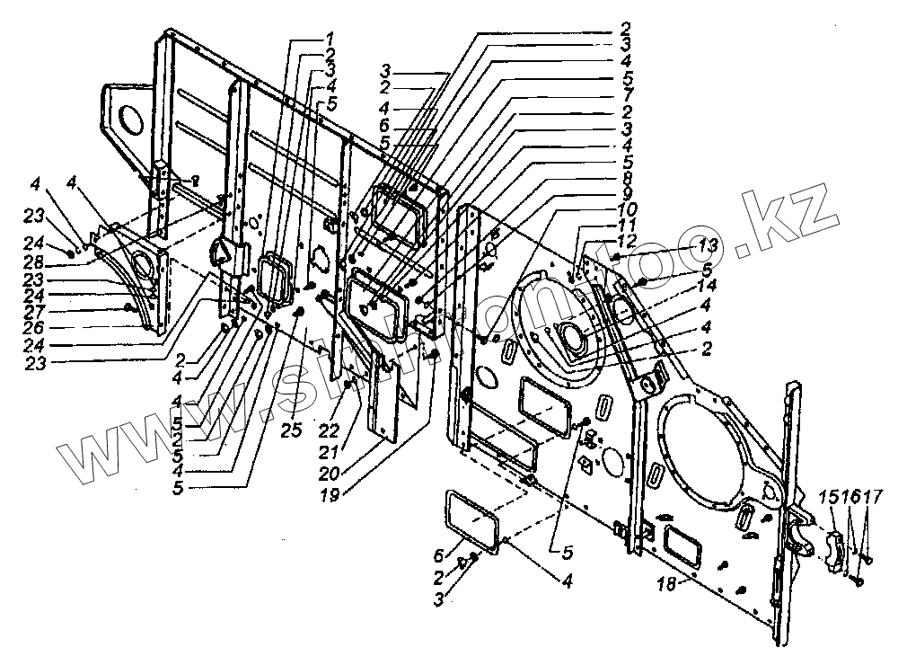
Каталог запасных частей к технике: КЗК Енисей КЗС-950. Панель правая с лючками
1
2
2
2
2
2
2
2
2
3
3
3
3
3
4
4
4
4
4
4
4
4
4
4
4
4
5
5
5
5
5
5
5
5
5
6
6
7
8
9
10
11
12
13
14
15
16
17
18
19
20
21
22
23
23
23
24
24
24
25
26
27
28
| Позиция на иллюстрации | Заводской номер детали | Название детали | |
|---|---|---|---|
| 1 | КДМ 40906-01 | Крышка люка | |
| 2 | КДМ 0-230-01 | Гайка-барашек | |
| 3 | 41119 | Шайба | |
| 4 | 8-11371 | Шайба | |
| 5 | М8х20-7802 | Болт | |
| 6 | КДМ 40906 | Крышка люка | |
| 7 | КД 4166 | Крышка люка | |
| 8 | М10-5915 | Гайка | |
| 9 | 10.65Г-6402 | Шайба | |
| 10 | М10х25-779б | Болт | |
| 11 | М12-5915 | Гайка | |
| 12 | 12.65Г-6402 | Шайба | |
| 13 | М 12х30-7796 | Болт | |
| 14 | КДМ 2-87 | Крышка люка | |
| 15 | КДМ 2035 | Обойма | |
| 16 | 16.65Г-6402 | Шайба | |
| 17 | М 16х55-7796 | Болт | |
| 18 | КДМ 2-2-1Т | Секция панели правая передняя | |
| 19 | М6х16-7798 | Болт | |
| 20 | КД 4144Б | Щиток правый | |
| 21 | 6.65Г-6402 | Шайба | |
| 22 | М6-5915 | Гайка | |
| 23 | 8.65Г-6402 | Шайба | |
| 24 | М8-5915 | Гайка | |
| 25 | КДМ 2-2-2Г | Секция панели задняя правая | |
| 26 | 44-2-71 | Щиток правый | |
| 27 | М8х20-7796 | Болт | |
| 28 | М8х16-7796 | Болт |
Содержащиеся в справочниках-каталогах запасные части и детали не предлагаются к продаже, а носят исключительно информационный характер