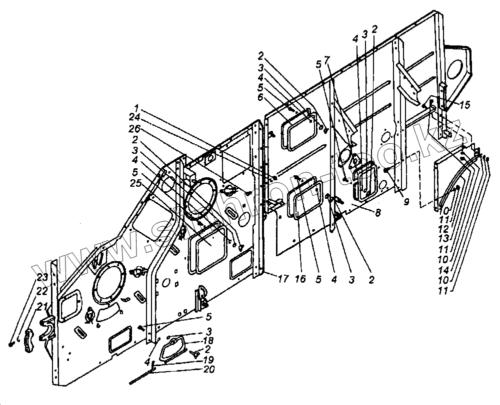
Каталог запасных частей к технике: КЗК Енисей КЗС-950. Панель левая с лючками
1
2
2
2
2
2
3
3
3
3
3
4
4
4
4
5
5
5
5
5
6
7
8
9
10
10
10
11
11
11
12
13
14
15
16
17
18
19
20
21
22
23
24
25
26
| Позиция на иллюстрации | Заводской номер детали | Название детали | |
|---|---|---|---|
| 1 | М 10-5915 | Гайка | |
| 2 | КДМ 0-230-01 | Гайка-барашек | |
| 3 | 41119 | Шайба | |
| 4 | 8-11371 | Шайба | |
| 5 | М8-Х20-7802 | Болт | |
| 6 | КДМ 40906 | Крышка люка | |
| 7 | КДМ 40906-01 | Крышка люка | |
| 8 | КДМ 2-3-2Г | Секция панели задняя левая | |
| 9 | М8х35-7796 | Болт | |
| 10 | 8.65Г-6402 | Шайба | |
| 11 | М8-5915 | Гайка | |
| 12 | 44-40012 | Щиток левый | |
| 13 | М8х16-7798 | Болт | |
| 14 | 8-11371 | Шайба | |
| 15 | М8х20-7798 | Болт | |
| 16 | КД 2-103 | Крышка люка | |
| 17 | КДМ 2-3-1В | Секция панели левая передняя | |
| 18 | 54-41323 | Крышка люка | |
| 19 | 2х16-397 | Шплинт | |
| 20 | 54-60549 | Ось | |
| 21 | КДМ 2035 | Обойма | |
| 22 | 16.65Г-6402 | Шайба | |
| 23 | М 16х55-7796 | Болт | |
| 24 | 10.65Г-6402 | Шайба | |
| 25 | КД 2-89 | Крышка люка | |
| 26 | М10х25-7796 | Болт |
Содержащиеся в справочниках-каталогах запасные части и детали не предлагаются к продаже, а носят исключительно информационный характер