Каталог запасных частей к технике: УралАЗ УРАЛ-4420. Система гидропневматическая тормозов
1
2
3
4
5
6
7
8
9
10
11
11
11
12
13
14
15
16
17
18
19
20
21
22
23
24
25
26
27
28
28
29
29
29
29
29
30
31
32
33
34
35
36
37
38
39
40
41
42
43
44
45
45
46
47
49
50
51
52
53
| Позиция на иллюстрации | Заводской номер детали | Название детали | |
|---|---|---|---|
| 201493-П29 | 201493-П29 | Болт М10-6gх16 | |
| 201493-П29 | 201493-П29 | Болт М10-6gх16 | |
| 201495-П29 | 201495-П29 | Болт М10-6gх20 | |
| 201497-П29 | 201497-П29 | Болт М10-6gх25 | |
| 201497-П29 | 201497-П29 | Болт М10-6gх25 | |
| 201497-П29 | 201497-П29 | Болт М10-6gх25 | |
| 201499-П29 | 201499-П29 | Болт М10-6gх30 | |
| 201500-П29 | 201500-П29 | Болт М10 | |
| 1-59718-21 | 1-59718-21 | Болт М10х1,25х100 | |
| 1-59716-21 | 1-59716-21 | Болт М10х1,25х90 | |
| 201539-П29 | 201539-П29 | Болт М12-6gх28 | |
| 201417-П29 | 201417-П29 | Болт М6-6gх14 | |
| 201418-П29 | 201418-П29 | Болт М6-6gх16 | |
| 201419-П29 | 201419-П29 | Болт М6 | |
| 201454-П29 | 201454-П29 | Болт М8-6gх16 | |
| 201457-П29 | 201457-П29 | Болт М8-6gх22 | |
| 201457-П29 | 201457-П29 | Болт М8-6gх22 | |
| Н202 | Н202 | Втулка проходная | |
| Н203 | Н203 | Втулка | |
| 339058 | 339058 | Втулка | |
| 4320-3570146 | 4320-3570146 | Гайка | |
| 250512-П29 | 250512-П29 | Гайка М10 | |
| 250512-П29 | 250512-П29 | Гайка М10 | |
| 250512-П29 | 250512-П29 | Гайка М10 | |
| 250512-П29 | 250512-П29 | Гайка М10 | |
| 250512-П29 | 250512-П29 | Гайка М10 | |
| 250513-П29 | 250513-П29 | Гайка М10х1-6Н | |
| 250517-П29 | 250517-П29 | Гайка М10х1,25 | |
| 250514-П29 | 250514-П29 | Гайка М12-6Н | |
| 250636-П29 | 250636-П29 | Гайка М16х1,5-6Н | |
| 250636-П29 | 250636-П29 | Гайка М16х1,5-6Н | |
| 250636-П29 | 250636-П29 | Гайка М16х1,5-6Н | |
| 335026-П29 | 335026-П29 | Гайка М22х1,5 | |
| 335101-П29 | 335101-П29 | Гайка М24х2-6Н | |
| 250510-П29 | 250510-П29 | Гайка М8-6Н | |
| 375-3524010 | 375-3524010 | Гайка с цепочкой в сборе | |
| 252771 | 252771 | Заклепка 8х22 | |
| 375-3524008 | 375-3524008 | Клапан шариковый в сборе | |
| 375-3524001 | 375-3524001 | Корпус буксирного клапана | |
| КР2-1305010-А | КР2-1305010-А | Кран сливной в сборе | |
| 11-3514010 | 11-3514010 | Кран тормозной в сборе | |
| 100-3537100 | 100-3537100 | Кран трехходовой пневматический в сборе | |
| 4320-3506094 | 4320-3506094 | Кронштейн | |
| 375-3506007 | 375-3506007 | Кронштейн тройника | |
| 4320-3513029 | 4320-3513029 | Кронштейн воздушных баллонов | |
| 375-3521011-30 | 375-3521011-30 | Кронштейн | |
| 4420-3521064 | 4420-3521064 | Кронштейн электропневмовыводов верхний | |
| 4420-3521065 | 4420-3521065 | Кронштейн электропневмовыводов нижний | |
| 375-3506093 | 375-3506093 | Хомут стяжной | |
| 375-3506093 | 375-3506093 | Хомут стяжной | |
| 375-3506093 | 375-3506093 | Хомут стяжной | |
| 375-3506002 | 375-3506002 | Муфта соединительная | |
| 375-3506002 | 375-3506002 | Муфта соединительная | |
| 740-3509275 | 740-3509275 | Патрубок подвода воздуха | |
| 375СН-3521013 | 375СН-3521013 | Переходник | |
| 4320-3515068 | 4320-3515068 | Пробка | |
| 262541-П29 | 262541-П29 | Пробка КГ1/8" | |
| 51-3506013 | 51-3506013 | Прокладка | |
| 51-3506013 | 51-3506013 | Прокладка | |
| 51-3506013 | 51-3506013 | Прокладка | |
| 51-3506013 | 51-3506013 | Прокладка | |
| 4320-3514023 | 4320-3514023 | Прокладка | |
| 375-3430081 | 375-3430081 | Прокладка уплотнительная | |
| 375-3506023 | 375-3506023 | Прокладка хомута | |
| 375-3506023 | 375-3506023 | Прокладка хомута | |
| 740-3509403-10 | 740-3509403-10 | Прокладка корпуса компрессора | |
| 51-3506013 | 51-3506013 | Прокладка | |
| 375 3524004 | 375 3524004 | Прокладка уплотнительная | |
| 375-3524003-А | 375-3524003-А | Прокладка уплотнительная | |
| 298430 | 298430 | Сапун | |
| Н2927-П29 | Н2927-П29 | Скоба | |
| Н2927-П29 | Н2927-П29 | Скоба | |
| 375-4225046 | 375-4225046 | Скоба | |
| 353-3916017 | 353-3916017 | Пряжка хомута | |
| 353-3916017 | 353-3916017 | Пряжка хомута | |
| 353-3916017 | 353-3916017 | Пряжка хомута | |
| 339665 | 339665 | Тройник М10Х1 | |
| 339647 | 339647 | Тройник М14х1,5-М10х1 | |
| 4320-3570158 | 4320-3570158 | Трубка от крана к тройнику в сборе | |
| 4320-3570162 | 4320-3570162 | Трубка в сборе от пневмосигнала к крану | |
| 4420-3506208 | 4420-3506208 | Трубка от тормозного крана к соединительной головке в сборе | |
| 4320-3570154 | 4320-3570154 | Трубка от тройника к пневмоцилиндру останова двигателя в сборе | |
| 339039 | 339039 | Угольник М16х1,5 К3/8" | |
| 339046 | 339046 | Угольник М20х1,5 КГ3/8" | |
| 339668 | 339668 | Тройник К3/8"-М20х1,5-М12х1,5 | |
| 339232 | 339232 | Угольник К1/2-М16Х1,5 | |
| 339046 | 339046 | Угольник М20х1,5 КГ3/8" | |
| 339046 | 339046 | Угольник М20х1,5 КГ3/8" | |
| 375-3520030 | 375-3520030 | Фланец крепления разобщительного крана и соединительной головки | |
| 339392-П29 | 339392-П29 | Хомут 9 | |
| 339414-П29 | 339414-П29 | Хомут 19 | |
| 339696-П29 | 339696-П29 | Хомут | |
| 339098-П29 | 339098-П29 | Хомут крепления шланга | |
| 339098-П29 | 339098-П29 | Хомут крепления шланга | |
| 339159-П29 | 339159-П29 | Хомут 24 | |
| 339178-П29 | 339178-П29 | Хомут 9 | |
| 375-3513018-01 | 375-3513018-01 | Хомут | |
| 4320-3370140 | 4320-3370140 | Шайба | |
| 1-26386-01 | 1-26386-01 | Шайба 10 | |
| 1-05168-73 | 1-05168-73 | Шайба 10 пружинная | |
| 252136-П9 | 252136-П9 | Шайба пружинная 10 | |
| 252136-П9 | 252136-П9 | Шайба пружинная 10 | |
| 252136-П9 | 252136-П9 | Шайба пружинная 10 | |
| 252136-П9 | 252136-П9 | Шайба пружинная 10 | |
| 252136-П9 | 252136-П9 | Шайба пружинная 10 | |
| 252136-П9 | 252136-П9 | Шайба пружинная 10 | |
| 252136-П9 | 252136-П9 | Шайба пружинная 10 | |
| 252136-П9 | 252136-П9 | Шайба пружинная 10 | |
| 252137-П9 | 252137-П9 | Шайба пружинная 12 | |
| 252159-П9 | 252159-П9 | Шайба пружинная 16 | |
| 252159-П9 | 252159-П9 | Шайба пружинная 16 | |
| 252159-П9 | 252159-П9 | Шайба пружинная 16 | |
| 252037-П9 | 252037-П9 | Шайба 6,4.01.05 | |
| 252154-П9 | 252154-П9 | Шайба пружинная 6 | |
| 252134-П9 | 252134-П9 | Шайба пружинная 6 | |
| 252134-П9 | 252134-П9 | Шайба пружинная 6 | |
| 252155-П9 | 252155-П9 | Шайба пружинная 8 | |
| 252155-П9 | 252155-П9 | Шайба пружинная 8 | |
| 252135-П9 | 252135-П9 | Шайба пружинная 8 | |
| 375СН-3506226 | 375СН-3506226 | Шланг в сборе | |
| 4320-3570172 | 4320-3570172 | Шланг гибкий в сборе | |
| 1-35466-21 | 1-35466-21 | Шпилька М10х1,25х20х20х35 | |
| 258038-П29 | 258038-П29 | Шплинт 3,2х16 | |
| 258038-П29 | 258038-П29 | Шплинт 3,2х16 | |
| 258038-П29 | 258038-П29 | Шплинт 3,2х16 | |
| 375СН-3520030-10 | 375СН-3520030-10 | Штуцер соединительной головки | |
| 375-3524002 | 375-3524002 | Штуцер буксирного клапана | |
| 339049 | 339049 | Штуцер К1/2"-М16х1,5 | |
| 339699 | 339699 | Штуцер К1/8"-М12х1,5" | |
| 339200-П29 | 339200-П29 | Штуцер М10х1 К1/8" | |
| 339157-П29 | 339157-П29 | Штуцер М10х1 манометра | |
| 339538 | 339538 | Штуцер М10х1-М12х1,5 | |
| 339539 | 339539 | Штуцер М20х1,5-М22х1,5-К3/8" | |
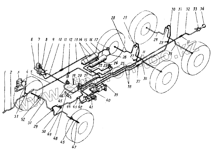
| 1 | 375-3524000 | Клапан буксирный в сборе | |
| 2 | 4320-3506076 | Трубка от тройника к буксирному клапану в сборе | |
| 3 | 5320-3509012 | Компрессор в сборе | |
| 4 | 4320-3506386 | Шланг компрессора в сборе | |
| 5 | 4320-3506190 | Трубка от компрессора к регулятору давления первая в сборе | |
| 6 | 375-3506330 | Воздухопровод от крестовины ко второму воздушному баллону первый в сборе | |
| 7 | 375Д-4225102-А | Трубка от крестовины разбора воздуха к крану управления давлением в сборе | |
| 8 | 375-3506145 | Крестовина разбора воздуха | |
| 9 | 11-3413010 | Кран отбора воздуха в сборе | |
| 10 | 4320-3506326 | Трубка к верхнему штуцеру манометра в сборе | |
| 11 | 339050 | Штуцер М16х1,5 | |
| 12 | 339222 | Штуцер М20х1,5 | |
| 13 | 4320-3506320 | Трубка от первого баллона к крестовине разбора воздуха первая в сборе | |
| 14 | 375-3513015 | Баллон воздушный в сборе | |
| 15 | 262543-П29 | Пробка РК3/8" | |
| 16 | 4320-3506188 | Трубка от межбаллонного редуктора к правому баллону в сборе | |
| 17 | 4320-3515105 | Редуктор межбаллонный в сборе | |
| 18 | МД213-3810500-Э | Манометр двухстрелочный | |
| 19 | 4320-3508015 | Рычаг тормоза верхний в сборе | |
| 20 | 375-3514005 | Кран тормозной с угольниками в сборе | |
| 21 | 4320-3506208 | Трубка от тормозного крана к соединительной головке первая в сборе | |
| 22 | 4320-3506240-10 | Трубка от правого воздушного баллона в сборе | |
| 23 | 4320-3506184 | Трубка от регулятора давления к левому воздушному баллону в сборе | |
| 24 | 11-3512010 | Регулятор давления | |
| 25 | 4320-3506182 | Трубка от компрессора к регулятору давления вторая в сборе | |
| 26 | 4320-3506186 | Трубка от левого баллона к межбаллонному редуктору в сборе | |
| 27 | 375-3506035 | Кронштейн тормозного шланга | |
| 28 | 375-3506100-Б2 | Трубопровод от тройника к правому тормозу среднего (заднего) моста в сборе | |
| 29 | 375-3506091 | Тройник трубопроводов | |
| 29 | 375-3506091 | Тройник трубопроводов | |
| 30 | 375-3506024-А1 | Шланг гибкий в сборе | |
| 31 | 375-3506210-Г | Воздухопровод от тормозного крана к соединительной головке второй в сборе | |
| 32 | 375-3506228 | Воздухопровод от тормозного крана к соединительной головке третий в сборе | |
| 33 | 12-3520010 | Кран разобщительный в сборе | |
| 34 | 200-3521010-Г | Головка соединительная | |
| 35 | 375-3506113-Б2 | Трубопровод от тройника к левому тормозу среднего (заднего) моста в сборе | |
| 36 | 375-3506083-Б | Трубопровод от тройника к тормозам заднего моста второй в сборе | |
| 37 | 339226 | Штуцер переходной М12х1 | |
| 38 | 375-3606080 | Трубка от центрального тройника к задним тормозам в сборе | |
| 39 | 339046 | Угольник М20х1,5 КГ3/8" | |
| 40 | 375-3506017 | Угольник трубопровода | |
| 41 | 375-3510005-В | Агрегат силовой с главным тормозным цилиндром первый в сборе | |
| 42 | 375-3506014 | Трубопровод к первому главному тормозному цилиндру в сборе | |
| 43 | 375-3506011 | Тройник центральный трубопроводов | |
| 44 | 375-3506012 | Трубопровод от центрального тройника к передним тормозам в сборе | |
| 45 | 375-3506045-А | Шланг гибкий в сборе | |
| 46 | 377-3506330 | Воздухопровод к нижнему штуцеру манометра в сборе | |
| 47 | 51-3506012 | Болт соединительный | |
| 49 | 375-3506062-Б | Трубопровод от тройника к левому переднему тормозу в сборе | |
| 50 | 375-3506098 | Угольник гибкого шланга | |
| 51 | 376-3506036-Б | Трубка от тройника к правому переднему тормозу в сборе | |
| 52 | 375-3506219 | Кронштейн крепления шланга | |
| 53 | 339228 | Тройник М20х1,5 |
Содержащиеся в справочниках-каталогах запасные части и детали не предлагаются к продаже, а носят исключительно информационный характер