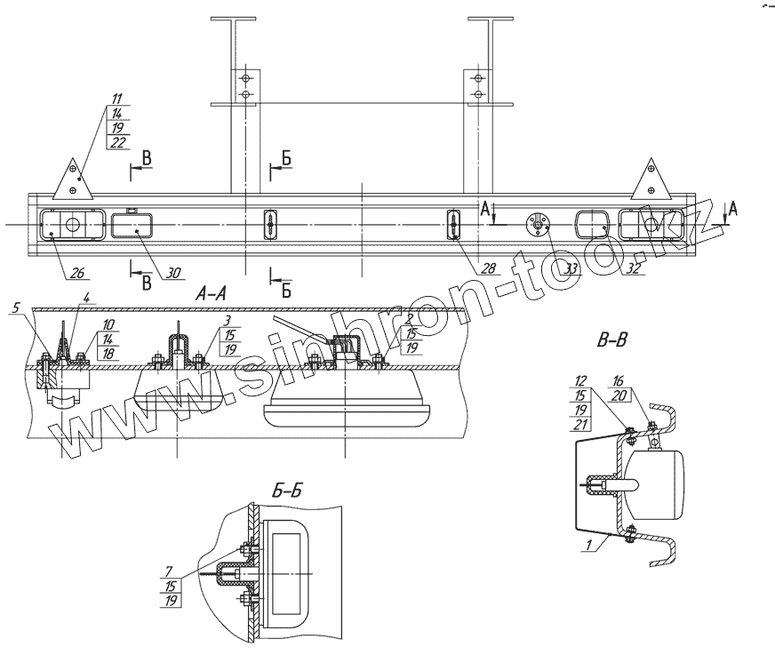
Каталог запасных частей к технике: Нефтекамский автозавод НефАЗ-96742. 96741-3716010 Установка задних фонарей
1
2
3
4
5
7
10
11
12
14
14
15
15
15
15
16
18
19
19
19
19
19
20
21
22
26
28
30
32
33
| Позиция на иллюстрации | Заводской номер детали | Название детали | |
|---|---|---|---|
| 1 | 9334-3716322-04 | Кожух в сборе | |
| 2 | 5511-3716021 | Накладка | |
| 3 | 96741-3716036 | Накладка | |
| 4 | 5320-3723111 | Чехол защитный | |
| 5 | 9674-3716016 | Кольцо нажимное розетки двухполюсной | |
| 7 | 9674-3716015 | Накладка | |
| 10 | 1/33004/01 | Винт ТС с потайной головкой крестообразным шлицем М5-6gх45 | |
| 11 | 1/32742/01 | Винт М5 | |
| 12 | 1/32762/01 | Винт ТС с крестообразным шлицем М6-6gх16 | |
| 14 | 1/58964/11 | Гайка М5-6Н | |
| 15 | 1/58962/11 | Гайка М6-6Н | |
| 16 | 1/61008/11 | Гайка М8 | |
| 18 | 1/11954/70 | Шайба пружинная 5 | |
| 19 | 1/05164/70 | Шайба пружинная 6 | |
| 20 | 1/05166/70 | Шайба пружинная 8 | |
| 21 | 1/05194/01 | Шайба 6х15х1,5 | |
| 22 | 4 573 725 191 | Световозвращатель ФП 401 45 7372 5191 | |
| 26 | 2002010004 45 7372 5568 | Фонарь задний ФП 133-АБ ТУ 37.003.675-82 2002010004 | |
| 28 | 2002010006 45 7372 6077 | Фонарь освещения номерного знака ФП134-Б ТУ 37.003.675-82 | |
| 30 | 2002010041 45 7372 5616 | Фонарь задний противотуманный 2462.3716 | |
| 32 | 2002010067 45 7372 1202 | Фонарь заднего хода 2112.3711 ТУ37.003.675-82 2002010067 | |
| 33 | 4 573 732 044 | Розетка переносной лампы ПС 400 45 7373 2044 |
Содержащиеся в справочниках-каталогах запасные части и детали не предлагаются к продаже, а носят исключительно информационный характер