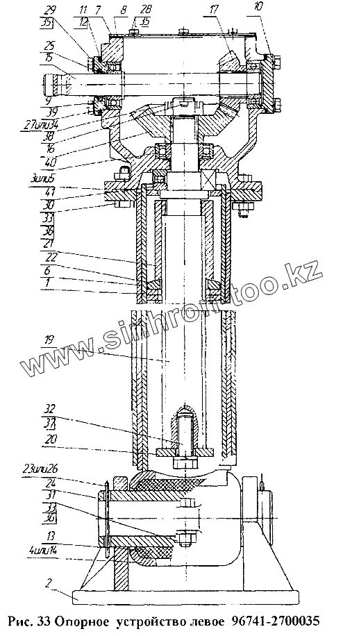
Каталог запасных частей к технике: Нефтекамский автозавод НефАЗ-96741. Опорное устройство левое 96741-2700035
1
2
3
4
5
6
7
8
9
10
11
12
13
14
15
16
17
18
19
20
21
22
23
24
25
26
27
28
29
30
31
32
33
33
34
35
35
36
36
37
39
40
41
| Позиция на иллюстрации | Заводской номер детали | Название детали | |
|---|---|---|---|
| 1 | 96741-2720012 | Корпус опоры | |
| 2 | 96741-2722010 | Башмак опорного устройства | |
| 3 | 96741-2720077-01 | Картер | |
| 4 | 96741-2723027-01 | Башмак стойки опоры | |
| 5 | 96741-2720077 | Картер взамен | |
| 6 | 96741-2723150 | Стойка опорного устройства | |
| 7 | 96741-2720081 | Прокладка крышки | |
| 8 | 96741-2720082 | Крышка картера | |
| 9 | 96741-2720130 | Крышка подшипника | |
| 10 | 96741-2720135 | Крышка подшипника | |
| 11 | 96741-2720142 | Прокладка регулировочная | |
| 12 | 96741-2720143 | Прокладка регулировочная | |
| 13 | 96741-2722034 | Подушка | |
| 14 | 96741-2723027 | Башмак стойки | |
| 15 | 96741-2723029 | Вал опорного устройства | |
| 16 | 96741-2723050 | Шестерня | |
| 17 | 96741-2723051 | Шестерня | |
| 18 | 96741-2723084 | Опора | |
| 19 | 96741-2723112 | Винт | |
| 20 | 96741-2723116 | Ограничитель | |
| 21 | 96741-2723118 | Гайка винта | |
| 22 | 96741-2723163 | Шайба сферическая опорная | |
| 23 | 96741-2723171 | Шплинт доп. | |
| 24 | 96741-2723172 | Ось | |
| 25 | 96741-2723175 | Сальник | |
| 26 | 96741-2723177 | Проволока III - 6,0 ГОСТ 9389-75 L=110+/-2мм | |
| 27 | 96741-2723180 | Гайка низкая | |
| 28 | 1/60432/21 | Болт М8-6gх16 | |
| 29 | 1/60436/21 | Болт М8-6gх25 | |
| 30 | 1/55406/21 | Болт М12х1,25-6gх40 | |
| 31 | 1/55408/21 | Болт ТЕМ12х1,256gх50 | |
| 32 | 853063 | Болт ТЕМ14-6gх40 | |
| 33 | 1/61015/11 | Гайка М12х1,25-6Н | |
| 34 | 853514-П29 | Гайка ЕкМ24х1,5-6Н | |
| 35 | 1/05166/70 | Шайба пружинная 8 | |
| 36 | 1/05170/70 | Шайба пружинная 12 | |
| 37 | 1/05171/70 | Шайба пружинная 14 | |
| 39 | 205 ГОСТ8338-75 | Подшипник радиальный 205 ГОСТ8338-75 | |
| 40 | 206 ГОСТ8338-75 | Подшипник радиальный 206 ГОСТ8338-75 | |
| 41 | 83078 | Подшипник упорный ГОСТ7872-89 |
Содержащиеся в справочниках-каталогах запасные части и детали не предлагаются к продаже, а носят исключительно информационный характер