Вернуться на главную
Поиск
Каталоги запчастей к технике
Грузовые автомобили и прицепы
Нефтекамский автозавод
НефАЗ-9509
Функциональная схема
Каталог запасных частей к технике: Нефтекамский автозавод НефАЗ-9509. Функциональная схема
zoom-in
zoom-out
enlarge
shrink
circle-right
circle-left
file-text2
info
cart
Тип техники
Не выбрано
Легковые автомобили
Грузовые автомобили и прицепы
Автобусы
Сельхозтехника
Спецтехника
Двигатели
Мототехника
Марка
Не выбрано
BAW
DAF
DongFeng
FAW
Foton
HOWO
Hyundai
IVECO
JAC Motors
LGMG
MAN
Shaanxi
SITRAK
Studebaker
Tata
Volvo
Автокомпонент Плюс
БелАЗ
Брянский Арсенал
ГАЗ
ЗИЛ
КАЗ
Камский автозавод
КрАЗ
Мадара
МАЗ
МЗКТ
МоАЗ
Нефтекамский автозавод
Ставропольский Завод АвтоПрицепов
ТАТРА
Тонар
УралАЗ
ЧМЗАП
Модель
Не выбрано
НефАЗ-45144-8600001 (2010)
НефАЗ-65115-8610656-91 (2018)
НефАЗ-6520, 6522 (2006)
НефАЗ-6520-8630152-73 (2018)
НефАЗ-65201-8630666 (2018)
НефАЗ-65222-8600052 (2018)
НефАЗ-6606 (2008)
НефАЗ-66062 (2015)
НефАЗ-66063 (64, 65) (2010)
НефАЗ-8332 (2004)
НефАЗ-8332 (2009) (2009)
НефАЗ-8332 (2010) (2010)
НефАЗ-8332 (двускатный) (2011)
НефАЗ-8332 (односкатный) (2011)
НефАЗ-8527 (1991)
НефАЗ-8560 (2005)
НефАЗ-8560 (2010)
НефАЗ-8560 (2008) (2008)
НефАЗ-8602 (2010)
НефАЗ-8602-10-04 (2014)
НефАЗ-9334 (2004)
НефАЗ-9334 (2008) (2008)
НефАЗ-9334-10 (11, 13, 16, 17) (2008)
НефАЗ-9334-20 (2010)
НефАЗ-9334-20-10 (2010)
НефАЗ-93341 (2005)
НефАЗ-93341-07 (08) (2008)
НефАЗ-93341-20 (21) (2010)
НефАЗ-937006/07-01 (1991)
НефАЗ-9385/07 (1991)
НефАЗ-9509 (2006)
НефАЗ-9509-30 (31) (2010)
НефАЗ-96741 (2005)
НефАЗ-96742 (2009)
НефАЗ-96891-10 (2009)
НефАЗ-96894 (2011)
НефАЗ-96896-0110411 (2015)
НефАЗ-9693 (2005)
НефАЗ-9693-10 (2010)
НефАЗ-96931-04 (2014)
НефАЗ-96931-07 (2014)
НефАЗ-96931-10-07 (2011)
Тележки подкатные (2008)
Схема
>
Не выбрано
Платформа в сборе
Установка платформы
Установка заднего борта
Борт задний
Установка запоров заднего борта
Муфта 9509-8505060
Установка стабилизатора платформы
Установка брызговиков
Установка гидроцилиндра 9509-8603301
Гидроцилиндр 9509-8603210
Корпус 9509-8603015
Проушина 9509-8603220
Опора 9509-8603225
Установка рукава высокого давления 9509-8609010
Рукав высокого давления 9509-8609090
Корпус левый в сборе 9509-8609100
Балка оси передняя 9509-2410010
Балка оси задняя 9509-2410011
Установка боковой защиты
Установка бампера безопасности
Рама для крепления подвески 9509-2822110
Установка тележки
Подвеска
Подвеска (продолжение 1)
Установка стабилизатора
Рессора 6520-2912012-10
Кронштейн балансира с осью 6520-2918050
Башмак рессоры с втулками и манжетой 6520-2918068
Штанга реактивная 6520-2919012
Установка сдвоенных дисковых колес 9509-3101003
Колесо с шиной 9509-3101011
Установка запасного колеса
Ступица с тормозным барабаном 9693-3104010
Ось ступицами и тормозами
Ось ступицами и тормозами (продолжение 1)
Суппорт тормоза в сборе 9693-3502012
Опора разжимного кулака 9693-3502128, держатель датчика 9693-3502300
Кронштейн с тормозной камерой
Колодка тормоза с накладками в сборе 9693-3501090
Рычаг регулировочный 96741-3501136
Шланг 8602-3506060, 96741-3506060
Установка кронштейнов трубопроводов 9509-3500400
Функциональная схема
Привод пневматических тормозов
Привод пневматических тормозов (продолжение 1)
Привод пневматических тормозов (продолжение 2)
Привод пневматических тормозов (продолжение 3)
Привод пневматических тормозов (продолжение 4)
Привод пневматических тормозов (продолжение 5)
Установка привода стояночного тормоза
Трос в сборе 93341-3508181
Привод передний
Схема электрическая
Установка розеток
Установка переднего фонаря и световозвращателя
Установка боковых габаритных фонарей
Установка контурных фонарей
Установка задних фонарей
Пучок проводов задних фонарей левый
Пучок проводов задних фонарей левый
Пучок проводов основной
Пучок проводов передних и боковых габаритных фонарей правый
Установка коробки соединительной 9509-3719010
Установка опорных устройств 9509-2700001
Опорное устройство левое 96741-2700031-01
Опорное устройство правое 96741-2700032-01
Опорное устройство правое 96741-2700032-01 (продолжение 1)
Установка шкворня
Установка ящиков ЗИП
Замок с защелкой типа ЗМЧ 9674-3919040
Установка противооткатных упоров
Установка табличек
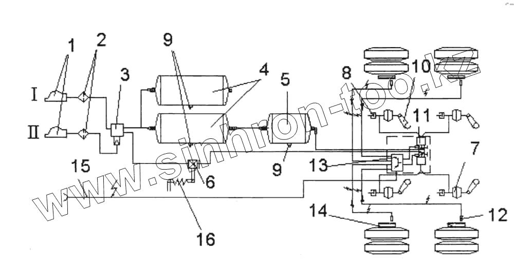
1
1
2
3
4
5
6
7
8
9
9
10
10
11
12
13
14
15
16
Позиция на иллюстрации
Заводской номер детали
Название детали
1
100-3521111
Головка соединительная типа «Палм»
1
100-3521110
Головка соединительная типа «Палм»
2
12.3511310
Фильтр магистральный
3
11.3531010-70
Клапан воздухораспределительный
4
9674-3513015
Баллон воздушный емкостью 40 л
5
96742-3513025
Баллон воздушный емкостью 20 л
6
Г-100-3533010
Регулятор тормозных сил
7
9693-3519212
Тормозная камера
8
100-3515310
Клапан контрольного вывода
9
100-3513110
Кран слива конденсата
10
500-3501136
Рычаг регулировочный
10
79005
Рычаг регулировочный фирмы Ноldек
11
47 2195 0200
Модулятор тормозного давления
12
44 1032 8080
Датчик динамического состояния колес
13
40 0500 0360
Электронный блок управления
14
53205-3541121
Ротор датчика
15
779112 0800
Кабель питания с разъемом ISО 7638
16
Г-100-3533110
Упругий элемент
Содержащиеся в справочниках-каталогах запасные части и детали не предлагаются к продаже, а носят исключительно информационный характер
Дополнительная информация
×
Название:
Номер:
Примечание: