Каталог запасных частей к технике: Нефтекамский автозавод НефАЗ-8332. Установка пневматических тормозов
1
2
2
3
4
5
6
7
8
8
9
9
10
11
12
13
13
14
15
15
16
17
17
18
19
19
21
21
22
24
25
28
29
29
29
29
29
29
30
31
32
33
34
35
36
37
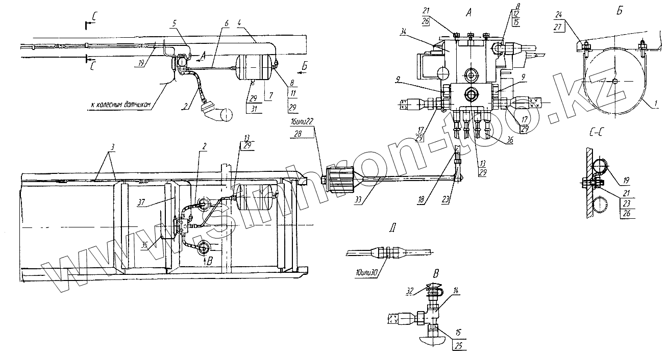
| Позиция на иллюстрации | Заводской номер детали | Название детали | |
|---|---|---|---|
| 1 | 9334-3500042 | Хомут | |
| 2 | 96741-3506060 | Шланг | |
| 3 | 8602-3506200 | Трубка промежуточная | |
| 4 | 8602-3506230-01 | Трубка от штуцера к дополнительному баллону | |
| 5 | 8602-3506236-01 | Трубка от клапана АБС к штуцеру | |
| 6 | 8602-3506268-01 | Трубка от дополнительного баллона к клапану АБС | |
| 7 | 96742-3513015 | Баллон воздушный | |
| 8 | 9674-3500034 | Угольник ввертный | |
| 9 | 9674-3506394 | Пробка | |
| 10 | 96741-3522165 | Штуцер | |
| 11 | 9674-3522171 | Переходник | |
| 12 | 96741-3522172-01 | Переходник | |
| 13 | 96742-3522175 | Штуцер | |
| 14 | 96741-3522222 | Тройник | |
| 15 | 96741-3522226 | Прокладка | |
| 16 | 96741-3522228 | Болт | |
| 17 | 8602-35222229-01 | Штуцер | |
| 18 | 8602-3533033 | Штанга | |
| 19 | 9674-3700033 | Скоба | |
| 21 | 1/60434/21 | Болт | |
| 22 | 356-70570 | Болт ТЕМ12-6gх25 ОСТ37.001.123-75 | |
| 24 | 1/21647/11 | Гайка | |
| 25 | 1/07914/11 | Гайка ЕМ16х1,5-6Н | |
| 28 | 1/05170/70 | Шайба пружинная 12 | |
| 29 | 1/02634/60 | Прокладка 22х28х1,5 | |
| 30 | 864814-П29 | Штуцер проходной 12 | |
| 31 | 100-3513110 | Кран слива конденсата | |
| 32 | Г-100-3515310 | Клапан контрольного вывода | |
| 33 | Г-100-3533110 | Упругий элемент | |
| 34 | 400 5000 360 | Клапан АБС с блоком управления | |
| 35 | 449 1120 800 | Кабель питания с розеткой ISO7638 | |
| 36 | 449 7120 230 | Удлинитель кабеля датчика | |
| 37 | 449 4120 600 | Кабель на ускорительный клапан |
Содержащиеся в справочниках-каталогах запасные части и детали не предлагаются к продаже, а носят исключительно информационный характер