Вернуться на главную
Поиск
Каталоги запчастей к технике
Грузовые автомобили и прицепы
МАЗ
МАЗ-643068
Подставка сиденья с пневмооборудованием
Каталог запасных частей к технике: МАЗ-643068. Подставка сиденья с пневмооборудованием
zoom-in
zoom-out
enlarge
shrink
circle-right
circle-left
file-text2
info
cart
Тип техники
Не выбрано
Легковые автомобили
Грузовые автомобили и прицепы
Автобусы
Сельхозтехника
Спецтехника
Двигатели
Мототехника
Марка
Не выбрано
BAW
DAF
DongFeng
FAW
Foton
HOWO
Hyundai
IVECO
JAC Motors
LGMG
MAN
Shaanxi
SITRAK
Studebaker
Tata
Volvo
Автокомпонент Плюс
БелАЗ
Брянский Арсенал
ГАЗ
ЗИЛ
КАЗ
Камский автозавод
КрАЗ
Мадара
МАЗ
МЗКТ
МоАЗ
Нефтекамский автозавод
Ставропольский Завод АвтоПрицепов
ТАТРА
Тонар
УралАЗ
ЧМЗАП
Модель
Не выбрано
KNORR-BREMSE применяемых на технике МАЗ
КПП МАЗ-543205-070
МАЗ-3PP59 (1999)
МАЗ-437030 (Зубренок) (2004)
МАЗ-437040 (Зубренок) (2002)
МАЗ-437040 (Зубренок) (2005)
МАЗ-437041 (Зубренок) (2010)
МАЗ-437043 (Зубренок) (2011)
МАЗ-437130 (Зубренок) (2008)
МАЗ-4371P2-0000421-000 (2013)
МАЗ-500А
МАЗ-503А
МАЗ-504А
МАЗ-504В (2005)
МАЗ-530905 (2009)
МАЗ-5335 (2004)
МАЗ-5336 (2005)
МАЗ-53363
МАЗ-53366
МАЗ-5337
МАЗ-5337 (2005) (2005)
МАЗ-53371
МАЗ-533731 (2009)
МАЗ-533731 (2012)
МАЗ-5429 (2003)
МАЗ-543 (7310) (2008)
МАЗ-5432 (2003)
МАЗ-543202 (2003)
МАЗ-54321
МАЗ-54323
МАЗ-54326 (2000)
МАЗ-54328
МАЗ-5433
МАЗ-5434
МАЗ-543403, 641705, 641708 (2010)
МАЗ-5440 (2002)
МАЗ-544018 (2011)
МАЗ-544069
МАЗ-5440B5 (2013)
МАЗ-5440B9, 6430B9 (2013)
МАЗ-5440E9 (2011)
МАЗ-5516
МАЗ-5516 (2003) (2003)
МАЗ-551605 (2007)
МАЗ-551608, 630308 (2007)
МАЗ-551669 (2008)
МАЗ-5516А5 (2007)
МАЗ-5549 (2003)
МАЗ-5550V3 (V5) (2011)
МАЗ-5551
МАЗ-5551 (2003) (2003)
МАЗ-555102, 5551А2 (2007)
МАЗ-555142 (2007)
МАЗ-6303 (2000)
МАЗ-6303 (2005) (2005)
МАЗ-630333 (2012)
МАЗ-6303A3, 6303A5 (2007)
МАЗ-631019 (2014)
МАЗ-631236 (2007)
МАЗ-6312B9-0008425-012 (2015)
МАЗ-6317
МАЗ-631705 (2010)
МАЗ-631705, 631708 (2010)
МАЗ-6422 (2003)
МАЗ-6422, 5432 (2007)
МАЗ-64221
МАЗ-64226 (2000)
МАЗ-64229
МАЗ-642505, 642508 (2006)
МАЗ-64255
МАЗ-643018 (2015)
МАЗ-643068 (2003)
МАЗ-6430A8 (5440A8, 5440A5) (2008)
МАЗ-650108 (2008)
МАЗ-650119 (2010)
МАЗ-6501B9 (2014)
МАЗ-6501B9 (2015)
МАЗ-651669-320 (340) (2009)
МАЗ-6516V8-520 (6516V8-540) (2011)
МАЗ-651705 (2009)
МАЗ-6517X9-0000410 (2014)
МАЗ-74131 (1996)
МАЗ-83781
МАЗ-9008
МАЗ-93802
МАЗ-93866
МАЗ-938662
МАЗ-93892
МАЗ-9506
МАЗ-9758
МАЗ-9758-30
Общий (см. мод-ции)
Справочник
Схема
>
Не выбрано
Переднее подрессоривание кабины
Заднее подрессоривание кабины
Запорный механизм кабины
Установка регуляторов положения кабины
Механизм подъема кабины
Установка инструментального ящика
Установка панели приборов
Установка опускного стекла
Установка ручек, замка и ограничителя двери
Установка стеклоподъемника и ручки стеклоподъемника
Сиденье
Механизм регулирования высоты сиденья
Подставка сиденья с пневмооборудованием
Установка и пневмопитание сидений
Механизм поворота и фиксации спинки сиденья
Установка обтекателя и закрылков
Установка поручней в кабине
Установка ремней безопасности
Установка спальных мест, шкафов и шторы
Штора противосолнечная
Установка шторок и козырька
Полка
Установка облицовки и боковых щитков
Крепление двигателя 64302-1001002
Крепление двигателя 64301-1001002
Крепление двигателя 64301-1001002-010
Крепление двигателя 64301-1001002-020
Установка подогревателя
Привод подачи топлива
Привод подачи топлива
Крепление топливного бака и бачка подогревателя
Топливопроводы системы питания МАЗ 544008, 643008
Топливопроводы системы питания МАЗ 544020, 643068
Привод выключения двигателя
Привод останова двигателя
Установка системы выпуска
Установка системы выпуска
Система охлаждения наддувочного воздуха
Радиатор с кожухом
Установка системы охлаждения
Механизм управления сцеплением
Усилитель пневмогидравлический
Цилиндр подпедальный
Блок управления сцеплением и тормозами
Блок управления сцеплением и тормозами
Привод переключения КП
Привод переключения КП
Механизм промежуточный
Переключатель
Рычаг
Тяга
Хвостовик 64302-1703447
Хвостовик 64302-1703448
Хвостовик 6430-1703448-040
Вал карданный
Вал карданный
Мост задний
Мост задний. Установка редуктора и элементов подвески
Мост задний. Картер моста
Колесный редуктор
Редуктор заднего моста. Дифференциал
Редуктор заднего моста
Шестерни ведущая и ведомая (комплект для запчастей)
Шестерня ведущая
Мост средний
Мост средний. Установка редуктора и вала заднего
Мост средний. Картер моста
Редуктор среднего моста
Редуктор среднего моста. Дифференциал с картером редуктора
Редуктор среднего моста. Шестерня ведущая
Редуктор среднего моста. Дифференциал межосевой
Редуктор среднего моста. Межколесная блокировка дифференциала
Мост средний. Вал задний
Рамы 544008-2801002, 544008-2801002-010
Рама 54402-2801002-пневмоподвеска для МАЗ-544020, 544008
Рама 6430-2801002-рессорная подвеска для МАЗ-643068, 643008
Рама 6430-пневмоподвеска
Подвеска передняя
Подвеска задняя пневматическая
Подвеска задняя
Подвеска балансирная
Рессора задняя
Передняя ось
Балка передней оси
Тяга поперечная рулевая
Тяга продольная
Корпус шарнира
Наконечник
Ступица переднего колеса
Ступица заднего моста
Установка запасного колеса
Установка колеса на задний и средний мосты
Установка передних колес
Колонка рулевая с колесом рулевого управления
Механизм рулевой
Распределитель
Насос 543240-3407008
Крышка
Цилиндр
Цилиндр
Винт с гайкой-рейкой
Привод тормозного механизма задних колес
Тормозной механизм передних колес
Рычаг регулировочный
Тормоз заднего колеса
Камера тормозная
Установка тормозных камер и присоединительной арматуры
Установка датчиков
Установка клапана управления тормозами прицепа и присоединительной арматуры
Установка осушителя воздуха и присоединительной арматуры
Крепление четырехконтурного клапана
Установка тормозного клапана ARS и присоединительной арматуры
Установка модуляторов и присоединительной арматуры
Установка передних модуляторов и присоединительной арматуры
Пневмовыводы на полуприцеп и присоединительная арматура
Установка ресиверов и присоединительной арматуры
Установка ресиверов и присоединительной арматуры
Установка ресивера и присоединительной арматуры
Установка регулятора тормозных сил и присоединительной арматуры
Установка ускорительного клапана и присоединительной арматуры
Установка задних тормозных камер и присоединительной арматуры
Тормозной кран и присоединительная арматура
Управление стояночным и моторным тормозом МАЗ-544020
Управление стояночным и моторным тормозом МАЗ-643068, 643008, 544008
Установка пневмокомпрессора
Установка головных фар
Установка противотуманной фары
Установка указателя поворота бокового
Установка фонаря автопоезда
Установка габаритных огней
Установка звуковых сигналов
Коробка задних фонарей
Установка задних фонарей
Установка задних фонарей
Установка розеток и фары освещения сцепки
Установка электрооборудования на полке
Установка плафонов
Установка блока коммутационной аппаратуры
Установка аккумуляторных батарей
Установка элементов электрооборудования электронных систем на автомобиле МАЗ-544020
Установка элементов электрооборудования электронных систем на автомобиле МАЗ-643068
Ввод жгутов ABS/ASR, ECAS и EDC в кабину автомобиля МAЗ-544020/643068
Ввод жгутов ABS/ASR, ECAS и EDC в кабину автомобиля
Панель реле и предохранителей автомобиля МАЗ-544020/643068
Панель реле и предохранителей автомобиля МАЗ-544008/643008
Электрооборудование ЭСУ двигателя
Установка элементов электрооборудования электронных систем на автомобиле МАЗ-544008
Установка элементов электрооборудования электронных систем на автомобиле МАЗ-643008
Установка электронных блоков на автомобилях МАЗ-544008/643008
Установка электронных блоков на автомобилях МАЗ-544020/643068
Выключатели ABS, ASR и ECAS
Выключатели ABS, ASR и ECAS
Установка пульта пневмоподвески
Установка пульта пневмоподвески
Подрулевой переключатель автомобилей МАЗ-544020/643068
Установка приборов и выключателей
Расположение элементов электронных систем в кабине автомобилей семейства МАЗ-544020/643068
Расположение элементов электронных систем в кабине автомобилей семейства МАЗ-544008/643008
Установка датчиков на шасси (МАЗ-544008, МАЗ-544020)
Установка датчиков на шасси (МАЗ-643008, МАЗ-643068)
Контрольные лампы
Контрольные лампы
Седельно-сцепное устройство
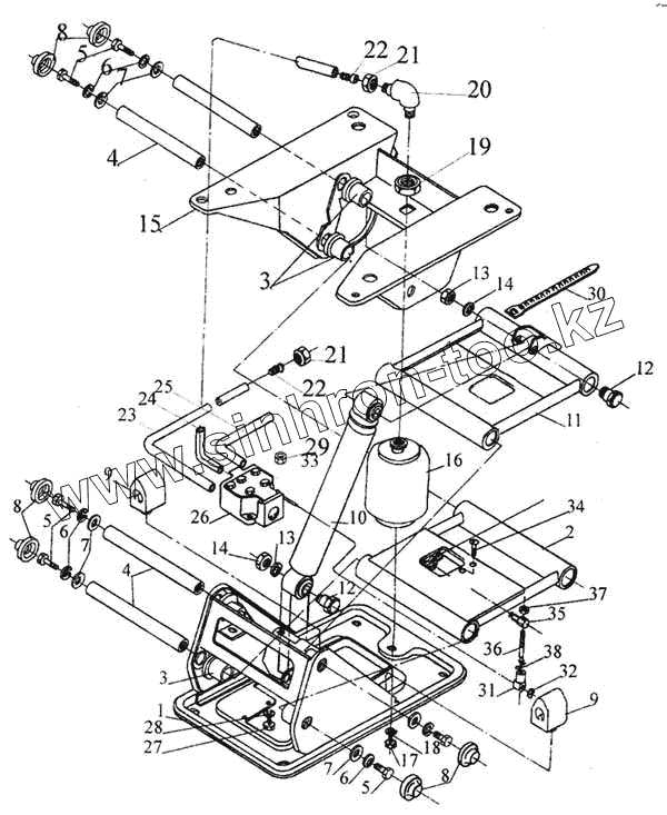
1
2
3
3
4
4
5
5
5
6
6
6
7
7
7
8
8
8
9
9
10
11
12
12
13
13
14
14
15
16
17
18
19
20
21
21
22
22
23
24
25
26
27
28
29
30
31
32
33
34
35
36
37
38
Позиция на иллюстрации
Заводской номер детали
Название детали
1
6430-6807017
Опора нижняя
2
6430-6807083-01
Рычаг нижний
3
6430-6807113
Втулка
4
6430-6807116
Ось рычага
5
201497
Болт М10-6gх25
6
252136
Шайба 10.ОТ
7
252039
Шайба 10
8
6430-6807124
Колпачок
9
504В-6801029-10
Буфер
10
114.2915019
Амортизатор
11
6430-6807084-010
Рычаг верхний
12
6430-6807111
Ось амортизатора
13
252137
Шайба 12.ОТ
14
252515
Гайка М12х1,25-6Н
15
6430-6807016
Опора верхняя
16
6430-6807008
Пневмобаллон сиденья
17
201452
Болт М8х12
18
252135
Шайба 8Т
19
250640
Гайка М20х1,5
20
402717
Угольник
21
401120
Гайка накидная
22
402405
Ниппель
23
Труба 6х1 полиамид ПА12 L1=480±3,15
Труба 6х1 полиамид ПА12 L1=480±3,15
24
Труба 6х1 полиамид ПА12 L2=400± 2,85
Труба 6х1 полиамид ПА12 L2=400± 2,85
25
Труба 6х1 полиамид ПА12 L3=100±1,75
Труба 6х1 полиамид ПА12 L3=100±1,75
26
64221-6819010
Распределитель
27
220107
Винт М6-6gх20
28
252134
Шайба 6Т
29
250508
Гайка М6-6Н
30
64227-3537048
Хомут
31
6430-6807147
Держатель
32
6430-6807117
Шайба
33
6430-6807144
Кронштейн
34
240618
Винт М4х12 ОСТ37.001.186-81
35
6430-6807145
Ось
36
6430-6807146
Тяга
37
250464
Гайка М5-6Н
38
6430-6807148
Скоба
Содержащиеся в справочниках-каталогах запасные части и детали не предлагаются к продаже, а носят исключительно информационный характер
Дополнительная информация
×
Название:
Номер:
Примечание: