Вернуться на главную
Поиск
Каталоги запчастей к технике
Грузовые автомобили и прицепы
МАЗ
МАЗ-437040 (Зубренок)
Установка обтекателей
Каталог запасных частей к технике: МАЗ-437040 (Зубренок). Установка обтекателей
zoom-in
zoom-out
enlarge
shrink
circle-right
circle-left
file-text2
info
cart
Тип техники
Не выбрано
Легковые автомобили
Грузовые автомобили и прицепы
Автобусы
Сельхозтехника
Спецтехника
Двигатели
Мототехника
Марка
Не выбрано
BAW
DAF
DongFeng
FAW
Foton
HOWO
Hyundai
IVECO
JAC Motors
LGMG
MAN
Shaanxi
SITRAK
Studebaker
Tata
Volvo
Автокомпонент Плюс
БелАЗ
Брянский Арсенал
ГАЗ
ЗИЛ
КАЗ
Камский автозавод
КрАЗ
Мадара
МАЗ
МЗКТ
МоАЗ
Нефтекамский автозавод
Ставропольский Завод АвтоПрицепов
ТАТРА
Тонар
УралАЗ
ЧМЗАП
Модель
Не выбрано
KNORR-BREMSE применяемых на технике МАЗ
КПП МАЗ-543205-070
МАЗ-3PP59 (1999)
МАЗ-437030 (Зубренок) (2004)
МАЗ-437040 (Зубренок) (2002)
МАЗ-437040 (Зубренок) (2005)
МАЗ-437041 (Зубренок) (2010)
МАЗ-437043 (Зубренок) (2011)
МАЗ-437130 (Зубренок) (2008)
МАЗ-4371P2-0000421-000 (2013)
МАЗ-500А
МАЗ-503А
МАЗ-504А
МАЗ-504В (2005)
МАЗ-530905 (2009)
МАЗ-5335 (2004)
МАЗ-5336 (2005)
МАЗ-53363
МАЗ-53366
МАЗ-5337
МАЗ-5337 (2005) (2005)
МАЗ-53371
МАЗ-533731 (2009)
МАЗ-533731 (2012)
МАЗ-5429 (2003)
МАЗ-543 (7310) (2008)
МАЗ-5432 (2003)
МАЗ-543202 (2003)
МАЗ-54321
МАЗ-54323
МАЗ-54326 (2000)
МАЗ-54328
МАЗ-5433
МАЗ-5434
МАЗ-543403, 641705, 641708 (2010)
МАЗ-5440 (2002)
МАЗ-544018 (2011)
МАЗ-544069
МАЗ-5440B5 (2013)
МАЗ-5440B9, 6430B9 (2013)
МАЗ-5440E9 (2011)
МАЗ-5516
МАЗ-5516 (2003) (2003)
МАЗ-551605 (2007)
МАЗ-551608, 630308 (2007)
МАЗ-551669 (2008)
МАЗ-5516А5 (2007)
МАЗ-5549 (2003)
МАЗ-5550V3 (V5) (2011)
МАЗ-5551
МАЗ-5551 (2003) (2003)
МАЗ-555102, 5551А2 (2007)
МАЗ-555142 (2007)
МАЗ-6303 (2000)
МАЗ-6303 (2005) (2005)
МАЗ-630333 (2012)
МАЗ-6303A3, 6303A5 (2007)
МАЗ-631019 (2014)
МАЗ-631236 (2007)
МАЗ-6312B9-0008425-012 (2015)
МАЗ-6317
МАЗ-631705 (2010)
МАЗ-631705, 631708 (2010)
МАЗ-6422 (2003)
МАЗ-6422, 5432 (2007)
МАЗ-64221
МАЗ-64226 (2000)
МАЗ-64229
МАЗ-642505, 642508 (2006)
МАЗ-64255
МАЗ-643018 (2015)
МАЗ-643068 (2003)
МАЗ-6430A8 (5440A8, 5440A5) (2008)
МАЗ-650108 (2008)
МАЗ-650119 (2010)
МАЗ-6501B9 (2014)
МАЗ-6501B9 (2015)
МАЗ-651669-320 (340) (2009)
МАЗ-6516V8-520 (6516V8-540) (2011)
МАЗ-651705 (2009)
МАЗ-6517X9-0000410 (2014)
МАЗ-74131 (1996)
МАЗ-83781
МАЗ-9008
МАЗ-93802
МАЗ-93866
МАЗ-938662
МАЗ-93892
МАЗ-9506
МАЗ-9758
МАЗ-9758-30
Общий (см. мод-ции)
Справочник
Схема
>
Не выбрано
Установка кабины
Механизм подъема кабины
Запорный механизм кабины
Кузов с фиксаторами дверей и лестниц
Установка стекол и зеркал
Панель приборов
Установка крышки вентиляционного люка
Установка наружной ручки и замка двери
Установка ограничителя и петель двери
Установка стеклоподъемника и ручки стеклоподъемника
Установка и пневмопитание сидений
Сидение
Механизм регулирования высоты
Подушка и спинка сидения
Подставка сиденья с пневмооборудованием
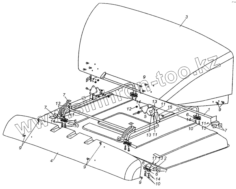
Установка обтекателей
Установка воздушных заслонок и отопителя кабины
Отопитель
Кран управления отопителем
Установка поручней в кабине
Установка оперения
Установка брызговиков передних колес
Установка облицовки и боковых щитков
Установка основания, панелей настила, брызговиков
Установка бортов и стоек
Установка тентовой надстройки и тента
Установка кузова
Установка основания и брызговиков
Брызговик
Крепление двигателя МАЗ-437040
Установка подогревателя. Thermo 90S
Топливопроводы питания подогревателя. Thermo 90S
Установка подогревателя. Hydronic 10
Топливопроводы питания подогревателя. Hydronic 10
Установка масляных радиаторов
Система заливки и контроля уровня масла МАЗ-437040
Крепление топливного бака
Крепление топливопроводов МАЗ-437040
Привод подачи топлива
Система питания воздухом 437040
Привод останова двигателя
Установка системы выпуска газов 437040
Радиатор с кожухом
Установка системы охлаждения
Система охлаждения наддувочного воздуха
Механизм управления сцеплением
Основание педали
Кронштейн с рычагом передний
Привод управления коробкой передач
Механизм переключения передач
Валик
Наконечник
Механизм промежуточный
Тяга
Удлинитель
Рычаг
Рычаг
Хвостовик
Хвостовик
Тяга 5336-1703349
Карданная передача
Мост задний
Установка редуктора
Шестерня ведущая
Дифференциал
Редуктор заднего моста
Установка привода управления блокировкой дифференциала
Рама
Установка бокового ограждения и заднего бампера МАЗ-4370
Крепление бампера
Подвеска передняя
Рессора передняя
Задняя подвеска
Рессора задняя
Ось передняя
Балка передней оси
Тяга поперечная рулевая
Тяга продольная
Установка передних колес
Установка задних колес
Ступица переднего колеса
Установка запасного колеса
Ступица моста
Установка рулевого управления
Механизм рулевой
Кронштейн с колонкой
Силовой цилиндр гидроусилителя рулевого управления
Клапан расхода и давления
Бак масляный
Распределитель
Установка рулевой колонки и рулевого механизма
Колонка рулевая с колесом рулевого управления
Вал нижний
Колодка тормоза
Тормозной механизм передней оси
Привод тормозного механизма задних колес
Тормоз заднего колеса
Тормозной кран с присоединительной арматурой
Педаль привода тормозного крана
Установка модуляторов и присоединительной арматуры
Присоединительная арматура к ресиверам
Ресивер регенерации
Крепление ресиверов
Тормозной кран
Клапан защитный четырехконтурный
Установка ускорительного клапана и присоединительной арматуры
Установка ускорительного клапана и присоединительной арматуры
Установка тормозных камер и присоединительной арматуры
Установка задних тормозных камер и присоединительной арматуры
Регулятор тормозных сил с присоединительной арматурой
Установка осушителя воздуха и присоединительной арматуры
Управление стояночным тормозом
Установка передних модуляторов и присоединительной арматуры
Установка головных фар
Панель блоков предохранителей и реле
Установка задних фонарей
Установка коммутационной аппаратуры
Установка плафона освещения кабины
Установка электрооборудования на шасси
Установка бокового указателя поворота
Установка габаритных огней
Установка боковых габаритных фонарей
Установка аккумуляторных батарей
Коробка задних фонарей
Установка элементов электрооборудования АБС на автомобиле МАЗ-4370
Расположение элементов АБС в кабине автомобилей семейства МАЗ-4370
Установка электронного блока АБС № 446004 3100 ф. «WABCO»
Установка электронного блока АБС ЭБК-4370040-С ф. «ЭКРАН»
Установка приборов и выключателей
Установка приборов и выключателей
Панель реле и предохранителей автомобиля
1
2
2
3
4
5
6
6
6
6
7
7
7
7
9
9
9
9
10
10
10
10
11
11
11
11
11
12
13
13
13
13
13
14
14
14
14
15
Позиция на иллюстрации
Заводской номер детали
Название детали
1
4370-8008026
Каркас
2
64221-8008043
Кронштейн
2
64221-8008042
Кронштейн
3
4370-8008020
Обтекатель
4
4370-8008024
Козырёк
5
64221-8008050
Кронштейн
6
5336-8008059
Прижим нижний
7
64221-8008060
Прокладка
8
5336-8008064
Прокладка
9
210381-10
Болт М8-6gх30
10
201497
Болт М10-6gх25
11
250510
Гайка М8-6Н
12
250512
Гайка М10-6Н
13
252155
Шайба 8Л
14
252156
Шайба 10Л
15
252006
Шайба 10
Содержащиеся в справочниках-каталогах запасные части и детали не предлагаются к продаже, а носят исключительно информационный характер
Дополнительная информация
×
Название:
Номер:
Примечание: