Каталог запасных частей к технике: Камский автозавод Самосв. установка 6520. Установка гидроцилиндра 6520-8603001-81
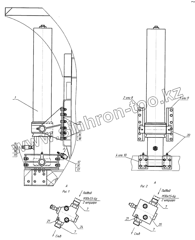
1
2
3
4
7
7
7
7
8
9
10
11
12
13
14
15
16
16
17
18
18
19
20
21
21
24
25
| Позиция на иллюстрации | Заводской номер детали | Название детали | |
|---|---|---|---|
| 1 | 6520-8603010-81 | Гидроцилиндр | |
| 2 | 65115-8603180-91 | Кронштейн правый | |
| 3 | 6511-8603181-91 | Кронштейн левый | |
| 4 | 6520-8603190-81 | Кронштейн | |
| 7 | 6520-8607036 | Штуцер | |
| 8 | 65115-8603198-91 | Кронштейн правый | |
| 9 | 65115-8603199-91 | Кронштейн левый | |
| 10 | 6520-8603197-81 | Кронштейн | |
| 11 | 65115-8603186-91 | Пластина регулировочная | |
| 12 | 1/60442/21 | Болт М8-6gх50 | |
| 13 | 1/58405/31 | Болт М16х1,5-6gх50 | |
| 14 | 1/13905/21 | Болт М16х1,25-6gх40 | |
| 15 | 1/61008/11 | Гайка М8х1,25-6Н | |
| 16 | 1/21641/11 | Гайка М16х1,5-6Н | |
| 17 | 1/05166/70 | Шайба 8 пружинная | |
| 18 | 1/05172/70 | Шайба пружинная 16 | |
| 19 | 1/05202/01 | Шайба плоская 16,8х28х3 | |
| 20 | 864006 | Масленка 1.3.Ц6хр.ГОСТ 19853-74 | |
| 21 | 021-025-25-2-2 | Кольцо | |
| 24 | 5511-8614010-10 | Клапан ограничительный | |
| 25 | 5511-8614010-10А | Клапан ограничительный |
Содержащиеся в справочниках-каталогах запасные части и детали не предлагаются к продаже, а носят исключительно информационный характер