Каталог запасных частей к технике: ПАЗ-4234. Сиденья пассажирские
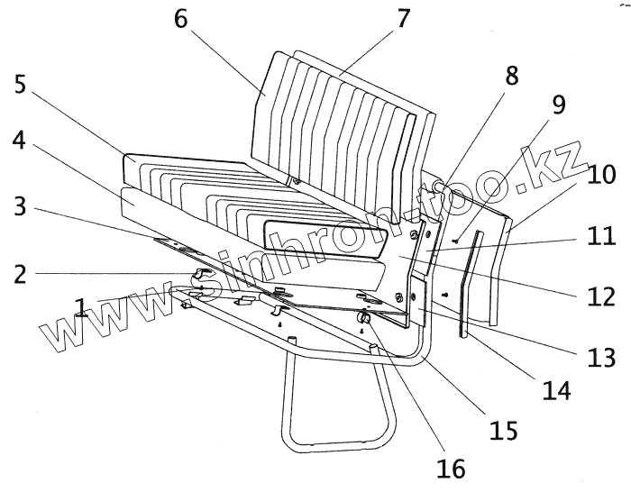
1
2
3
4
5
6
7
8
9
10
11
12
13
14
15
16
| Позиция на иллюстрации | Заводской номер детали | Название детали | |
|---|---|---|---|
| 3205-6840120-01 | 3205-6840120-01 | Сиденье двухместное правое | |
| 3205-6843012 | 3205-6843012 | Спинка двухместного сиденья | |
| 672-7203030 | 672-7203030 | Скоба | |
| 652-6803031 | 652-6803031 | Скоба крепления | |
| 3205-6845084 | 3205-6845084 | Скоба | |
| СТ14М-6830010-10 | СТ14М-6830010-10 | Сиденье одноместное над крышкой КПП | |
| 3205-6830016-01 | 3205-6830016-01 | Сиденье одноместное заднее | |
| 3205-70-6830012-01 | 3205-70-6830012-01 | Сиденье одноместное заднее (переднее правое) | |
| СТ14М-6830020 | СТ14М-6830020 | Сиденье одноместное заднее | |
| 3205-6840210-01 | 3205-6840210-01 | Сиденье двухместное правое № 1 | |
| СТ14М-6840210-10 | СТ14М-6840210-10 | Сиденье двухместное правое с отопителем (второе и четвертое по правой стороне) | |
| 3205-6845012 | 3205-6845012 | Спинка двухместного сиденья | |
| СТ14М-6840010-10 | СТ14М-6840010-10 | Сиденье двухместное правое (третье по правой стороне, первое и шестое по левой стороне) | |
| СТ14М-6840030-10 | СТ14М-6840030-10 | Сиденье двухместное надарочное переднее правое | |
| 3205-6840213-01 | 3205-6840213-01 | Сиденье двухместное левое № 3 | |
| СТ14М-6840213-10 | СТ14М-6840213-10 | Сиденье двухместное левое с отопителем (четвертое и седьмое по левой стороне) | |
| 3205-6840151-01 | 3205-6840151-01 | Сиденье двухместное левое над задним колесом (четвертое) | |
| 3205-6840011-01 | 3205-6840011-01 | Сиденье двухместное левое | |
| СТ14М-6840011-10 | СТ14М-6840011-10 | Сиденье двухместное левое (второе, третье и пятое) | |
| СТ14М-6840014 | СТ14М-6840014 | Сиденье двухместное заднее правое надарочное | |
| 3205-6820010-01 | 3205-6820010-01 | Сиденье двухместное заднее правое | |
| 3205-6841108 | 3205-6841108 | Уголок крепления сидений к боковине правый (левый для 5 сиденья) | |
| 3205-6841076 | 3205-6841076 | Шайба крепления сиденья к полу | |
| 3205-6841076 | 3205-6841076 | Шайба крепления сиденья к полу | |
| 252135-П29 | 252135-П29 | Шайба 8 | |
| 252135-П29 | 252135-П29 | Шайба 8 | |
| 252005-П29 | 252005-П29 | Шайба 8 | |
| 252005-П29 | 252005-П29 | Шайба 8 | |
| 252134-П29 | 252134-П29 | Шайба 6 | |
| 252136-П29 | 252136-П29 | Шайба 10 пружинная | |
| 252136-П29 | 252136-П29 | Шайба 10 пружинная | |
| 252006-П29 | 252006-П29 | Шайба 10 | |
| 201470-П29 | 201470-П29 | Болт М8х60 | |
| 4234-6841093 | 4234-6841093 | Уголок крепления сидений к боковине правый | |
| 3205-6841098 | 3205-6841098 | Уголок крепления сидений к боковине правый | |
| 4234-6841091 | 4234-6841091 | Уголок крепления сидений к боковине левый передний | |
| 4234-6841095 | 4234-6841095 | Уголок крепления сидений к боковине левый задний | |
| 3205-70-6841091 | 3205-70-6841091 | Уголок крепления сидений к боковине левый | |
| 3205-07-6835010 | 3205-07-6835010 | Спинка одноместного сиденья | |
| 3205-6835010 | 3205-6835010 | Спинка одноместного сиденья | |
| 3205-6845010 | 3205-6845010 | Спинка двухместного сиденья | |
| 3205-6845012 | 3205-6845012 | Спинка двухместного сиденья | |
| 201468-П29 | 201468-П29 | Болт М8х50 | |
| 3205-6845034 | 3205-6845034 | Облицовочный профиль спинки сиденья правый | |
| 3205-6845034 | 3205-6845034 | Облицовочный профиль спинки сиденья правый | |
| 3205-6845035 | 3205-6845035 | Облицовочный профиль спинки сиденья левый | |
| 3205-6842320 | 3205-6842320 | Лента обивочная | |
| 250510-П29 | 250510-П29 | Гайка М8 | |
| 250510-П29 | 250510-П29 | Гайка М8 | |
| 250508-П29 | 250508-П29 | Гайка М6 | |
| 250512-П29 | 250512-П29 | Гайка М10 | |
| 240618-П29 | 240618-П29 | Винт 4х12 | |
| 240618-П29 | 240618-П29 | Винт 4х12 | |
| СТ14М-6820010 | СТ14М-6820010 | Сиденье двухместное заднее (правое и левое) | |
| 200263-П29 | 200263-П29 | Болт М8х35 | |
| 200263-П29 | 200263-П29 | Болт М8х35 | |
| 201456-П29 | 201456-П29 | Болт М8х20 | |
| 201428-П29 | 201428-П29 | Болт М6х40 | |
| 201422-П29 | 201422-П29 | Болт М6х25 крепления рычага переднего валика акселератора | |
| 201495-П29 | 201495-П29 | Болт М10х20 | |
| 201495-П29 | 201495-П29 | Болт М10х20 | |
| 201456-П29 | 201456-П29 | Болт М8х20 | |
| 201468-П29 | 201468-П29 | Болт М8х50 | |
| 3205-6841213-01 | 3205-6841213-01 | Остов двухместного сиденья левый № 3 (третье) | |
| 3205-6820011-01 | 3205-6820011-01 | Сиденье двухместное заднее левое | |
| 3205-6840010-11 | 3205-6840010-11 | Сиденье двухместное правое | |
| 3205-6835015-01 | 3205-6835015-01 | Поручень одноместного сиденья | |
| 3205-6845015-01 | 3205-6845015-01 | Поручень двухместного сиденья | |
| 3205-6845015-01 | 3205-6845015-01 | Поручень двухместного сиденья | |
| 3205-70-6833010 | 3205-70-6833010 | Подушка одноместного сиденья со скобами | |
| 3205-6833010 | 3205-6833010 | Подушка одноместного сиденья со скобами | |
| 3205-6843010 | 3205-6843010 | Подушка двухместного сиденья со скобами | |
| 3205-6843014 | 3205-6843014 | Подушка двухместного сиденья | |
| 3205-07-6835030-02 | 3205-07-6835030-02 | Панель спинки одноместного сиденья | |
| 3205-70-6831012-01 | 3205-70-6831012-01 | Остов одноместного сиденья задний (правый передний) | |
| 3205-6831016-01 | 3205-6831016-01 | Остов заднего одноместного сиденья | |
| 3205-6821010-01 | 3205-6821010-01 | Остов двухместного заднего сиденья правый | |
| 3205-6821011-01 | 3205-6821011-01 | Остов двухместного заднего сиденья левый | |
| 3205-6841210-01 | 3205-6841210-01 | Остов двухместного сиденья правый № 1 | |
| 3205-6841120-01 | 3205-6841120-01 | Остов двухместного сиденья правый (третий продольный) | |
| 3205-6841010-11 | 3205-6841010-11 | Остов двухместного сиденья правый | |
| 3205-6841151-01 | 3205-6841151-01 | Остов двухместного сиденья над задним колесом левый (четвертый) | |
| 3205-6841011-01 | 3205-6841011-01 | Остов двухместного сиденья левый | |
| 3205-6845030-03 | 3205-6845030-03 | Панель спинки двухместного сиденья | |
| 1 | 224624-П29 | Винт М6х14 крепления панели спинки нижний | |
| 2 | 3205-6843040 | Скоба передняя | |
| 3 | 3205-6843020 | Основание подушки двухместного сиденья | |
| 4 | 3205-6843012 | Спинка двухместного сиденья | |
| 5 | 3205-6842310 | Обивка подушки двухместного сиденья | |
| 6 | 3205-6842610 | Обивка спинки двухместного сиденья | |
| 7 | 3205-6845060 | Подкладка спинки двухместного сиденья | |
| 8 | 3205-6845015-01 | Поручень двухместного сиденья | |
| 9 | 240618-П29 | Винт 4х12 | |
| 10 | 3205-6845030-03 | Панель спинки двухместного сиденья | |
| 11 | 3205-6845038 | Вкладыш панели верхний | |
| 12 | 3205-6845020 | Основание спинки двухместного сиденья | |
| 13 | 3205-6845036 | Вкладыш панели нижний | |
| 14 | 3205-6845035 | Облицовочный профиль спинки сиденья левый | |
| 15 | 3205-6841010-11 | Остов двухместного сиденья правый | |
| 16 | 3205-6843042 | Скоба задняя |
Содержащиеся в справочниках-каталогах запасные части и детали не предлагаются к продаже, а носят исключительно информационный характер