Каталог запасных частей к технике: ПАЗ-4230. Боковина правая с остеклением
1
1
2
3
4
4
5
5
5
6
6
7
7
8
8
8
9
10
10
11
12
12
12
12
13
13
14
14
15
15
16
16
16
16
16
16
17
17
17
17
17
18
19
20
21
22
23
23
24
24
25
25
25
26
26
27
27
28
29
30
31
32
33
34
35
36
37
38
38
39
40
41
41
42
43
43
44
44
45
46
47
47
48
48
49
49
50
50
51
51
52
52
53
54
54
54
54
55
55
56
57
58
59
59
60
61
61
62
63
63
64
65
66
67
68
68
69
70
70
71
72
73
73
74
75
75
76
76
77
78
79
80
81
82
82
83
84
85
85
86
87
88
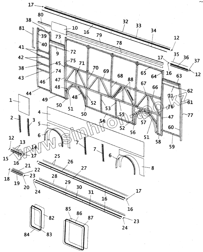
| Позиция на иллюстрации | Заводской номер детали | Название детали | |
|---|---|---|---|
| 4230-5400010 | 4230-5400010 | Боковина правая | |
| 4230-03-110-5400010 | 4230-03-110-5400010 | Боковина правая | |
| 4230-110-5400010 | 4230-110-5400010 | Боковина правая | |
| 1 | 4230-5401214 | Панель боковины задняя | |
| 1 | 4230-110-5401214 | Панель боковины задняя | |
| 2 | 4230-5401281 | Панель правой боковины задняя | |
| 3 | 4230-5401288 | Панель правой боковины | |
| 4 | 4230-5401306 | Панель правой боковины средняя | |
| 4 | 4230-110-5401306 | Панель правой боковины средняя | |
| 5 | 4230-5401256 | Панель правой боковины задняя L=1218мм | |
| 5 | 4230-110-5401256 | Панель правой боковины задняя L=1220мм | |
| 5 | 4230-03-110-5401256 | Панель правой боковины задняя L=1555мм | |
| 6 | 4230-5401260 | Усилитель панели правый | |
| 7 | 4230-5401290 | Панель | |
| 8 | 4230-5401253 | Панель правой боковины передняя L=1418мм | |
| 8 | 4230-110-5401253 | Панель правой боковины передняя L=1420мм | |
| 8 | 4230-03-110-5401253 | Панель правой боковины передняя L=2272мм | |
| 9 | 3205-5401280-10 | Панель проема пассажирской двери верхняя | |
| 10 | 4230-5401208 | Панель правой боковины задняя | |
| 10 | 4230-110-5401400 | Панель проема задней двери верхняя | |
| 11 | 4230-110-5401380 | Панель проема пассажирской двери верхняя передняя | |
| 12 | 3205-5402201 | Наконечник капельника левый | |
| 12 | 3205-5402202 | Наконечник молдинга правый | |
| 13 | 4230-5402432 | Подкладка под капельник подоконный задний правый | |
| 13 | 4230-5402394 | Подкладка под молдинг правой боковины задний | |
| 14 | 4230-5402430 | Капельник подоконный задний правый | |
| 14 | 4230-5402390 | Молдинг правой боковины задний | |
| 15 | 4230-5402392 | Вкладыш молдинга правой боковины задний | |
| 15 | 4230-5402434 | Кант капельника подоконного заднего правого | |
| 16 | 241820-П29 | Винт М4х18 | |
| 16 | 241822-П29 | Винт М4х25 | |
| 17 | 3205-5402200 | Наконечник капельника правый | |
| 17 | 3205-5402203 | Наконечник молдинга левый | |
| 18 | 3205-5402202 | Наконечник молдинга правый | |
| 19 | 4230-5402392 | Вкладыш молдинга правой боковины задний | |
| 20 | 4230-5402390 | Молдинг правой боковины задний | |
| 21 | 4230-5402394 | Подкладка под молдинг правой боковины задний | |
| 22 | 4230-5402324 | Профиль люка № 4 правой боковины | |
| 23 | 3205-5402203 | Наконечник молдинга левый | |
| 24 | 241822-П29 | Винт М4х25 | |
| 25 | 4230-5402372 | Подкладка под капельник подоконный | |
| 25 | 4230-5402362 | Подкладка под капельник подоконный | |
| 25 | 4230-5402404 | Подкладка под молдинг правой боковины верхняя | |
| 26 | 4230-5402370 | Капельник подоконный правый | |
| 26 | 4230-5402400 | Молдинг правой боковины | |
| 27 | 4230-5402402 | Вкладыш молдинга правой боковины | |
| 27 | 4230-5402374 | Кант капельника правого подоконного | |
| 28 | 4230-5402404 | Подкладка под молдинг правой боковины верхняя | |
| 29 | 4230-5402316 | Профиль люка правой боковины передний | |
| 30 | 4230-5402400 | Молдинг правой боковины | |
| 31 | 4230-5402402 | Вкладыш молдинга правой боковины | |
| 32 | 4230-5402342 | Подкладка под капельник надоконный правый | |
| 33 | 4230-5402340 | Капельник надоконный правый | |
| 34 | 4230-5402344 | Кант капельника правого надоконного | |
| 35 | 4230-5402442 | Подкладка под капельник над дверью передний | |
| 36 | 4230-5402440 | Капельник над пассажирской дверью передний | |
| 37 | 4230-5402444 | Кант капельника над пассажирской дверью переднего | |
| 38 | 4230-110-5401068 | Пояс правый | |
| 39 | 4230-5401198 | Стойка боковины задняя | |
| 40 | 4230-110-5401450 | Профиль проема заднего окна правый | |
| 41 | 4230-110-5401036 | Пояс | |
| 41 | 4230-5401068 | Пояс верхний правый | |
| 42 | 4230-5401036 | Пояс | |
| 43 | 4230-5401032 | Пояс средний правый | |
| 43 | 4230-110-5401032 | Пояс средний правый | |
| 44 | 4230-5401079 | Пояс нижний | |
| 44 | 4230-110-5401079 | Пояс нижний | |
| 45 | 4230-5401196 | Стойка боковины | |
| 46 | 4230-110-5401197 | Стойка боковины левая | |
| 47 | 4230-110-5401196 | Стойка боковины правая | |
| 48 | 4230-03-5401106 | Раскос арки | |
| 49 | 4230-5401201 | Пояс | |
| 49 | 4230-110-5401126 | Пояс проема задней пассажирской двери нижний | |
| 50 | 4230-5401114 | Пояс | |
| 51 | 4230-5401108 | Усилитель ниши колеса | |
| 52 | 4230-5401190 | Стойка боковины нижняя | |
| 53 | 4230-5401192 | Стойка боковины нижняя | |
| 54 | 4230-5401050 | Пояс нижний | |
| 54 | 4230-03-5401037 | Пояс нижний задний | |
| 54 | 4230-03-5401035 | Пояс нижний передний | |
| 54 | 4230-5401052 | Пояс нижний ящика средний | |
| 55 | 4230-5401028 | Пояс средний правый | |
| 55 | 4230-03-5401028 | Пояс средний правый | |
| 56 | 4230-5401116 | Пояс | |
| 57 | 4230-03-5401104 | Раскос арки | |
| 58 | 4230-5401230 | Пояс | |
| 59 | 4230-5401202 | Пояс | |
| 59 | 4230-110-5401127 | Пояс проема передней пассажирской двери нижний | |
| 60 | 4230-110-5401448 | Стойка боковины передняя | |
| 61 | 4230-5401146 | Стойка боковины передняя правая | |
| 61 | 4230-110-5401146 | Стойка боковины передняя правая | |
| 62 | 4230-110-5401019 | Пояс проема пассажирской двери верхний | |
| 63 | 4230-5401041 | Пояс | |
| 63 | 4230-110-5401042 | Пояс правой боковины | |
| 64 | 3205-5401230 | Косынка стойки | |
| 65 | 4230-110-5401410 | Пояс проема окна верхний | |
| 66 | 4230-5401100 | Раскос | |
| 67 | 4230-5401180 | Стойка боковины верхняя | |
| 68 | 4230-5401166 | Стойка боковины средняя | |
| 68 | 4230-03-5401166 | Стойка боковины средняя | |
| 69 | 4230-5401024 | Пояс подоконный правый | |
| 70 | 4230-5401168 | Стойка боковины средняя | |
| 70 | 4230-03-5401168 | Стойка боковины средняя | |
| 71 | 4230-5401170 | Стойка боковины средняя | |
| 72 | 3205-5401018-20 | Пояс проема пассажирской двери верхний в сборе | |
| 73 | 4230-5401039 | Пояс правой боковины | |
| 73 | 4230-110-5401440 | Пояс проема двери верхний | |
| 74 | 4230-110-6201086 | Кожух проема задней двери левый | |
| 75 | 4230-110-6201084 | Кожух проема задней двери правый | |
| 75 | 4230-110-03-6201084 | Кожух проема задней двери правый | |
| 76 | 4230-110-6101082 | Кожух проема передней двери левый | |
| 76 | 4230-110-03-610108.2 | Кожух проема передней двери левый | |
| 77 | 4230-110-6101034 | Профиль стойки передней пассажирской двери нижний | |
| 78 | 4230-110-5401460 | Панель боковины правая верхняя наружная | |
| 79 | 4230-110-5401480 | Панель верхняя внутренняя | |
| 80 | 4230-110-5401482 | Панель верхняя правая задняя внутренняя | |
| 81 | 4230-110-5401472 | Панель боковины правая верхняя задняя | |
| 82 | 3205-6203010-20 | Стекло окна боковой задней двери | |
| 82 | 4230-5403010 | Стекло правой боковины заднее | |
| 83 | 3205-6203012-21 | Уплотнитель окна боковой задней двери | |
| 84 | 3205-6203018 | Замок уплотнителя окна боковой задней двери | |
| 85 | 3205-5403110 | Стекло аварийного окна | |
| 85 | 4230-5403024 | Стекло окна боковины неподвижное | |
| 86 | 3205-5403080-01 | Уплотнитель окна боковины | |
| 87 | 3205-5403082 | Замок уплотнителя окна боковины | |
| 88 | 4230-5401310 | Прокладка |
Содержащиеся в справочниках-каталогах запасные части и детали не предлагаются к продаже, а носят исключительно информационный характер