Вернуться на главную
Поиск
Каталоги запчастей к технике
Спецтехника
ЗЗГТ
ГАЗ-3409 (Бобр)
Ремни безопасности, противосолнечный козырёк
Каталог запасных частей к технике: ЗЗГТ ГАЗ-3409 (Бобр). Ремни безопасности, противосолнечный козырёк
zoom-in
zoom-out
enlarge
shrink
circle-right
circle-left
file-text2
info
cart
Тип техники
Не выбрано
Легковые автомобили
Грузовые автомобили и прицепы
Автобусы
Сельхозтехника
Спецтехника
Двигатели
Мототехника
Марка
Не выбрано
Ammann
BOMAG
CARMIX
CASE IH
Changlin
ChengGong
Dimex
Doosan
DYNAPAC
Foton
HAMM
Hidromek
Hitachi
Hyundai
JCB
JLG
John Deere
Komatsu
LIEBHERR
LiuGong
Lonking (LongGong)
Luneng
MANITOU
Mitsuber
New Holland
PENGPU
RM-Terex
SANY
SDLG
SEM
Shantui
Shehwa HBXG
Soosan
TIGARBO
VOGELE
Volvo
WAY
WIRTGEN
XCMG
XGMA
Xiamen
YTO
Yuchai
Zoomlion
Автокран
АЗСМ
Алтайлесмаш
Амкодор
АОМЗ
Атек
АТЗ
Балканкар Рекорд
БелАЗ
Беловеж
Борекс
Брянский Арсенал
Булат
ВЭКС
ГАЗ
Геомаш
Гидромаш
Донекс
Дормаш
Дормашина
Дорэлектромаш
ДЭЗ
ЕлАЗ
ЗЗГТ
Ижнефтемаш
Канаш-электрокар
КЗКТ
ККЗ
Клевер
Клинцовский автокрановый завод
КМЗ
КМЗ 1 Мая
Ковровец
Коммаш
Кранэкс
КЭЗ
КЭМЗ
ЛЗА
МАЗ
МЗИК
МЗКМ
МЗКТ
Михневский РМЗ
МоАЗ
Мозырский МЗ
МТЗ
ОЗП
Онежец
ПАО "ТЗА"
ППС Детва
Промтрактор
ПТЗ
Раскат
СпецАгрегат
ТВЭКС
ТТМ
УВЗ
Угличмаш
УЗТМ
ХТЗ
ЧЗКМ
ЧСДМ
ЧТЗ
ЭКСКО
ЭКСМАШ
ЮрМаш
Модель
Не выбрано
ГАЗ-34039 (Ирбис) (2015)
ГАЗ-3409 (Бобр) (2016)
ГАЗ-71
Дополнение к ГАЗ-3403
Схема
>
Не выбрано
Кузов
Ограждение капота(кенгуринг), капот
Ветровое стекло, декоративные накладки, стеклоочиститель, стеклоомыватель
Приборная панель (торпеда), обивка передних стоек изнутри
Рулевая колонка
Кожух для плава
Дверь передняя
Окно, уплотнитель
Зеркала заднего вида
Стеклоподъёмники
Обивка, ручки
Замки, петли
Остекление салона, уплотнители
Обивка потолка, обивка боковых средних стоек
Сиденья передние
Сиденья боковые, рундуки
Люки пола
Покрытие пола
Ремни безопасности, противосолнечный козырёк
Поручни, крышка топливозаливной горловины
Дверь задняя
Обивка задней части
Передние буксирные крюки
Клапан слива воды из корпуса и сливные пробки
Брызговики
Заднее буксирное устройство
Подножка
Силовая установка
Передние опоры и кронштейн
Задняя опора
Топливные баки
Вентиляция топливного бака
Топливопровод
Топливный фильтр
Воздушный фильтр
Охладитель наддувочного воздуха
Выпуск отработавших газов
Основной радиатор охлаждения и расширительный бачок
Трубопроводы , шланги, дополнительный отопитель, жидкостный подогреватель Webasto
Привод вентилятора, кожух, кронштейн
Редуктор вентилятора
Разное
Система смазки
Модуль педальный системы управления двигателем
Кронштейн педали, педаль
Главный цилиндр сцепления
Механизм переключения передач
Карданный вал
Механизм поворота (главная и дополнительная передачи, тормоза и фрикционы)
Первичный вал
Вал ведомый и ведущий
Картер главной передачи
Тормоза
Фрикционы
Управление дополнительной передачей
Верхняя часть
Вакуумный усилитель с цилиндром
Вакуумный баллон
Полуоси, крепление бортовой передачи
Бортовая передача и ведущие колёса
Редуктор датчика скорости правой бортовой передачи
Балансир и отбойник
Торсионный вал
Амортизаторы передние и задние
Подвеска направляющего колеса и устройство натяжения гусеницы
Опорный каток
Направляющее колесо
Гусеница движителя
Подвесные ролики
Снегоочиститель
Аккумуляторные батареи
Устройства осветительной и световой сигнализации, звуковой сигнал
Плафоны внутреннего освещения
Электропроводка кузова, реле, датчик скорости
Трюмной электронасос
Электрооборудование двигателя
Электроприводы крышек капота
Инструмент и принадлежности
Укладка
Приспособление для выпрессовки пальца гусеницы
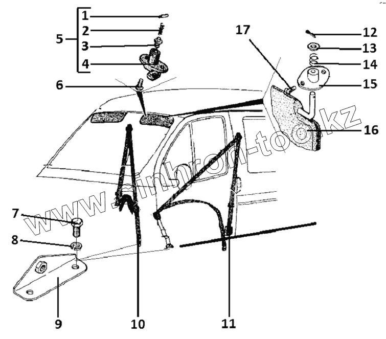
1
2
3
4
5
6
7
8
9
10
11
12
13
14
15
16
17
Позиция на иллюстрации
Заводской номер детали
Название детали
1
258919-П29
Штифт
2
12-1310225
Пружина
3
3102-8204142
Ползун фиксатора
4
3102-8204136
Корпус фиксатора
5
3102-8204130
Фиксатор в сборе
6
290305
Винт
7
201495-П29
Болт
8
252156-П2
Шайба
9
3302-8217807
Кронштейн ремня безопасности
10
13-3296000
Ремень безопасности правый
11
13-3299000
Ремень безопасности левый
12
258012-П29
Шплинт
13
252004-П29
Шайба
14
30-8204046
Пружина оси
15
4301-8204032
Кронштейн
16
3302-8204010-01
Козырёк противосолнечный
17
290479
Винт
Содержащиеся в справочниках-каталогах запасные части и детали не предлагаются к продаже, а носят исключительно информационный характер
Дополнительная информация
×
Название:
Номер:
Примечание: