Каталог запасных частей к технике: ЗЗГТ ГАЗ-34039 (Ирбис). Ветровое стекло, декоративные накладки, стеклоочиститель, стеклоомыватель
1
1
2
4
5
6
7
8
9
10
11
11
11
11
12
12
12
13
14
15
15
15
16
17
18
19
20
21
21
22
23
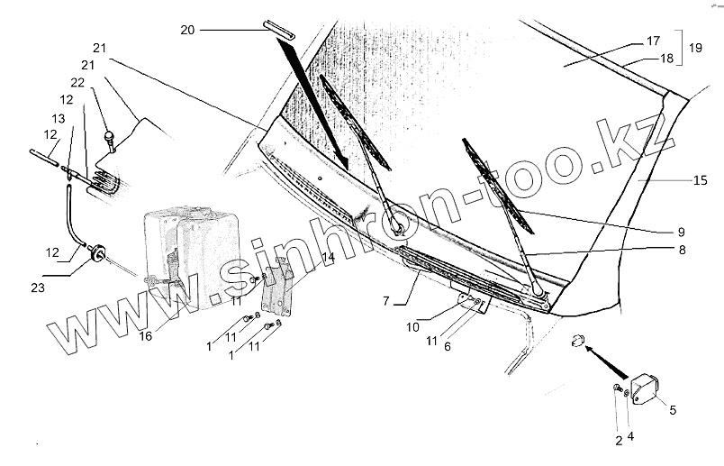
| Позиция на иллюстрации | Заводской номер детали | Название детали | |
|---|---|---|---|
| 1 | 201415-П29 | Болт | |
| 2 | 201420-П29 | Болт | |
| 3 | 250510-П29 | Гайка | |
| 4 | 252155-П2 | Шайба | |
| 5 | 528.3747.000-01 | Реле стеклоочистителя | |
| 6 | 70.5205000 | Стеклоочиститель электрический | |
| 7 | 70.5205100 | Привод | |
| 8 | 60.5205800 | Рычаг | |
| 9 | 49.5205900 | Щётка стеклоочистителя | |
| 10 | 201416-П29 | Болт | |
| 11 | 252134-П2 | Шайба | |
| 12 | 31012-5208097 | Трубка | |
| 13 | 24-520819002 | Тройник | |
| 14 | 4301-5208116 | Держатель бачка омывателя | |
| 15 | 3302-5301648-10 | Облицовка ветрового стекла правая | |
| 15 | 3302-5301649-10 | Облицовка ветрового стекла левая | |
| 16 | 1202.5208000 | Омыватель электрический | |
| 17 | 3302-5206008 | Стекло ветрового окна | |
| 18 | 3302-5206050 | Уплотнитель стекла ветрового окна | |
| 19 | 3302-5206008 | Стекло ветрового окна | |
| 20 | 3302-5206056 | Упор стекла ветрового окна | |
| 21 | 3302-5301228-10 | Облицовка ветрового стекла нижняя | |
| 22 | 11520850001 | Жиклер в сборе | |
| 23 | 215208150 | Втулка уплотнительная |
Содержащиеся в справочниках-каталогах запасные части и детали не предлагаются к продаже, а носят исключительно информационный характер