Вернуться на главную
Поиск
Каталоги запчастей к технике
Спецтехника
Zoomlion
ZLJ5500V3
ENGINE (AIR CYLINDER) D1000000182_102290Y
Каталог запасных частей к технике: Zoomlion ZLJ5500V3. ENGINE (AIR CYLINDER) D1000000182_102290Y
zoom-in
zoom-out
enlarge
shrink
circle-right
circle-left
file-text2
info
cart
Тип техники
Не выбрано
Легковые автомобили
Грузовые автомобили и прицепы
Автобусы
Сельхозтехника
Спецтехника
Двигатели
Мототехника
Марка
Не выбрано
Ammann
BOMAG
CARMIX
CASE IH
Changlin
ChengGong
Dimex
Doosan
DYNAPAC
Foton
HAMM
Hidromek
Hitachi
Hyundai
JCB
JLG
John Deere
Komatsu
LIEBHERR
LiuGong
Lonking (LongGong)
Luneng
MANITOU
Mitsuber
New Holland
PENGPU
RM-Terex
SANY
SDLG
SEM
Shantui
Shehwa HBXG
Soosan
TIGARBO
VOGELE
Volvo
WAY
WIRTGEN
XCMG
XGMA
Xiamen
YTO
Yuchai
Zoomlion
Автокран
АЗСМ
Алтайлесмаш
Амкодор
АОМЗ
Атек
АТЗ
Балканкар Рекорд
БелАЗ
Беловеж
Борекс
Брянский Арсенал
Булат
ВЭКС
ГАЗ
Геомаш
Гидромаш
Донекс
Дормаш
Дормашина
Дорэлектромаш
ДЭЗ
ЕлАЗ
ЗЗГТ
Ижнефтемаш
Канаш-электрокар
КЗКТ
ККЗ
Клевер
Клинцовский автокрановый завод
КМЗ
КМЗ 1 Мая
Ковровец
Коммаш
Кранэкс
КЭЗ
КЭМЗ
ЛЗА
МАЗ
МЗИК
МЗКМ
МЗКТ
Михневский РМЗ
МоАЗ
Мозырский МЗ
МТЗ
ОЗП
Онежец
ПАО "ТЗА"
ППС Детва
Промтрактор
ПТЗ
Раскат
СпецАгрегат
ТВЭКС
ТТМ
УВЗ
Угличмаш
УЗТМ
ХТЗ
ЧЗКМ
ЧСДМ
ЧТЗ
ЭКСКО
ЭКСМАШ
ЮрМаш
Модель
Не выбрано
33X-4Z
47X-5RZ
K56X-6RZ
PL2304 (2021)
QUY260CR-32Y
QY55V53232Z
RN (90-110 л.с.)
RS (2021)
RT-100 (2013)
RT-35 (2013)
RT-55 (2013)
RT-551 (4x4) (2013)
RT-75 (2013)
ZCC1100H (2014)
ZD160T(S,SH, CS)-3 (2012)
ZE205E (2013)
ZLJ5480JQZV3 (2013)
ZLJ5500V3 (2013)
ZLJ5550JQZV3.2 (2016)
ZT20J (2019)
ZT68J (2019)
Схема
>
Не выбрано
ZLJ5500V3 SPECIAL PURPOSE CHASSIS FOR TRUCK CRANE D00672300000000000Y
INTERCOOLING SYSTEM D00672300900000000Y
ENGINE AND SUSPENSION SYSTEM D00672301000000000Y
FUEL SUPPLY SYSTEM D00672301100000001Y
FUEL COARSE FILTER PRE-ASSEMBLED D00671441100200000Y
FUEL TANK (300L) D00671521100200001_101021Y
AIR INTAKE SYSTEM D00672301400000000Y
EXHAUST SYSTEM D00672301200000000Y
RAINPROOF CAP ASSY D00671701210200000Y
COOLING SYSTEM D00672301300000000Y
CLUTCH INSTALLATION AND ITS CONTROLS D00672301600000000Y
CLUTCH ASSY D1030500086_102314Y
102 TYPE CLUTCH BOOSTER CYLINDER D1010200010_102345Y
TRANSMISSION INSTALLATION AND ITS CONTROLS D00672301700000000Y
TRANSMISSION (CLUTCH AND TRANSMISSION SHELL ASSY) D1030300100_101250Y
TRANSMISSION (AXLE 2 ASSY) D1030300100_101250Y
TRANSMISSION (LEFT,RIGHT AND INTERMEDIATE SHAFT ASSY) D1030300100_101250Y
TRANSMISSION (AXLE 1 ASSY) D1030300100_101250Y
TRANSMISSION (REVERSE GEAR, INTERMEDIATE SHAFT ASSY) D1030300100_101250Y
TRANSMISSION (UPPER COVER ASSY) D1030300100_101250Y
TRANSMISSION (CONTROL DEVICE ASSY) D1030300100_101250Y
TRANSMISSION (AIR FILTER AND THREADED PLUG ASSY) D1030300100_101250Y
TRANSMISSION (AUXILIARY TANK DRIVE GEAR ASSY) D1030300100_101250Y
TRANSMISSION (AUXILIARY TANK MAIN SHAFT ASSY) D1030300100_101250Y
TRANSMISSION (AUXILIARY TANK LEFT,RIGHT AND INTERMEDIATE SHAFT) D1030300100_101250Y
TRANSMISSION (REAR COVER ASSY) D1030300100_101250Y
TRANSMISSION (AIR CYLINDER ASSY., AUXILIARY TANK) D1030300100_101250Y
TRANSMISSION (QD70 PTO ASSY) D1030300100_101250Y
DRIVE SHAFT ARRANGMENT, HANDE AXLE D00672302200000000Y
DRIVE SHAFT SECTION D00672302200200000_100009Y
DRIVE SHAFT SECTION 2 ASSY D00671532230400000_100009Y
DRIVE SHAFT SECTION 3 ASSY D00676602230600000_100009Y
AXLE 1 ASSY D00672303000200001Y
NON-DRIVEN AXLE (STEERED) D1030100752_102293Y
AXLE 2 ASSY D00672303000400001Y
NON-DRIVEN AXLE (STEERED) D1030100753_102293Y
DRIVE AXLE PRE-ASSEMB ED, NON-STEERED, HANDE INTERMEDIATE AXLE D00672302500000000Y
DRIVE AXLE (INTERMEDIATE AXLE SHELL) D1030100715_102293Y
DRIVE AXLE (INTERMEDIATE AXLE DRIVE DEVICE 1) D1030100715_102293Y
DRIVE AXLE (INTERMEDIATE AXLE DRIVE DEVICE 2) D1030100715_102293Y
DRIVE AXLE (INTERMEDIATE AXLE DRIVE DEVICE 3) D1030100715_102293Y
DRIVE AXLE PRE-ASSEMBLED, NON-STEERED,HANDE REAR AXLE D00672302400000000Y
DRIVE AXLE (REAR AXLE SHELL) D1030100716_102293Y
DRIVE AXLE (REAR AXLE DRIVE DEVICE) D1030100716_102293Y
DRIVE AXLE (WHEEL PLANETARY REDUCER 1) D1030100716_102293Y
DRIVE AXLE (WHEEL PLANETARY REDUCER 2) D1030100716_102293Y
DRIVE AXLE (BRAKE 1) D1030100716_102293Y
DRIVE AXLE (BRAKE 2) D1030100716_102293Y
WHEEL ASSY D00672303100000000Y
WHEEL ASSY D00672303100200000Y
WHEEL D00670603100000000Y
FRONT SUSPENSION D00672302900200001Y
LEAF SPRING ASSY D00672302900230000_101324Y
REAR SUSPENSION D00676602900400000Y
REAR LEAF SPRING ASSY D00676602900440001_101324Y
BALANCE BEAM ASSY D00676602900470001Y
STEERING MECHANISM D00672303400200000Y
STEERING GEAR D1032300052_100000Y
STEERING HYDRAULIC SYSTEM D00672303400400001Y
OIL STEERING RESERVOIR D00672303400410001Y
AIR CONDITIONING D00672307600000000Y
HEATER D00671407700000000Y
AIR BRAKE SYSTEM (FRONT AXLE BRAKE) D00672303500000002Y
AIR BRAKE SYSTEM (INTERMEDIATE AXLE AND REAR AXLE BRAKE) D00672303500000002Y
AIR BRAKE SYSTEM (EMERGENCY BRAKE) D00672303500000002Y
AIR BRAKE SYSTEM (AUXILIARY BRAKE) D00672303500000002Y
AIR RESERVOIR AND VALVE BLOCK INSTALATION D00671563500200000Y
AUXILIARY ELEMENT INSTALLATION, CHASSIS FRAME D00672302700000000Y
ENGINE HOUSING ASSY D00672305100000000Y
PLATFORM ASSY D00672305600000000Y
FRONT PLATFORM ASSY D00672305600200000Y
INTERMEDIATE COVER PLATE ASSY D00672305600400000Y
FRONT INTERMEDIATE PLATFORM ASSY D00672305600600000Y
REAR INTERMEDIATE PLATFORM ASSY D00672305600800000Y
REAR PLATFORM ASSY D00672305601000000Y
GUARAD BOARD D00672305601400000Y
WALL PANEL AND ITS INSTALLATION D00672305800000000Y
SPARE TIRE INSTALLATION D00672305500000000Y
TOOLBOX ASSY D00672309400000000Y
HYDRAULIC OIL TANK D00631323000000000Y
RETURN-LINE FILTER D1010600009_101281Y
RETURN-LINE FILTER D1010600009_101375Y
RETURN-LINE FILTER D1010600009_102124Y
HYDRAULIC RESERVOIR INSTALLATION D00631324800400000Y
LEVEL GAUGE INSTALLATION D00631224720200000Y
BOOM SUPPORT D00631320300000000Y
OIL PUMP DRIVE DEVICE D00631323900000001Y
OIL PUMP DRIVE DEVICE D00631323910000000Y
VARIABLE PUMP A4VG125EP4X-NAF02K023EP D1010000709_32793Y
THE 5TH OUTRIGGER AND ITS INSTALLATION D00631321100000000Y
OUTRIGGER D00633101300000000Y
THE 5TH OUTRIGGER CYLINDER D00631418421400000Y
OUTRIGGER OPERATING MECHANISM D00631255810000000Y
DRIVER'S CAB INSTA LATION D00671554900000000Y
DRIVER'S CAB (FRONT AND REAR WINDSHIELD) D1130000215_100037Y
DRIVER'S CAB (DECORATIVE PLATE AND ACCESSORIES) D1130000215_100037Y
DRIVER'S CAB (DOUBLE SEAT) D1130000215_100037Y
DRIVER'S CAB (PERFACE AND PART INTERIOR DECORATIVES) D1130000215_100037Y
DRIVER'S CAB (INSTRUMENT CONSOLE ARRANGMENT) D1130000215_100037Y
DRIVER'S CAB (INSTRUMENT CONSOLE ELECTRIC MOUNTING ASSY) D1130000215_100037Y
DRIVER'S CAB (DRIVER'S CAB ASSY 1) D1130000215_100037Y
DRIVER'S CAB (DRIVER'S CAB ASSY 2) D1130000215_100037Y
DRIVER'S CAB (DRIVER'S CAB ASSY 3) D1130000215_100037Y
DRIVER'S CAB (DRIVER'S CAB ASSY 4) D1130000215_100037Y
DRIVER'S CAB (WIPER SYSTEM) D1130000215_100037Y
DRIVER'S CAB (DOOR) D1130000215_100037Y
DRIVER'S CAB (BUMPER) D1130000215_100037Y
DRIVER'S CAB (CLUTCH) D1130000215_100037Y
DRIVER'S CAB (AIR PASSAGE ASSY) D1130000215_100037Y
DRIVER'S CAB (BUMPER,WHEEL COVER AND ACCESSORIES) D1130000215_102383ZY
DRIVER'S CAB (STEERING DRIVE DEVICE ACCESSORIES ) D1130000215_102383ZY
DRIVER'S CAB (DOOR ASSY) D1130000215_102383ZY
DRIVER'S CAB (DRIVER'S CAB WELDED ASSY AND PART INTERIOR DECORATIONS) D1130000215_102383ZY
DRIVER'S CAB (CLUTCH SYSTEM) D1130000215_102383ZY
DRIVER'S CAB (INSTRUMENT CONSOLE AND ACCESSORIES) D1130000215_102383ZY
DRIVER'S CAB (CARPET ASSY AND ACCESSORIES) D1130000215_102383ZY
DRIVER'S CAB (HEAT INSULATION PAD ASSY) D1130000215_102383ZY
DRIVER'S CAB (OUTSIDE MIRROR AND ROD ASSY) D1130000215_102383ZY
DRIVER'S CAB (SWITCH ASSY) D1130000215_102383ZY
DRIVER'S CAB (INTERIOR DECORATIVE PLATE AND ACCESSORIES ASSY) D1130000215_102383ZY
DRIVER'S CAB (INTERIOR DECORATIVE IRON BRACKET) D1130000215_102383ZY
DRIVER'S CAB (HEATER AND ACCESSORIES) D1130000215_102383ZY
DRIVER'S CAB (WINDSHIELD ASSY) D1130000215_102383ZY
DRIVER'S CAB (CABLE HARNESS ASSY) D1130000215_102383ZY
DRIVER'S CAB (WIPER SYSTEM) D1130000215_102383ZY
DRIVER'S CAB (BRAKE SYSTEM) D1130000215_102383ZY
DRIVER'S CAB (SEAT ASSY) D1130000215_102383ZY
CENTRAL REVOLVING JOINT D1011200023_6400Y
CENTRE REVOLVING JOINT INSTALLATION D00631324800800000Y
ELECTRICAL SYSTEM, CHASSIS FRAME D00672306300000000Y
CABLE BUNDLE OF CHASSIS FRAME D00672306300200004Y
CABLE BUNDLE OF ECU D00672306300400003Y
CABLE BUNDLE OF ENGINE D00672306300600002Y
CABLE BUNDLE OF RIGHT PLATFORM ASSY D00672306300800001Y
CABLE BUNDLE OF LEFT PLATFORM ASSY D00672306301000001Y D00630960000000000Y
PIPE LAYOUT – UNDERCARRIAGE HYDRAULIC SYSTEM (HYDRAULIC OIL TANK PARTS) D00631321710000000Y
PIPE LAYOUT – UNDERCARRIAGE HYDRAULIC SYSTEM (QUADRUPLE GEAR PUMP PARTS) D00631321710000000Y
PIPE LAYOUT – UNDERCARRIAGE HYDRAULIC SYSTEM (FRONT HORIZONTAL CYLINDER PARTS) D00631321710000000Y
PIPE LAYOUT – UNDERCARRIAGE HYDRAULIC SYSTEM (REAR HORIZONTAL CYLINDER PARTS) D00631321710000000Y
PIPE LAYOUT – UNDERCARRIAGE HYDRAULIC SYSTEM (THE 5TH OUTRIGGER PARTS) D00631321710000000Y
UNDERCARRIAGE MULTIPLE UNIT VALVE D1010300042_6500Y
UNDERCARRIAGE MULTIPLE UNIT VALVE (RELIEF VALVE) D1010300042_6500Y
UNDERCARRIAGE MULTIPLE UNIT VALVE (CHECK VALVE) D1010300042_6500Y
UNDERCARRIAGE MULTIPLE UNIT VALVE (OVERLOAD VALVE) D1010300042_6500Y
PIPE LAYOUT – UNDERCARRIAGE HYDRAULIC SYSTEM (HYDRAULIC OIL TANK PARTS) D00631321700000002Y
PIPE LAYOUT – UNDERCARRIAGE HYDRAULIC SYSTEM (QUADRUPLE GEAR PUMP PARTS) D00631321700000002Y
PIPE LAYOUT – UNDERCARRIAGE HYDRAULIC SYSTEM (FRONT HORIZONTAL CYLINDER PARTS) D00631321700000002Y
PIPE LAYOUT – UNDERCARRIAGE HYDRAULIC SYSTEM (THE 5TH OUTRIGGER PARTS) D00631321700000002Y
PIPE LAYOUT – UNDERCARRIAGE HYDRAULIC SYSTEM (REAR HORIZONTAL CYLINDER PARTS) D00631321700000002Y
UNDERCARRIAGE MULTIPLE UNIT VALVE D1010300042_6500Y
UNDERCARRIAGE MULTIPLE UNIT VALVE (RELIEF VALVE) D1010300042_6500Y
UNDERCARRIAGE MULTIPLE UNIT VALVE (CHECK VALVE) D1010300042_6500Y
UNDERCARRIAGE MULTIPLE UNIT VALVE (OVERLOAD VALVE) D1010300042_6500Y
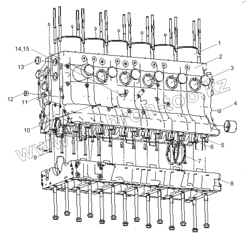
ENGINE (AIR CYLINDER) D1000000182_102290Y
ENGINE (AIR CYLINDER) D1000000182_102290Y
ENGINE (AIR CYLINDER) D1000000182_102290Y
ENGINE (AIR CYLINDER) D1000000182_102290Y
ENGINE (AIR CYLINDER) D1000000182_102290Y
ENGINE (AIR CYLINDER) D1000000182_102290Y
ENGINE (AIR CYLINDER) D1000000182_102290Y
ENGINE (CAMSHAFT FLYWHEEL) D1000000182_102290Y
ENGINE (CONNECTING ROD AND PISTON ASSY) D1000000182_102290Y
ENGINE (CONNECTING ROD AND PISTON ASSY) D1000000182_102290Y
ENGINE (CONNECTING ROD AND PISTON ASSY) D1000000182_102290Y
ENGINE (COVER) D1000000182_102290Y
ENGINE (VALVE MECHANISM) D1000000182_102290Y
ENGINE (VALVE MECHANISM) D1000000182_102290Y
ENGINE (VALVE MECHANISM) D1000000182_102290Y
ENGINE (VALVE MECHANISM) D1000000182_102290Y
ENGINE (VALVE MECHANISM) D1000000182_102290Y
ENGINE (VALVE MECHANISM) D1000000182_102290Y
ENGINE (VALVE MECHANISM) D1000000182_102290Y
ENGINE (VALVE MECHANISM) D1000000182_102290Y
ENGINE (VALVE MECHANISM) D1000000182_102290Y
ENGINE (VALVE MECHANISM) D1000000182_102290Y
ENGINE (VALVE MECHANISM) D1000000182_102290Y
ENGINE (VALVE MECHANISM) D1000000182_102290Y
ENGINE (WATER PUMP AND FAN) D1000000182_102290Y
ENGINE (WATER PUMP AND FAN) D1000000182_102290Y
ENGINE (WATER PUMP AND FAN) D1000000182_102290Y
ENGINE (WATER PUMP AND FAN) D1000000182_102290Y
ENGINE (WATER PUMP AND FAN) D1000000182_102290Y
ENGINE (OIL PUMP AND OIL FILTER) D1000000182_102290Y
ENGINE (OIL PUMP AND OIL FILTER) D1000000182_102290Y
ENGINE (OIL PUMP AND OIL FILTER) D1000000182_102290Y
ENGINE (OIL SUPPLY SYSTEM) D1000000182_102290Y
ENGINE (OIL SUPPLY SYSTEM) D1000000182_102290Y
ENGINE (OIL SUPPLY SYSTEM) D1000000182_102290Y
ENGINE (MOTOR) D1000000182_102290Y
ENGINE (MOTOR) D1000000182_102290Y
ENGINE (MOTOR) D1000000182_102290Y
ENGINE (MOTOR) D1000000182_102290Y
ENGINE (AIR-INTAKE SYSTEM AND EXHAUST SYSTEM) D1000000182_102290Y
ENGINE (AIR-INTAKE SYSTEM AND EXHAUST SYSTEM) D1000000182_102290Y
ENGINE (AIR-INTAKE SYSTEM AND EXHAUST SYSTEM) D1000000182_102290Y
ENGINE (AIR-INTAKE SYSTEM AND EXHAUST SYSTEM) D1000000182_102290Y
ENGINE (AIR-INTAKE SYSTEM AND EXHAUST SYSTEM) D1000000182_102290Y
ENGINE (AIR-INTAKE SYSTEM AND EXHAUST SYSTEM) D1000000182_102290Y
ENGINE (AIR COMPRESSOR) D1000000182_102290Y
ENGINE (AIR COMPRESSOR) D1000000182_102290Y
ENGINE (OIL PAN) D1000000182_102290Y
ENGINE (OIL PAN) D1000000182_102290Y
ENGINE (OIL PAN) D1000000182_102290Y
ENGINE (OIL PAN) D1000000182_102290Y
ENGINE (CABLE HARNESS AND SENSOR) D1000000182_102290Y
1
2
3
4
5
6
7
8
9
10
11
12
13
14
15
Позиция на иллюстрации
Заводской номер детали
Название детали
1
1009802229
Air cylinder sleeve
2
1009802224
Air cylinder
3
1009802450
Bowl type patch
4
1009802451
Bowl type patch
5
1009802475
Cylindrical pin
6
1009801393
Allen screw
7
1009802498
Thrust plate assembly
8
1009802250
Camshaft box
9
1009802197
Hex bolt
10
1009802470
Double-ended bolt
11
1009802192
Hex plug
12
1009900266
Bowl type patch
13
1009802449
Bowl type patch
14
1009801527
Seal ring
15
1009801275
Hex plug
Содержащиеся в справочниках-каталогах запасные части и детали не предлагаются к продаже, а носят исключительно информационный характер
Дополнительная информация
×
Название:
Номер:
Примечание: