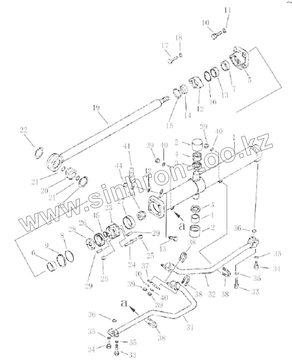
Каталог запасных частей к технике: Zoomlion ZD160T(S,SH, CS)-3. Цилиндр подъема лопаты бульдозера
004904063A0400000
004904063A0201080
004904063A0201090
004904063A0200000
1
1
1
1
2
2
3
3
4
4
5
6
7
8
9
10
11
12
13
14
15
16
17
18
19
20
21
21
22
22
23
24
25
25
26
27
28
29
29
30
31
31
31
31
32
32
32
32
33
33
34
34
35
35
35
35
36
36
37
38
38
38
38
39
39
39
39
40
40
40
40
41
42
43
44
45
| Позиция на иллюстрации | Заводской номер детали | Название детали | |
|---|---|---|---|
| 004904063A0400000 | 004904063A0400000 | Цилиндр подъема лопаты | |
| 004904063A0201080 | 004904063A0201080 | Скользящее кольцо | |
| 004904063A0201090 | 004904063A0201090 | Верхне-заднее кольцо | |
| 004904063A0200000 | 004904063A0200000 | Цилиндр подъема лопаты | |
| 1 | 004904163A0420000 | Корпус цилиндра | |
| 1 | 004904163A0230000 | Корпус цилиндра | |
| 1 | 004904063A0230000 | Корпус цилиндра | |
| 1 | 004904063A0420000 | Корпус цилиндра | |
| 2 | 004904059A0001030 | Втулка | |
| 3 | 004904059A0001050 | Каркасный пылеотражатель | |
| 4 | 004904059A0001040 | Втулка | |
| 5 | 004904063A0201030 | Головка цилиндра | |
| 6 | 1999901613 | Втулка | |
| 7 | 004904063A0201020 | Уплотнительное кольцо поршневого стрежня | |
| 8 | 1081000108 | О-кольцо 110x3.1 | |
| 9 | 1999901544 | Защитное кольцо | |
| 10 | 1040000556 | Bolt | |
| 11 | 1040300038 | Washer | |
| 12 | 004904063A0201010 | Нажимная крышка | |
| 13 | 1999901612 | Втулка | |
| 14 | 004904063A0210000 | Пылеотражатель | |
| 15 | 1999901614 | Разрезное кольцо | |
| 16 | 1081000082 | О-кольцо 85x3.1 | |
| 17 | 1040000928 | Bolt | |
| 18 | 1040300068 | Washer | |
| 19 | 004904063A0240000 | Поршневой стержень | |
| 20 | 1050000346 | Шарнирный подшипник | |
| 21 | 1081001681 | О-кольцо 46x3.5 | |
| 22 | 1040300019 | Борткольцо 90 | |
| 23 | 004904063A0260000 | Комплект поршневого клапана | |
| 24 | 004904063A0261030 | Клапанный сердечник | |
| 25 | 004904063A0261020 | Клапанное гнездо | |
| 26 | 004904063A0201070 | Заднее кольцо | |
| 27 | 1999901611 | Кольцо заправки | |
| 28 | 004904063A0201060 | Перегородка | |
| 29 | 004904063A0201050 | Штифт | |
| 30 | 004904063A0270000 | Гайка M36x3 | |
| 31 | 004904063A0220000 | Труба | |
| 31 | 004904163A0220000 | Труба | |
| 31 | 004904063A0410000 | Труба | |
| 31 | 004904163A0410000 | Труба | |
| 32 | 004904063A0250000 | Труба | |
| 32 | 004904163A0240000 | Труба | |
| 32 | 004904063A0430000 | Труба | |
| 32 | 004904163A0430000 | Труба | |
| 33 | 1040000112 | Болт M10x60-8.8 | |
| 34 | 1040000068 | Bolt | |
| 35 | 1040300067 | Washer | |
| 36 | 1081001380 | О-кольцо 34.7x3.5 | |
| 37 | 004904063A0201040 | Доска | |
| 38 | 1990200574 | Держатель В Форме U | |
| 39 | 1040200227 | Гайка M10x1.25 | |
| 40 | 1040300067 | Washer | |
| 41 | 004904063A0280000 | Наделка для подвески | |
| 42 | 1040300054 | Washer | |
| 43 | 1040000195 | Болт M12x60-8.8 | |
| 44 | 1040200096 | Nut | |
| 45 | 1081000047 | О-кольцо 40x3.1 |
Содержащиеся в справочниках-каталогах запасные части и детали не предлагаются к продаже, а носят исключительно информационный характер