Вернуться на главную
Поиск
Каталоги запчастей к технике
Спецтехника
Zoomlion
ZCC1100H
30T LOAD HOOK (33 US TON) D00663114200400000_100017Y
Каталог запасных частей к технике: Zoomlion ZCC1100H. 30T LOAD HOOK (33 US TON) D00663114200400000_100017Y
zoom-in
zoom-out
enlarge
shrink
circle-right
circle-left
file-text2
info
cart
Тип техники
Не выбрано
Легковые автомобили
Грузовые автомобили и прицепы
Автобусы
Сельхозтехника
Спецтехника
Двигатели
Мототехника
Марка
Не выбрано
Ammann
BOMAG
CARMIX
CASE IH
Changlin
ChengGong
Dimex
Doosan
DYNAPAC
Foton
HAMM
Hidromek
Hitachi
Hyundai
JCB
JLG
John Deere
Komatsu
LIEBHERR
LiuGong
Lonking (LongGong)
Luneng
MANITOU
Mitsuber
New Holland
PENGPU
RM-Terex
SANY
SDLG
SEM
Shantui
Shehwa HBXG
Soosan
TIGARBO
VOGELE
Volvo
WAY
WIRTGEN
XCMG
XGMA
Xiamen
YTO
Yuchai
Zoomlion
Автокран
АЗСМ
Алтайлесмаш
Амкодор
АОМЗ
Атек
АТЗ
Балканкар Рекорд
БелАЗ
Беловеж
Борекс
Брянский Арсенал
Булат
ВЭКС
ГАЗ
Геомаш
Гидромаш
Донекс
Дормаш
Дормашина
Дорэлектромаш
ДЭЗ
ЕлАЗ
ЗЗГТ
Ижнефтемаш
Канаш-электрокар
КЗКТ
ККЗ
Клевер
Клинцовский автокрановый завод
КМЗ
КМЗ 1 Мая
Ковровец
Коммаш
Кранэкс
КЭЗ
КЭМЗ
ЛЗА
МАЗ
МЗИК
МЗКМ
МЗКТ
Михневский РМЗ
МоАЗ
Мозырский МЗ
МТЗ
ОЗП
Онежец
ПАО "ТЗА"
ППС Детва
Промтрактор
ПТЗ
Раскат
СпецАгрегат
ТВЭКС
ТТМ
УВЗ
Угличмаш
УЗТМ
ХТЗ
ЧЗКМ
ЧСДМ
ЧТЗ
ЭКСКО
ЭКСМАШ
ЮрМаш
Модель
Не выбрано
33X-4Z
47X-5RZ
K56X-6RZ
PL2304 (2021)
QUY260CR-32Y
QY55V53232Z
RN (90-110 л.с.)
RS (2021)
RT-100 (2013)
RT-35 (2013)
RT-55 (2013)
RT-551 (4x4) (2013)
RT-75 (2013)
ZCC1100H (2014)
ZD160T(S,SH, CS)-3 (2012)
ZE205E (2013)
ZLJ5480JQZV3 (2013)
ZLJ5500V3 (2013)
ZLJ5550JQZV3.2 (2016)
ZT20J (2019)
ZT68J (2019)
Схема
>
Не выбрано
ZCC1100HCL CRAWLER CRANE D00663110000000000Z
ZCC1100HCL CRAWLER CRANE D00663110000000000Z
MAIN BOOM ASSY. D00663110100000000Y
MAIN BOOM PIVOT SECTION ASSY. D00663110100400000Y
MAIN BOOM PIVOT SECTION WELDED D00663110100410000Y
ANGLE INDICATOR D00660300101600000Y
MOUNTING CYLINDER D00663118401800000_6400Y
MAIN BOOM HEAD ASSY. D00663110100200000Y
MAIN BOOM HEAD WELDED D00663110100210000Y
NYLON PULLEY ASSY. D00663110100220000Y
INSTALLATION OF ANEMOMETER SUPPORT D00661716605600000Y
TIP BOOM ASSY. D00663110101400000Y
NYLON PULLEY ASSY. D00663110100220000Y
3M MAIN BOOM INTERMEDIATE SECTION ASSY. D00663110100800000Y
3M MAIN BOOM INTERMEDIATE SECTION WELDED D00663110100810000Y
6M MAIN BOOM INTERMEDIATE SECTION ASSY. D00663110101000000Y
6M MAIN BOOM INTERMEDIATE SECTION WELDED D00663110101010000Y
9M MAIN BOOM INTERMEDIATE SECTION ASSY. D00663110101200000Y
9M MAIN BOOM INTERMEDIATE SECTION WELDED D00663110101210000Y
9M MAIN BOOM INTERMEDIATE SECTION A ASSY. D00663110100600000Y
9M MAIN BOOM INTERMEDIATE SECTION A WELDED D00663110100610000Y
MAIN BOOM TILTING-BACK SUPPORT D00663003100200002Y
MAIN BOOM GUY LINES D00663115400200000Y
INSTALLATION OF INTERMEDIATE TENSIONER D00663115400800000Y
MAIN BOOM ASSEMBLY D00663024700400000Y
FIXED JIB D00663110200000000Y
FIXED JIB PIVOT SECTION D00663020200200000Y
FIXED JIB HEAD ASSY. D00663110200200000Y
FIXED JIB HEAD WELDED D00663110200210000Y
RUNNING WHEEL ASSEMBLY D00663020200420000Y
NYLON PULLEY ASSY. D00663110100220000Y
6M FIXED JIB INTERMEDIATE SECTION D00663020200600000Y
FRONT TILTNG-BACK SUPPORT OF FIXED JIB D00663003100600001Y
REAR TILTING-BACK SUPPORT OF FIXED JIB D00663053100200000Y
FA-FRAME D00663117800000000Y
DRIVEN SPROCKET ASSY. D00663117800400000Y
NYLON PULLEY ASSY. D00663110100220000Y
FIXED JIB FRONT GUY LINES D00663115400600000Y
FIXED JIB REAR GUY LINES D00663115400400000Y
INSTALLATION OF SIGNBOARD D00663114700400000Y
INSTALLATION OF SIGNS ON THE BOOM FRAME D00663117000400000Y
ENGINE ASSEMBLY D00663111000000000Y
FUEL SUPPLY SYSTEM D00663111100000000Y
EXHAUST SYSTEM D00663111200000000Y
COOLING SYSTEM D00663111300000000Y
RADIATOR ASSY. D1000300334_100026Y
AIR INTAKE SYSTEM D00663111400000000Y
COMPOUND AIR FILTER ASSY. D1000100012_100007Y
FIXING DEVICE FOR SLEWING TABLE D00663114700200000Y
ROPE SUPPORT INSTALLATION OF SLEWING TABLE FRONT SECTION D00663114701600000Y
ROPE SUPPORT INSTALLATION OF SLEWING TABLE REAR SECTION D00663114701000000Y
COVER PLATE INSTALLATION D00663114700600000Y
FIXATION OF OIL SUCTION PIPE OF MAIN PUMP D00663114701200000Y
INSTALLATION OF NYLON CUSHION BLOCK D00663114700800000Y
INCLINOMETER INSTALLATION D00663604703200000Y
COUNTERWEIGHT ASSEMBLY D00663114900000000Y
COUNTERWEIGHT LIFTING CYLINDER D00663118403700000_6400Y
A-FRAME ASSY. D00663111800000000Y
REAR ANCHORING RODS OF A-FRAME D00663111800200000Y
MOVEABLE PULLEY ASSY. ON A-FRAME D00663031800200000Y
BOARDING INSATLLATION D00663110510200000Y
LEFT HOOD D00663110510210000Y
RIGHT HOOD D00663110510220000Y
FRONT SECTION OF RIGHT HOOD D00663110510230000Y
BASE SEAL PLATE INSTALLATION OF BOARDING D00663110510400000Y
STICKING OF SOUND ABSORPTION COTTON D00663110510610000Y
STICKING OF NONSLIPPING LABEL D00663110510620000Y
GUARD RAIL INSTALLATION D00663110510800000Y
INSTALLATION OF OIL COOLER PROTECTIVE COVER D00663110500600000Y
AIR CONDITIONING D00663117600000000Y
COOLING & HEATING DEVICE D1130100675_100026Y
INSTALLATION OF SIGNS ON SLEWING TABLE D00663117000600000Y
HOISTING WINCH 1 (I) D00663113500200000Y
LOWERING LIMIT SWITCH D00663113500220000Y
LINDER 210 MOTOR+BUCHER BALANCE VALVE D00663113500210000Y
HOISTING WINCH 1 D00663113500400000Y
LINDER 165 MOTOR+BUCHER BALANCE VALVE D00663113500430000Y
WINCH REDUCER D1030201281_100014Y
WINCH REDUCER (PRIMARY PLANET CARRIER ASSY.) D1030201281_100014Y
WINCH REDUCER (SECONDARY PLANET CARRIER ASSY.) D1030201281_100014Y
WINCH REDUCER (THIRD PLANET CARRIER ASSY.) D1030201281_100014Y
HOISTING WINCH 2 (I) D00663113500600000Y
LOWERING LIMIT SWITCH D00663113500220000Y
LINDER 210 MOTOR+BUCHER BALANCE VALVE D00663113500210000Y
HOISTING WINCH 2 D00663113500800000Y
LINDER 165 MOTOR+BUCHER BALANCE VALVE D00663113500430000Y
WINCH REDUCER D1030201281_100014Y
WINCH REDUCER (PRIMARY PLANET CARRIER ASSY.) D1030201281_100014Y
WINCH REDUCER (SECONDARY PLANET CARRIER ASSY.) D1030201281_100014Y
WINCH REDUCER (THIRD PLANET CARRIER ASSY.) D1030201281_100014Y
50T LOAD HOOK (55 US TON) D00663114200200000_100017Y
30T LOAD HOOK (33 US TON) D00663114200400000_100017Y
LOAD HOOK (8T) D00663024200600000_100017Y
LOAD HOOK (8T) D00663024200600000_100018Y
100T LOAD HOOK (110 US TON) D00663114100000000_100017Y
WINCH WITH FREE-FALL FUNCTION D00663113501410001Y
LINDER 105 MOTOR+BUCHER BALANCE VALVE D00663113501010000Y
BRAKE ASSY. D00663113501600000Y
LEFT BRAKE BAND ASSY. D00663113501610000Y
RIGHT BRAKE BAND ASSY. D00663113501620000Y
BRAKE CYLINDER D1010200343_6400Y
DERRICKING PULLEY BLOCK D00663112100000000Y
PULLEY ASSY. D00663000100640002Y
DERRICKING MECHANISM D00663112000000000Y
DERRICKING MOTOR+BALANCE VALVE D00663112000200000Y
PLUNGER MOTOR D1010100003_100025Y
DERRICKING REDUCER D1030201321_100014Y
DERRICKING REDUCER (PRIMARY PLANET CARRIER ASSY.) D1030201321_100014Y
DERRICKING REDUCER (SECONDARY PLANET CARRIER ASSY.) D1030201321_100014Y
RATCHET WHEEL MECHANISM D00663003700000001Y
RATCHET WHEEL CYLINDER D00663307500000001_6400Y
SLEWING MECHANISM D00663114400000000Y
HYDRAULIC MOTOR D1010100076_100033Y
SLEWING REDUCER D1030200565_100013Y
SLEWING RING ASSEMBLY D00663024500000000Y
INSTALLATION OF SIGNS ON THE OPERATOR'S CAB D00663117000200000Y
INSTALLATION OF CAB PEDAL D00663054701000000Y
OPERATOR’S CAB ASSEMBLY D00663110700000000Y
UNDERCARRIAGE CENTRAL SECTION ASSEMBLY D00663112800800000Y
ADDITIONAL SUPPORT INSTALLATION D00663112800620000Y
LEFT CRAWLER CARRIER ASSY. D00663112400000000Y
TRAVELING MOTOR D1030200742_100033Y
TRAVELING REDUCER D1030200733_100013Y
TRAVELING REDUCER D1030200733_100014Y
TRAVELING REDUCER (PRIMARY PLANET CARRIER ASSY.) D1030200733_100014Y
TRAVELING REDUCER (SECONDARY PLANET CARRIER ASSY.) D1030200733_100014Y
TRAVELING REDUCER (THIRD PLANET CARRIER ASSY.) D1030200733_100014Y
RIGHT CRAWLER CARRIER ASSY. D00663112500000000Y
TRAVELING MOTOR D1030200742_100033Y
TRAVELING REDUCER D1030200733_100013Y
TRAVELING REDUCER D1030200733_100014Y
TRAVELING REDUCER (PRIMARY PLANET CARRIER ASSY.) D1030200733_100014Y
TRAVELING REDUCER (SECONDARY PLANET CARRIER ASSY.) D1030200733_100014Y
TRAVELING REDUCER (THIRD PLANET CARRIER ASSY.) D1030200733_100014Y
FOLDING BRACKET INSTALLATION D00663115800000000Y
SUPPORT PLATE INSTALLATION D00663110800000000Y
SUPPORT CYLINDER D00663118400700000_6400Y
CRAWLER CARRIER EXTENDING & RETRACTING CYLINDER D00663118401600000_6400Y
INSTALLATION OF SIGNS ON CRANE UNDERCARRIAGE D00663117000800000Y
SLEWING TABLE ELECTRICS D00663116300000000Y
CAMERA INSTALLATION DIAGRAM D00663006320600002Y
ELECTRICAL CONTROL BOX ASSY FOR SLEWING TABLE D00663116300400000Y
WIRE HARNESS OF JUNCTION BOX (1) D00663116300210001Y
WIRE HARNESS OF JUNCTION BOX (2) D00663116300220001Y
WIRE HARNESS OF JUNCTION BOX (3) D00663116300230001Y
WIRE HARNESS OF JUNCTION BOX (4) D00663116300240001Y
WIRE HARNESS OF OPERATOR'S CAB ON SLEWING TABLE D00663116300250001Y
TRANSITION CABLE OF SLEWING TABLE D00663116300260001Y
OPERATOR’S CAB ELECTRICS D00663116200000000Y
ELECTRICAL CONTROL BOX ASSY FOR OPERATOR'S CAB D00663116200210001Y
OPERATING CONSOLE ASSY D00663116200220001Y
RIGHT CONTROL PANEL ASSY D00663116200230001Y
LEFT CONTROL PANEL ASSY FOR THREE WINCHES WITH FREE-FALL FUNCTIONS D00663116200270000Y
MAIN BOOM ELETRICS D00663116400200000Y
MAIN BOOM WIRE HARNESS D00663116400210001Y
FIXED JIB ELECTRICS D00663116400400000Y
WIRE HARNESS OF FIXED JIB D00663116400410001Y
LOAD MOMENT LIMITER ASSY D1021402859_102316Y
ELECTRICAL SYSTEM DIAGRAM D00663116100001010Y
ELECTRICAL SYSTEM DIAGRAM D00663116100001010Y
ELECTRICAL SYSTEM DIAGRAM D00663116100001010Y
ELECTRICAL SYSTEM DIAGRAM D00663116100001010Y
ELECTRICAL SYSTEM DIAGRAM D00663116100001010Y
ELECTRICAL SYSTEM DIAGRAM D00663116100001010Y
PIPE LAYOUT – UNDERCARRIAGE HYDRAULIC SYSTEM D00663111700000000Y
PIPE LAYOUT – UNDERCARRIAGE HYDRAULIC SYSTEM D00663111700000000Y
PIPE LAYOUT – UNDERCARRIAGE HYDRAULIC SYSTEM D00663111700000000Y
PIPE LAYOUT – UNDERCARRIAGE HYDRAULIC SYSTEM D00663111700000000Y
CENTRAL REVOLVING JOINT INSTALLATION D00663004811600000Y
UNDERCARRIAGE CONTROL VALVE INSTALLATION D00663114801800000Y
TWO-WAY HYDRAULIC LOCK D1010300280_6500Y
PIPE LAYOUT – UNDERCARRIAGE HYDRAULIC SYSTEM D00663111710000000Y
PIPE LAYOUT – UNDERCARRIAGE HYDRAULIC SYSTEM D00663111710000000Y
PIPE LAYOUT – UNDERCARRIAGE HYDRAULIC SYSTEM D00663111710000000Y
CENTRAL REVOLVING JOINT INSTALLATION D00663004811600000Y
UNDERCARRIAGE CONTROL VALVE INSTALLATION D00663114801800000Y
PIPE LAYOUT- HOISTING WINCH 1 WITHOUT FREE-FALL FUNCTION D00663113500450000Y
PIPE LAYOUT- HOISTING WINCH 2 WITHOUT FREE-FALL FUNCTION D00663113500810000Y
PIPE LAYOUT – HOISTING WINCH 1 WITH FREE-FALL FUNCTION D00663113500240000Y
PIPE LAYOUT – HOISTING WINCH 2 WITH FREE-FALL FUNCTION D00663113500610000Y
PIPE LAYOUT – HOISTING WINCH 3 WITH FREE-FALL FUNCTION D00663113501430000Y
PIPE LAYOUT – SUPERSTRUCTURE HYDRAULIC SYSTEM (Power system ) D00663111600000001Y
PIPE LAYOUT – SUPERSTRUCTURE HYDRAULIC SYSTEM (Radiator assy) D00663111600000001Y
PIPE LAYOUT – SUPERSTRUCTURE HYDRAULIC SYSTEM (Derricking system) D00663111600000001Y
PIPE LAYOUT – SUPERSTRUCTURE HYDRAULIC SYSTEM (Slewing system) D00663111600000001Y
PIPE LAYOUT – SUPERSTRUCTURE HYDRAULIC SYSTEM (Boom lifting system) D00663111600000001Y
PIPE LAYOUT – SUPERSTRUCTURE HYDRAULIC SYSTEM (Control system) D00663111600000001Y
PILOT VALVE INSTALLATION D00663114802400000Y
CONTROL VALVE INSTALLATION D000663114800800000Y
CONTROL VALVE BLOCK I D1010300433_100029Y
MAIN VALVE INSTALLATION D00663114800200000Y
HYDRAULIC OIL TANK INSTALLATION D00663114800400000Y
ACCUMULATOR INSTALLATION D00663004811200000Y
OIL COOLER INSTALLATION D00663114800600000Y
RADIATOR DEVICE D1010400009_100026Y
PRESSURE OIL FILTER INSTALLATION D00663114802800000Y
CONTROL PRESSURE RELIEF VALVE INSTALLATION D00663114801200000Y
FILTER INSTALLATION OF WINCH WITH FREE-FALL FUNCTION D00663114801000000Y
PRESSURE OIL FILTER D1010600016_101375Y
UPGRADE COUNTERWEIGHT CYLINDER VALVE INSTALLATION D00663114803000000Y
CONTROL VALVE BLOCK D1010303898_100029Y
CONSTANT PRESSURE PUMP CONTROL VALVE INSTALLATION D00663114803200000Y
CONTROL VALVE BLOCK D1010303895_100029Y
LIFTING VALVE BLOCK INSTALLATION D00663114802200000Y
BOOM LIFTING VALVE BLOCK D1010302667_6500Y
COOLER INSTALLATION D00663114802000000Y
COMBINATION VALVE BLOCK D1010300423_100029Y
SOLENOID BALL VALVE INSTALLATION D00663114801600000Y
CONTROL VALVE D1010301868_6500Y
BALANCE VALVE D1010300200_100029Y
VARIABLE PUMP D1010001069_100025Y
VARIABLE PUMP D1010001069_100025Y
VARIABLE PUMP D1010001069_100025Y
VARIABLE PUMP D1010001069_100025Y
VARIABLE PUMP D1010001069_100025Y
VARIABLE PUMP D1010001069_100025Y
VARIABLE PUMP D1010001069_100025Y
VARIABLE PUMP D1010001069_100025Y
VARIABLE PUMP D1010001069_100025Y
GEAR PUMP D1010000078_100028Y
OIL PUMP DRIVE DEVICE D00663113900000000Y
HYDRAULIC OIL TANK D00663113000000000Y
RETURN-LINE FILTER D1010600009_101281Y
HYDRAULIC SYSTEM DIAGRAM D00663111500000001Y
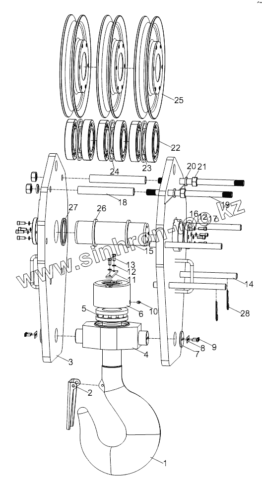
1
2
3
4
5
6
7
8
9
10
11
12
12
13
14
15
16
17
18
19
20
21
22
23
24
25
26
27
28
Позиция на иллюстрации
Заводской номер детали
Название детали
00663114200400000
00663114200400000
30t load hook
1
00663114200401010
Straight shank hook
2
00663114200401050
Safety catch
3
00663114200410000
Side plate
4
00663114200401020
Cross beam
5
1050200043
Rolling bearing
6
00663114200401030
Hook nut
7
00663004200001130
Shaft end retaining plate
8
00663004200001120
Stop shim
9
1040000549
Bolt
10
1080000001
Oil cup
11
00663114200401040
Locking plate
12
1040301995
Spring washer
13
1040001657
Bolt
14
00663204200401080
Retaining rod
15
00663114200201040
Pulley spindle
16
00663604200201050
Shaft end cover
17
1040101978
Screw
18
00663114200401060
Seamless pipe
19
00663114200201050
Threaded rod
20
1040302008
Spring washer
21
1040200443
Nut
22
1050200115
Rolling bearing
23
00663804200431010
Ring
24
00663804200431030
Retainer ring
25
00663114100210000
Pulley
26
00663804201001070
Spacing sleeve
27
00663304100001090
Spacing sleeve
28
006340000029
Spring-loaded pin
Содержащиеся в справочниках-каталогах запасные части и детали не предлагаются к продаже, а носят исключительно информационный характер
Дополнительная информация
×
Название:
Номер:
Примечание: