Вернуться на главную
Поиск
Каталоги запчастей к технике
Спецтехника
Zoomlion
RT-55
HYDRAULIC OIL TANK D00755913010000002Y
Каталог запасных частей к технике: Zoomlion RT-55. HYDRAULIC OIL TANK D00755913010000002Y
zoom-in
zoom-out
enlarge
shrink
circle-right
circle-left
file-text2
info
cart
Тип техники
Не выбрано
Легковые автомобили
Грузовые автомобили и прицепы
Автобусы
Сельхозтехника
Спецтехника
Двигатели
Мототехника
Марка
Не выбрано
Ammann
BOMAG
CARMIX
CASE IH
Changlin
ChengGong
Dimex
Doosan
DYNAPAC
Foton
HAMM
Hidromek
Hitachi
Hyundai
JCB
JLG
John Deere
Komatsu
LIEBHERR
LiuGong
Lonking (LongGong)
Luneng
MANITOU
Mitsuber
New Holland
PENGPU
RM-Terex
SANY
SDLG
SEM
Shantui
Shehwa HBXG
Soosan
TIGARBO
VOGELE
Volvo
WAY
WIRTGEN
XCMG
XGMA
Xiamen
YTO
Yuchai
Zoomlion
Автокран
АЗСМ
Алтайлесмаш
Амкодор
АОМЗ
Атек
АТЗ
Балканкар Рекорд
БелАЗ
Беловеж
Борекс
Брянский Арсенал
Булат
ВЭКС
ГАЗ
Геомаш
Гидромаш
Донекс
Дормаш
Дормашина
Дорэлектромаш
ДЭЗ
ЕлАЗ
ЗЗГТ
Ижнефтемаш
Канаш-электрокар
КЗКТ
ККЗ
Клевер
Клинцовский автокрановый завод
КМЗ
КМЗ 1 Мая
Ковровец
Коммаш
Кранэкс
КЭЗ
КЭМЗ
ЛЗА
МАЗ
МЗИК
МЗКМ
МЗКТ
Михневский РМЗ
МоАЗ
Мозырский МЗ
МТЗ
ОЗП
Онежец
ПАО "ТЗА"
ППС Детва
Промтрактор
ПТЗ
Раскат
СпецАгрегат
ТВЭКС
ТТМ
УВЗ
Угличмаш
УЗТМ
ХТЗ
ЧЗКМ
ЧСДМ
ЧТЗ
ЭКСКО
ЭКСМАШ
ЮрМаш
Модель
Не выбрано
33X-4Z
47X-5RZ
K56X-6RZ
PL2304 (2021)
QUY260CR-32Y
QY55V53232Z
RN (90-110 л.с.)
RS (2021)
RT-100 (2013)
RT-35 (2013)
RT-55 (2013)
RT-551 (4x4) (2013)
RT-75 (2013)
ZCC1100H (2014)
ZD160T(S,SH, CS)-3 (2012)
ZE205E (2013)
ZLJ5480JQZV3 (2013)
ZLJ5500V3 (2013)
ZLJ5550JQZV3.2 (2016)
ZT20J (2019)
ZT68J (2019)
Схема
>
Не выбрано
RT55 ROUGH TERRAIN CRANE D00755910000010000Y
BASIC BOOM ASSY D00755918500000000Y
SUPPORT ASSY D00755908500400000Y
TELESCOPIC BOOM SECTION 1 ASSY D00755918600000000Y
PULLEY ASSY D00755908600400000Y
SUPPORT ASSY D00755908600800000Y
TELESCOPIC BOOM SECTION 2 ASSY D00755918700000000Y
PULLEY ASSY D00755908700400000Y
SUPPORT ASSY D00755908700600000Y
TELESCOPIC BOOM SECTION 3 ASSY D00755918800000000Y
PULLEY ASSY D00755908800600000Y
ROOSTER SHEAVE INSTALLATION D00755904701600000Y
ROOSTER SHEAVE D00755901200000000Y
PULLEY ASSY D00755908800600000Y
MAIN BOOM ASSY D00755900100000001Y
ROPE GUIDE ASSY D00755900100600000Y
MAIN BOOM INSTALLATION D00755904700200000Y
DERRICKING CYLINDER INSTALLATION D00755904700800000Y
JIB D00755900230000000Y
ROLLER D00755900201000001Y
PULLEY ASSY D00755900202000000Y
PULLEY ASSY D00755908800600000Y
JIB INSTALLATION D00755904700400001Y
TELESCOPING MECHANISM D00755901800000000Y
GUIDE PULLEY D00755901800820000Y
WIRE ROPE SUPPORT D00755901801400000Y
DERRICKING CYLINDER D00755918400300000_6400Y
TELESCOPING CYLINDER D00755918400100000_6400Y
SECURING DEVICE FOR HOOK D00755914300000000Y
MAIN HOOK D1090400135_101737Y
NAME PLATE (CHINESE AND ENGLISH VERSIONS) D00755917010000000Y
NAME PLATE (CHINESE AND ENGLISH VERSIONS) D00755917010000000Y
NAME PLATE (ENGLISH VERSIONS) D00755917000000000Y
NAME PLATE (ENGLISH VERSIONS) D00755917000000000Y
TRANSMISSION AND ENGINE INSTALLATION D00757911700000000Y
TRANSMISSION AND ENGINE PRE-ASSEMBLY D00757911700200000Y
TRANSMISSION AND ENGINE PRE-ASSEMBLY D00757911700210000Y
ENGINE ATTACHMENTS INSTALLATION D00757911000000001Y
AIR FILTER D1000100162_30507Y
FUEL SUPPLY SYSTEM D00757911100000002Y
PREHEATING STARTER D00757910800000000Y
PTO D00757913910000000Y
STEERING SYSTEM D00757913400000000Y
STEERING CYLINDER D00757918400900000_6400Y
FRONT SUSPENSION D00757912900000000Y
REAR SUSPENSION D00757913300000000Y
SUSPENSION CYLINDER D00757918401100000_6400Y
WHEEL ASSY D00757913100000000Y
WHEEL HOUSING AND ITS INSTALLATION D00757915210000003Y
PROPELLER SHAFT LAYOUT D00757912200000000Y
TOOLBOX AND PLATFORM ASSY D00757919410000002Y
OUTRIGGER AND ITS CYLINDER INSTALLATION D00755914700200000Y
OUTRIGGER D00755901310000000Y
VERTICAL CYLINDER D00755918400700000_6400Y
HORIZONTAL CYLINDER D00755908400500000_6400Y
ENGINE HOUSING AND ITS INSTALLATION D00757915100000000Y
SCHEMATIC DIAGRAM - ELECTRICAL SYSTEM (HIRSCHMANN) D00755916140000001Y
SCHEMATIC DIAGRAM - ELECTRICAL SYSTEM (HIRSCHMANN) D00755916140000001Y
SCHEMATIC DIAGRAM - ELECTRICAL SYSTEM (HIRSCHMANN) D00755916140000001Y
SCHEMATIC DIAGRAM - ELECTRICAL SYSTEM (HIRSCHMANN) D00755916140000001Y
SCHEMATIC DIAGRAM - ELECTRICAL SYSTEM (HIRSCHMANN) D00755916140000001Y
SCHEMATIC DIAGRAM - ELECTRICAL SYSTEM (HIRSCHMANN) D00755916140000001Y
SCHEMATIC DIAGRAM - ELECTRICAL SYSTEM (HIRSCHMANN) D00755916140000001Y
SCHEMATIC DIAGRAM - ELECTRICAL SYSTEM (HIRSCHMANN) D00755916140000001Y
SCHEMATIC DIAGRAM - ELECTRICAL SYSTEM (HIRSCHMANN) D00755916140000001Y
SCHEMATIC DIAGRAM - ELECTRICAL SYSTEM (HIRSCHMANN) D00755916140000001Y
SCHEMATIC DIAGRAM - ELECTRICAL SYSTEM (HIRSCHMANN) D00755916140000001Y
SCHEMATIC DIAGRAM - ELECTRICAL SYSTEM (HIRSCHMANN) D00755916140000001Y
SCHEMATIC DIAGRAM - ELECTRICAL SYSTEM (HIRSCHMANN) D00755916140000001Y
SCHEMATIC DIAGRAM - ELECTRICAL SYSTEM (HIRSCHMANN) D00755916140000001Y
SCHEMATIC DIAGRAM - ELECTRICAL SYSTEM (HIRSCHMANN) D00755916140000001Y
SCHEMATIC DIAGRAM - ELECTRICAL SYSTEM (HIRSCHMANN) D00755916140000001Y
SCHEMATIC DIAGRAM - ELECTRICAL SYSTEM (HIRSCHMANN) D00755916140000001Y
SCHEMATIC DIAGRAM - ELECTRICAL SYSTEM (HIRSCHMANN) D00755916140000001Y
SCHEMATIC DIAGRAM - ELECTRICAL SYSTEM (HIRSCHMANN) D00755916140000001Y
SCHEMATIC DIAGRAM - ELECTRICAL SYSTEM (HIRSCHMANN) D00755916140000001Y
SCHEMATIC DIAGRAM - ELECTRICAL SYSTEM (HIRSCHMANN) D00755916140000001Y
SCHEMATIC DIAGRAM - ELECTRICAL SYSTEM (HIRSCHMANN) D00755916140000001Y
SCHEMATIC DIAGRAM - ELECTRICAL SYSTEM (HIRSCHMANN) D00755916140000001Y
SCHEMATIC DIAGRAM - ELECTRICAL SYSTEM (HIRSCHMANN) D00755916140000001Y
SCHEMATIC DIAGRAM - ELECTRICAL SYSTEM (HIRSCHMANN) D00755916140000001Y
SCHEMATIC DIAGRAM - ELECTRICAL SYSTEM (HIRSCHMANN) D00755916140000001Y
SCHEMATIC DIAGRAM - ELECTRICAL SYSTEM (HIRSCHMANN) D00755916140000001Y
SCHEMATIC DIAGRAM - ELECTRICAL SYSTEM (HIRSCHMANN) D00755916140000001Y
SCHEMATIC DIAGRAM - ELECTRICAL SYSTEM (HIRSCHMANN) D00755916140000001Y
SCHEMATIC DIAGRAM - ELECTRICAL SYSTEM (HIRSCHMANN) D00755916140000001Y
SCHEMATIC DIAGRAM - ELECTRICAL SYSTEM (HIRSCHMANN) D00755916140000001Y
SCHEMATIC DIAGRAM - ELECTRICAL SYSTEM (HIRSCHMANN) D00755916140000001Y
SCHEMATIC DIAGRAM - ELECTRICAL SYSTEM (HIRSCHMANN) D00755916140000001Y
SCHEMATIC DIAGRAM - ELECTRICAL SYSTEM (HIRSCHMANN) D00755916140000001Y
ELECTRICAL SYSTEM (HIRSCHMANN) (OPERATOR’S CAB ELECTRICS) D00755916240000001Y
ELECTRICAL SYSTEM (HIRSCHMANN) (SLEWING TABLE ELECTRICS) D00755916240000001Y
ELECTRICAL SYSTEM (HIRSCHMANN) (BOOM ELECTRICS) D00755916240000001Y
ELECTRICAL SYSTEM (HIRSCHMANN) (CHASSIS FRAME ELECTRICS 1) D00755916240000001Y
ELECTRICAL SYSTEM (HIRSCHMANN) (CHASSIS FRAME ELECTRICS 2) D00755916240000001Y
ELECTRICAL SYSTEM (GREER) (OPERATOR’S CAB ELECTRICS) D00755916210000001Y
ELECTRICAL SYSTEM (GREER) (SLEWING TABLE ELECTRICS) D00755916210000001Y
ELECTRICAL SYSTEM (GREER) (BOOM ELECTRIC) D00755916210000001Y
ELECTRICAL SYSTEM (GREER) (CHASSIS FRAME ELECTRICS 1) D00755916210000001Y
ELECTRICAL SYSTEM (GREER) (CHASSIS FRAME ELECTRICS 2)D00755916210000001Y
CENTRE REVOLVING JOINT INSTALLATION D00755914800200000Y
CENTRE REVOLVING JOINT D1140109716_6500Y
HYDRAULIC OIL TANK INSTALLATION D00755914810400001Y
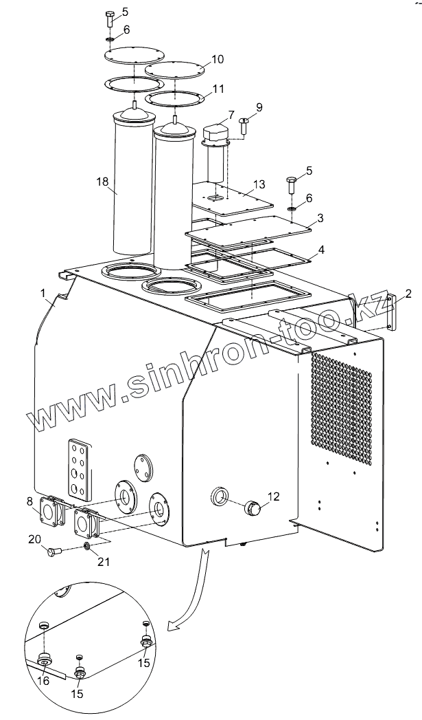
HYDRAULIC OIL TANK D00755913010000002Y
RADIATOR D1010400111_100026Y
OIL PUMP DRIVE DEVICE D00755913910000000Y
CHASSIS FRAME VALVE INSTALLATION (OUTRIGGER CONTROL VALVE BLOCK INSTALLATION ) D00755914810200001Y
CHASSIS FRAME VALVE INSTALLATION (FLUID FILLING VALVE INSTALLATION) D00755914810200001Y
CHASSIS FRAME VALVE INSTALLATION(BRAKE VALVE ASSY. INSTALLTION) D00755914810200001Y
CHASSIS FRAME VALVE INSTALLATION(ACCUMULATOR INSTALLATION) D00755914810200001Y
CHASSIS FRAME VALVE INSTALLATION(HIGH-PRESSURE OIL FILTER INSTALLATION) D00755914810200001Y
CHASSIS FRAME VALVE INSTALLATION(RELIEF CONTROL VALVE BLOCK INSTALLATION) D00755914810200001Y
CHASSIS FRAME VALVE INSTALLATION(STEERING CONTROL VALVE BLOCK INSTALLATION) D00755914810200001Y
CHASSIS FRAME VALVE INSTALLATION(LOCKING SOLENOID VALVE INSTALLATION) D00755914810200001Y
CHASSIS FRAME VALVE INSTALLATION(SOLENOID VALVE INSTALLATION) D00755914810200001Y
LOCKING SOLENOID VALVE D1010302064_101227Y
STEERING CONTROL VALVE BLOCK D1010302514_101227Y
RELIEF CONTROL VALVE BLOCK D1010302066_102440Y
SOLENOID VALVE D1010302063_102440Y
OUTRIGGER CONTROL VALVE BLOCK D1010302790_101227Y
OUTRIGGER HYDRAULIC LOCK INSTALLATION D00755914821400000Y
OIL PIPE PROTECTION COVER INSTALLATION D00755914801200000Y
SLEWING TABLE VALVE INSTALLATION (PILOT-OPERATED CONTROL VALVE BLOCK INSTALLATION) D00755914810600002Y
SLEWING TABLE VALVE INSTALLATION (PIPE FILTER INSTALLATION) D00755914810600002Y
SLEWING TABLE VALVE INSTALLATION (WINCH VALVE INSTALLATION) D00755914810600002Y
SLEWING TABLE VALVE INSTALLATION (SLEWING BRAKE VALVE INSTALLATION) D00755914810600002Y
SLEWING TABLE VALVE INSTALLATION (PRIORITY VALVE AND PILOT OIL SOURCE BLOCK INSTALLATION) D00755914810600002Y
SLEWING TABLE VALVE INSTALLATION (A/C CONTROL VALVE BLOCK INSTALLATION) D00755914810600002Y
SLEWING TABLE VALVE INSTALLATION (PILOT-OPERATED VALVE INSTALLATION) D00755914810600002Y
PILOT OIL SOURCE BLOCK D1019900552_101227Y
SLEWING CUSHION VALVE D1010300495_6500Y
D1010300495_6500Y SLEWING CUSHION VALVE (PILOT-OPERATED DIRECTIONAL CONTROL VALVE)
D1010300495_6500Y SLEWING CUSHION VALVE (DAMPER VALVE)
D1010300495_6500Y SLEWING CUSHION VALVE (RELIEF VALVE)
D1010300495_6500Y SLEWING CUSHION VALVE (CUSHION VALVE)
A/C CONTROL VALVE BLOCK D1130100646_101227Y
PILOT-OPERATED VALVE D1010302511_101227Y
SLEWING BRAKE VALVE D1010303988_6500Y
PILOT-OPERATED CONTROL VALVE BLOCK D1010303710_101227Y
TELESCOPING BALANCE VALVE INSTALLATION D00755914832000000Y
DERRICKING BALANCE VALVE INSTALLATION D00755914821800000Y
HOISTING BALANCE VALVE INSTALLATION D00755914821600000Y
CAB VALVE INSTALLATION (PILOT-OPERATED CONTROL JOYSTICK) D00755914810800000Y
CAB VALVE INSTALLATION (FOOT-OPERATED INSTALLATION) D00755914810800000Y
SCHEMATIC DIAGRAM-HYDRAULIC SYSTEM D00755911510000002Y
SLEWING MECHANISM D00755904400000000Y
SWING REDUCER D1030200682_100013Y
SLEWING BEARING ASSY D00755904500000000Y
SWING LOCKING DEVICE D00755915900000000Y
SWING LOCKOUT CYLINDER D00755708401000000_6400Y
WINCH MECHANISM D00755903500000000Y
WINCH REDUCER D1030200945_100014Y
DRIVER'S CAB PRE-ASSEMBLY D00755905000000001Y
DRIVER'S CAB (WINDSHIELD) D1130000414_100037Y
DRIVER'S CAB (INSTRUMENT CONSOLE ARRANGEMENT) D1130000414_100037Y
DRIVER'S CAB (Front WINDSHILED WIPER SYSTEM) D1130000414_100037Y
DRIVER'S CAB (FOOT PEDAL) D1130000414_100037Y
DRIVER'S CAB (A/C) D1130000414_100037Y
DRIVER'S CAB (SEAT) D1130000414_100037Y
DRIVER'S CAB (DRIVER'S CAB ASSY) D1130000414_100037Y
DRIVER'S CAB (GUARD BOARD AND INTERIOR DECORATIVE PLATE) D1130000414_100037Y
DRIVER'S CAB (ROOF WIPER SYSTEM AND FAN) D1130000414_100037Y
DRIVER'S CAB (ROOF WINDOW) D1130000414_100037Y
DRIVER'S CAB (DOOR ASSY) D1130000414_100037Y
AIR CONDITIONING D00631267600000000Y
SPECIAL A/C D1130100319_100026Y
CAB HEATER D00755907510000001Y
HEATER D1200300013_102208Y
COUNTERWEIGHT INSTALLATION D00755904700600000Y
1
2
3
4
5
5
6
6
7
8
9
10
11
12
13
15
15
16
18
20
21
Позиция на иллюстрации
Заводской номер детали
Название детали
00755913010000002
00755913010000002
Hydraulic oil tank
1
00755913010200002
Tank assy
2
1019900476
Liquid level gauge
3
00755703000001011
Cover plate 1
4
00755703000001061
Paper gasket 2
5
1040000267
Bolt
6
1040300650
Washer
7
1010500122
Air filter
8
1010300378
Butterfly valve
9
1040100909
Screw
10
00755703000001021
Cover plate 2
11
00755703000001051
Paper gasket 1
12
00755913000001011
Plug
13
00755703000001031
Cover plate 3
14
1081001667
Combination pad
15
1140101274
Plug
16
1140101657
Plug
17
1019900112
Combination pad
18
1010600408
Hydraulic oil filter
19
1010600444
Oil return filter element
20
1040000069
Bolt
21
1040300054
Washer
22
1019900006
Magnetic core
Содержащиеся в справочниках-каталогах запасные части и детали не предлагаются к продаже, а носят исключительно информационный характер
Дополнительная информация
×
Название:
Номер:
Примечание: