Каталог запасных частей к технике: Zoomlion RT-100. TELESCOPIC BOOM SECTION 4 ASSY
1
2
3
3
4
4
5
5
6
6
7
7
7
8
9
10
11
12
13
14
15
16
17
18
19
20
21
22
22
23
24
25
26
27
27
28
29
30
31
33
34
35
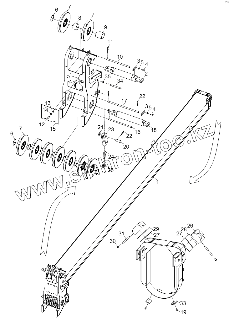
| Позиция на иллюстрации | Заводской номер детали | Название детали | |
|---|---|---|---|
| 00756308900000000 | 00756308900000000 | Telescopic boom section 4 assy | |
| 1 | 00756308900200000 | Telescopic boom section 4 welded | |
| 2 | 00756308900400000 | Shaft | |
| 3 | 006340000056 | Baffle 120 | |
| 4 | 1040000016 | Bolt | |
| 5 | 1040300065 | Washer | |
| 6 | 00756308900001010 | Spacer sleeve | |
| 7 | 00756308900600000 | Pulley assy | |
| 8 | 00756308900001020 | Spacer sleeve | |
| 9 | 00756308900001030 | Spacer sleeve | |
| 10 | 00756308900001040 | Pipe | |
| 11 | 006340000007 | Spring-loaded pin | |
| 12 | 1040000103 | Bolt | |
| 13 | 1040300066 | Washer | |
| 14 | 1040300063 | Washer | |
| 15 | 00756308900001050 | Cover plate | |
| 16 | 00756308900001060 | Pipe | |
| 17 | 00756308900001070 | Pipe | |
| 18 | 00756308900001080 | Shaft | |
| 19 | 1040100080 | Screw | |
| 20 | 00756118800001170 | Pin 1 | |
| 21 | 00755908800001180 | Washer | |
| 22 | 006340000001 | Spring-loaded pin | |
| 23 | 1090100296 | Wedge sleeve | |
| 24 | 1090100439 | Wedge | |
| 25 | 1990200935 | Wire rope clamp | |
| 26 | 00756308900001090 | Slide block | |
| 27 | 00756308900001100 | Pad | |
| 28 | 00756308900001110 | Pad | |
| 29 | 00756308900001120 | Pad | |
| 30 | 1080000001 | Oil cup | |
| 31 | 00756308900001130 | Rod | |
| 32 | 204110014 | Lithium-based Grease | |
| 33 | 00756308600001070 | Slide block | |
| 34 | 00756308900001140 | Wire securing stud | |
| 35 | 1040200110 | Nut |
Содержащиеся в справочниках-каталогах запасные части и детали не предлагаются к продаже, а носят исключительно информационный характер