Вернуться на главную
Поиск
Каталоги запчастей к технике
Спецтехника
Zoomlion
QY55V53232Z
BOOM BRACKET D00631140330000000Z
Каталог запасных частей к технике: Zoomlion QY55V53232Z. BOOM BRACKET D00631140330000000Z
zoom-in
zoom-out
enlarge
shrink
circle-right
circle-left
file-text2
info
cart
Тип техники
Не выбрано
Легковые автомобили
Грузовые автомобили и прицепы
Автобусы
Сельхозтехника
Спецтехника
Двигатели
Мототехника
Марка
Не выбрано
Ammann
BOMAG
CARMIX
CASE IH
Changlin
ChengGong
Dimex
Doosan
DYNAPAC
Foton
HAMM
Hidromek
Hitachi
Hyundai
JCB
JLG
John Deere
Komatsu
LIEBHERR
LiuGong
Lonking (LongGong)
Luneng
MANITOU
Mitsuber
New Holland
PENGPU
RM-Terex
SANY
SDLG
SEM
Shantui
Shehwa HBXG
Soosan
TIGARBO
VOGELE
Volvo
WAY
WIRTGEN
XCMG
XGMA
Xiamen
YTO
Yuchai
Zoomlion
Автокран
АЗСМ
Алтайлесмаш
Амкодор
АОМЗ
Атек
АТЗ
Балканкар Рекорд
БелАЗ
Беловеж
Борекс
Брянский Арсенал
Булат
ВЭКС
ГАЗ
Геомаш
Гидромаш
Донекс
Дормаш
Дормашина
Дорэлектромаш
ДЭЗ
ЕлАЗ
ЗЗГТ
Ижнефтемаш
Канаш-электрокар
КЗКТ
ККЗ
Клевер
Клинцовский автокрановый завод
КМЗ
КМЗ 1 Мая
Ковровец
Коммаш
Кранэкс
КЭЗ
КЭМЗ
ЛЗА
МАЗ
МЗИК
МЗКМ
МЗКТ
Михневский РМЗ
МоАЗ
Мозырский МЗ
МТЗ
ОЗП
Онежец
ПАО "ТЗА"
ППС Детва
Промтрактор
ПТЗ
Раскат
СпецАгрегат
ТВЭКС
ТТМ
УВЗ
Угличмаш
УЗТМ
ХТЗ
ЧЗКМ
ЧСДМ
ЧТЗ
ЭКСКО
ЭКСМАШ
ЮрМаш
Модель
Не выбрано
33X-4Z
47X-5RZ
K56X-6RZ
PL2304 (2021)
QUY260CR-32Y
QY55V53232Z
RN (90-110 л.с.)
RS (2021)
RT-100 (2013)
RT-35 (2013)
RT-55 (2013)
RT-551 (4x4) (2013)
RT-75 (2013)
ZCC1100H (2014)
ZD160T(S,SH, CS)-3 (2012)
ZE205E (2013)
ZLJ5480JQZV3 (2013)
ZLJ5500V3 (2013)
ZLJ5550JQZV3.2 (2016)
ZT20J (2019)
ZT68J (2019)
Схема
>
Не выбрано
QY55V532 TRUCK CRANE D00631140003060000Z
BASIC ARM ASSEMBLY D00631178510000000Z
FIRST STAGE TELESCOPIC BOOM ASSEMBLY D00631178610000000Z
SECOND STAGE TELESCOPIC BOOM ASSEMBLY D00631178710000000Z
THIRD STAGE TELESCOPIC BOOM ASSEMBLY D00631178810000000Z
FOURTH STAGE TELESCOPIC BOOM ASSEMBLY D00631148930000000Z
MAIN ARM ASSEMBLY D00631170110000000Z
MAIN ARM INSTALLATION D00631144780200000Z
JIB D00631250200000000Z
JIB INSTALLATION D00631144780800000Z
TELESCOPIC MECHANISM D00631171810000000Z
ARM TIP PULLEY D00631121200200000Z
ARM TIP PULLEY INSTALLATION D00631121200400000Z
ANGLE INDICATOR INSTALLATION D00630947100000000Z
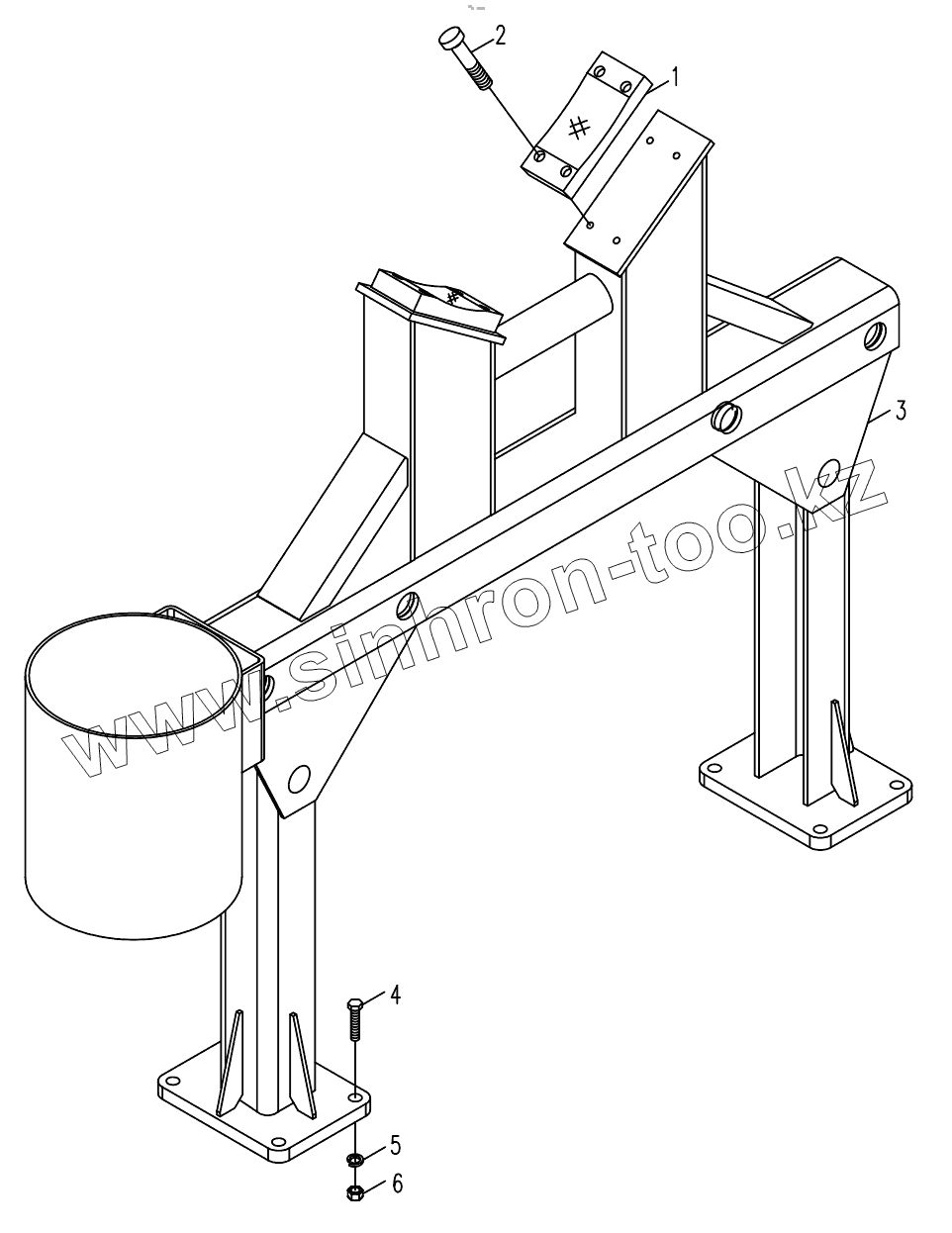
BOOM BRACKET D00631140330000000Z
HOOK FIXING DEVICE D00631254300000000Z
LIFTING MECHANISM D00631143520000000Z
SLEWING MECHANISM D00631324400000000Z
SLEWING BEARING AND INSTALLATION D00631144520000000Z
OUTRIGGER OPERATING MECHANISM D00631145800000000Z
OUTRIGGER AND OUTRIGGER CYLINDER INSTALLATION D00631144780400000Z
FIFTH LEG D00631141110000000Z
FEET D00631251300000000Z
TURNTABLE INSTALLATION D00631144780600000Z
COUNTERWEIGHT INSTALLATION D00631254720400000Z
HANGAR INSTALLATION D00631140530000000Z
CAB INSTALLATION D00631254720800000Z
ACCELERATOR PEDAL INSTALLATION D00631124010400000Z
AIR CONDITIONING COVER INSTALLATION D00630874720400000Z
HYDRAULIC SYSTEM SCHEMATIC D00631141570000000Z
PIPING DIAGRAM OF HYDRAULIC SYSTEM ON THE CAR D00631141690200000Z
CONTROL MODULE PIPING DIAGRAM D00631141690400000Z
PIPING DIAGRAM OF HYDRAULIC SYSTEM FOR GETTING OFF THE CAR D00631141750000000Z
HYDRAULIC TANK D00631143010000001Z
HYDRAULIC TANK INSTALLATION D00631254810400000Z
OIL PUMP TRANSMISSION D00631143920000000Z
OIL COOLING DEVICE D00631147410000000Z
CONTROL ROOM ELECTRICAL D00631147800000000Z
CONTROL ROOM ELECTRICAL D00631146260000001Z
TURNTABLE ELECTRIC D00631148000000000Z
TURNTABLE ELECTRIC D00631146360000000Z
MAIN ARM ELECTRICAL D00631146470000000Z
MAIN ARM ELECTRICAL D00631146460000000Z
AUXILIARY ARM ELECTRICAL D00631146500000000Z
AUXILIARY ARM ELECTRICAL D00631146510000000Z
AIR CONDITIONING DEVICE D00631157600000000Z
HEATER D00631147500000000Z
HEATER HOST INSTALLATION D00631147500200000Z
HEATER TANK INSTALLATION D00631147500400000Z
INSTALLATION OF HEATER TANK D00631257500600000Z
FRONT BOARDING D1130000079ZY
INNER DECORATION LAYOUT D1130000079ZY
LEFT SIDE BOARDING D1130000079ZY
RIGHT SIDE BOARDING D1130000079ZY
REAR BOARDING D1130000079ZY
MAIN HOOK D1090400121-100017ZY
MAIN HOOK D1090400117-100017ZY
AUXILIARY HOOK D1090400019ZY
TELESCOPING CYLINDER I D1010200085ZY
TELESCOPING CYLINDER II D1010200084ZY
DERRICKING CYLINDER D1010200510ZY
HORIZONTAL CYLINDER D1010200511ZY
FRONT VERTICAL CYLINDER D00631142200200000ZY
REAR VERTICAL CYLINDER D00631142200400000ZY
THE 5TH OUTRIGGER CYLINDER D1010200230ZY
DERRICKING CYLINDER D1030200699ZY
MAIN WINCH MOTOR D1010100011/10025ZY
SLEWING REDUCER D1030200558ZY
HYDRAULIC MOTOR D1010100030ZY
MOTOR D1010100271/32793ZY
MOTOR D1010100271/100033ZY
GEAR PUMP D1010000082ZY
1
2
3
4
5
6
Позиция на иллюстрации
Заводской номер детали
Название детали
1
00631140320001010
Backing plate
2
1040100069
Screw
3
00631140330200000
Boom bracket welding
4
1040200110
Nut
5
1040300065
Washer
6
1040000209
Bolt
Содержащиеся в справочниках-каталогах запасные части и детали не предлагаются к продаже, а носят исключительно информационный характер
Дополнительная информация
×
Название:
Номер:
Примечание: