Вернуться на главную
Поиск
Каталоги запчастей к технике
Спецтехника
Zoomlion
QUY260CR-32Y
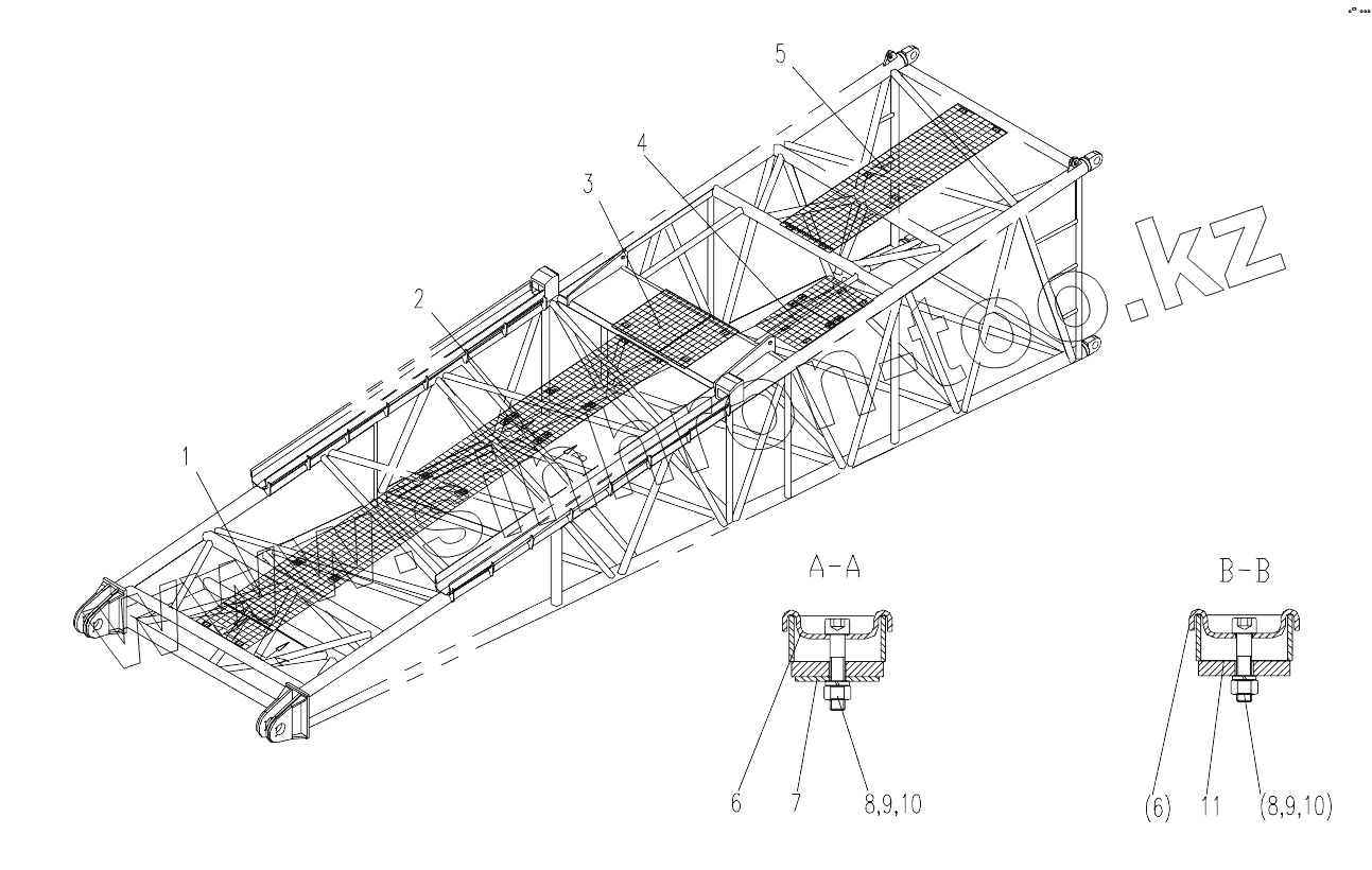
MAIN BOOM PIVOT SECTION ATTACHMENTS ASSEMBLY D00663400112400001Y
Каталог запасных частей к технике: Zoomlion QUY260CR-32Y. MAIN BOOM PIVOT SECTION ATTACHMENTS ASSEMBLY D00663400112400001Y
zoom-in
zoom-out
enlarge
shrink
circle-right
circle-left
file-text2
info
cart
Тип техники
Не выбрано
Легковые автомобили
Грузовые автомобили и прицепы
Автобусы
Сельхозтехника
Спецтехника
Двигатели
Мототехника
Марка
Не выбрано
Ammann
BOMAG
CARMIX
CASE IH
Changlin
ChengGong
Dimex
Doosan
DYNAPAC
Foton
HAMM
Hidromek
Hitachi
Hyundai
JCB
JLG
John Deere
Komatsu
LIEBHERR
LiuGong
Lonking (LongGong)
Luneng
MANITOU
Mitsuber
New Holland
PENGPU
RM-Terex
SANY
SDLG
SEM
Shantui
Shehwa HBXG
Soosan
TIGARBO
VOGELE
Volvo
WAY
WIRTGEN
XCMG
XGMA
Xiamen
YTO
Yuchai
Zoomlion
Автокран
АЗСМ
Алтайлесмаш
Амкодор
АОМЗ
Атек
АТЗ
Балканкар Рекорд
БелАЗ
Беловеж
Борекс
Брянский Арсенал
Булат
ВЭКС
ГАЗ
Геомаш
Гидромаш
Донекс
Дормаш
Дормашина
Дорэлектромаш
ДЭЗ
ЕлАЗ
ЗЗГТ
Ижнефтемаш
Канаш-электрокар
КЗКТ
ККЗ
Клевер
Клинцовский автокрановый завод
КМЗ
КМЗ 1 Мая
Ковровец
Коммаш
Кранэкс
КЭЗ
КЭМЗ
ЛЗА
МАЗ
МЗИК
МЗКМ
МЗКТ
Михневский РМЗ
МоАЗ
Мозырский МЗ
МТЗ
ОЗП
Онежец
ПАО "ТЗА"
ППС Детва
Промтрактор
ПТЗ
Раскат
СпецАгрегат
ТВЭКС
ТТМ
УВЗ
Угличмаш
УЗТМ
ХТЗ
ЧЗКМ
ЧСДМ
ЧТЗ
ЭКСКО
ЭКСМАШ
ЮрМаш
Модель
Не выбрано
33X-4Z
47X-5RZ
K56X-6RZ
PL2304 (2021)
QUY260CR-32Y
QY55V53232Z
RN (90-110 л.с.)
RS (2021)
RT-100 (2013)
RT-35 (2013)
RT-55 (2013)
RT-551 (4x4) (2013)
RT-75 (2013)
ZCC1100H (2014)
ZD160T(S,SH, CS)-3 (2012)
ZE205E (2013)
ZLJ5480JQZV3 (2013)
ZLJ5500V3 (2013)
ZLJ5550JQZV3.2 (2016)
ZT20J (2019)
ZT68J (2019)
Схема
>
Не выбрано
QUY260CR CRAWLER CRANE D00663400002000000Y
MAIN BOOM ASSY. D00663400120000000Y
MAIN BOOM HEAD ASSY. D00663400120400000Y
MAIN BOOM HEAD ATTACHMENTS ASSEMBLY D00663300102600001Y
MAIN BOOM PIVOT SECTION ATTACHMENTS ASSEMBLY D00663400102400001Y
MAIN BOOM PIVOT SECTION ATTACHMENTS ASSEMBLY D00663400112400001Y
ROPE SUPPORT D00663300102000000Y
ANGLE INDICATOR D00663300102200000Y
TIP BOOM ASSY. D00663400100800001Y
3M MAIN BOOM INTERMEDIATE SECTION ATTACHMENTS ASSEMBLY D00663300102800001Y
6M MAIN BOOM INTERMEDIATE SECTION ATTACHMENTS ASSEMBLY D00663300103000001Y
9M MAIN BOOM INTERMEDIATE SECTION ATTACHMENTS ASSEMBLY D00663300103200001Y
LUFFING JIB DERRICKING WINCH D00663402000400002Y
MAIN LOAD HOOK D00663404100000001Y
LOAD HOOK (160/100T) D00663404200200002Y
LOAD HOOK (50T) D00663404200400002Y
30T LOAD HOOK D00663304200600002Y
LOAD HOOK (16t) D00663804200800000Y
MAIN BOOM TILTING-BACK SUPPORT D00663303100200000Y
MAIN BOOM ANCHORING RODS D00663405400200001Y
LIGHT ANCHORING RODS D00663405401000001Y
INTERMEDIATE TENSIONERS ON LIGHT DUTY BOOM D00663405401200001Y
FIXED JIB D00663300200000001Y
FIXED JIB HEAD D00663300200600002Y
FIXED JIB FRONT ANCHORING RODS D00663305400600000Y
FIXED JIB REAR ANCHORING RODS D00663405400400001Y
FA-FRAME D00663307800000002Y
FRONT TILTING-BACK SUPPORT OF FIXED JIB D00663303100600000Y
REAR TILTING-BACK SUPPORT OF FIXED JIB D00663303100400000Y
FIXED JIB FRONT ANCHORING RODS ( CRANE USED TO LIFT TUNNEL BORING MACHINE) D00663405411000000Y
HEAVY FIXED JIB ASSY. D00663400300000000Y
FRONT ANCHORING RODS OF HEAVY FIXED JIB D00663405401400000Y
FIXED JIB REAR ANCHORING RODS ( CRANE USED TO LIFT TUNNEL BORING MACHINE ) D00663405411200000Y
LUFFING JIB D00663406620000000Y
LUFFING JIB HEAD ASSY. D00663406600400001Y
TIP BOOM ASSY. D00663406601200001Y
LUFFING JIB FRONT ANCHORING RODS D00663405401800000Y
WA-FRAME 1 D00663408020000000Y
WA-FRAME 2 DD00663407920000000Y
LUFFING JIB REAR ANCHORING RODS D00663405400600001Y
REAR TILTING-BACK SUPPORT OF LUFFING JIB D00663403100800002Y
SUPPORT ROD D00663303101400000Y
TILTING-BACK SUPPORT OF LUFFING JIB D00663403101200003Y
BOOM ELECTRICS D00663406410000001Y
MAIN BOOM ELECTRICS D00663406410200001Y
FIXED JIB ELECTRICS D00663406410400000Y
LUFFING JIB ELECTRICS D00663406410600001Y
PIPE LAYOUT DRAWING-BOOM HYDRAULIC SYSTEM D00663408800000000Y
ENGINE AND SUSPENSION SYSTEM D00663301010000000Y
INTERCOOLING SYSTEM D00663200900000000Y
FUEL SYSTEM OF CUMMINS ENGINE D00663401110000000Y
FUEL PRE – FILTER PRE – ASSEMBLY D00663201100200002Y
EXHAUST SYSTEM D00663301210000000Y
COOLING SYSTEM D00663301310000000Y
AIR INTAKE SYSTEM D00663301410000001Y
HYDRAULIC TANK D00663403000000000Y
OIL PUMP DRIVE DEVICE
OPERATOR’S CAB ASSEMBLY D00663400700000001Y
OPERATOR’S CAB ELECTRICS D00663406220000000Y
A-FRAME ASSY. D00663401800000000Y
A-FRAME ERECTION MECHANISM ASSEMBLY D00663301900000002Y
MOUNTING CYLINDER D00663403600000001Y
PIVOT SECTION BOLTING CYLINDER D00663305300000000Y
SLEWING TABLE ELECTRICS D00663406340000000Y
ACCUMULATOR CYLINDER ASSEMBLY D00663403101000000Y
BOARDING ASSEMBLY D00663400500000002Y
CUMMINS ENGINE HOUSING ASSEMBLY D00663405100000001Y
MAIN BOOM DERRICKING WINCH D00663402000200001Y
ROPE SUPPORT ASSEMBLY D00663402000600000Y
DERRICKING CROWN BLOCK D00663302100000002Y
HOISTING WINCH D00663403500000002Y
SLEWING MECHANISM D00663304400000003Y
SLEWING RING ASSEBMLY D00663404500000000Y
FIXING DEVICE FOR SLEWING TABLE D00663304700200001Y
MAIN BOOM ASSEMBLY D00663304700400001Y
ROPE PROTECTIVE COVER ASSEMBLY D00663304701200002Y
SLEWING TABLE SEAL PLATE ASSEMBLY D00663404700400000Y
REEVING WINCH ASSEMBLY D00663404700600000Y
COUNTERWEIGHT ASSEMBLY D00663404910000000Y
COUNTERWEIGHT BOLTING CYLNDER D00663307100000001Y
AIR CONDITIONING D00663407620000000Y
HYDRAULIC SYSTEM DIAGRAM D00663401500000001Y
HYDRAULIC SYSTEM DIAGRAM D00663401510000000Y
PIPE LAYOUT – SUPERSTRUCTURE HYDRAULIC SYSTEM D00663401600000001Y
PIPE LAYOUT – HYDRAULIC CIRCUITS OF WINCHES IN THE SLEWING TABLE D00663408500000000Y
PIPE LAYOUT – HYDRAULIC CIRCUITS OF SLEWING TABLE D00663408600000000Y
PIPE LAYOUT – HYDRAULIC CIRCUITS OF AUXILIARY DEVICES D00663408700000000Y
REEVING WINCH D00663408300000000Y
SUPPORT PLATE ASSEMBLY D00663400800000000Y
SUPPORT CYLINDER D00663302200000000Y
FOLDING BRACKET D00663405800000000Y
LEFT CRAWLER CARRIER ASSY. D00663402400000003Y
RIGHT CRAWLER CARRIER ASSY. D00663402500000003Y
CRAWLER CARRIER BOLTING CYLINDER D00663303200000000Y
ASSEMBLY OF LADDER ON CRAWLER CARRIER D00663304700600001Y
CRAWLER CARRIER ASSEMBLY D00663409600000000Y
PIPE LAYOUT – UNDERCARRIAGE HYDRAULIC SYSTEM D00663401700000002Y
OPERATOR’S CAB-1 D1130000067Y
OPERATOR’S CAB-2 D1130000067Y
OPERATOR’S CAB-3 D1130000067Y
OPERATOR’S CAB-4 D1130000067Y
OPERATOR’S CAB-5 D1130000067Y
OPERATOR’S CAB-6 D1130000067Y
OPERATOR’S CAB-7 D1130000067Y
OPERATOR’S CAB-8 D1130000067Y
OPERATOR’S CAB-9 D1130000067Y
OPERATOR’S CAB-10 D1130000067Y
DIESEL ENGINE D1000000004Y
A-FRAME ERECTION CYLINDER D1010200089Y
OPERATOR’S CAB TILTING CYLINDER D1010200003Y
COUNTERWEIGHT LIFTING CYLINDER D1010200006Y
LOAD MOMENT LIMITER ASSEMBLY D00663405600400000Y
LOAD MOMENT LIMITER D00663405600800000Y
1
2
3
4
5
6
6
7
8
8
9
9
10
10
11
Позиция на иллюстрации
Заводской номер детали
Название детали
1
1991900006
Grating RD-QUY400-7
2
1991900008
Grating RD-QUY400-23
3
1991900010
Grating RD-QUY600-1
4
1991900009
Grating 400x480 RD-QUY600-14
5
1991900007
Grating RD-QUY400-6
6
1991900001
Chuck plate RD-QUY400-16
7
00663600102401050
Plate
8
1040100166
Screw
9
1040200113
Nut
10
1040300067
Washer
11
1991900003
Connecting plate RD-QUY400-17
Содержащиеся в справочниках-каталогах запасные части и детали не предлагаются к продаже, а носят исключительно информационный характер
Дополнительная информация
×
Название:
Номер:
Примечание: