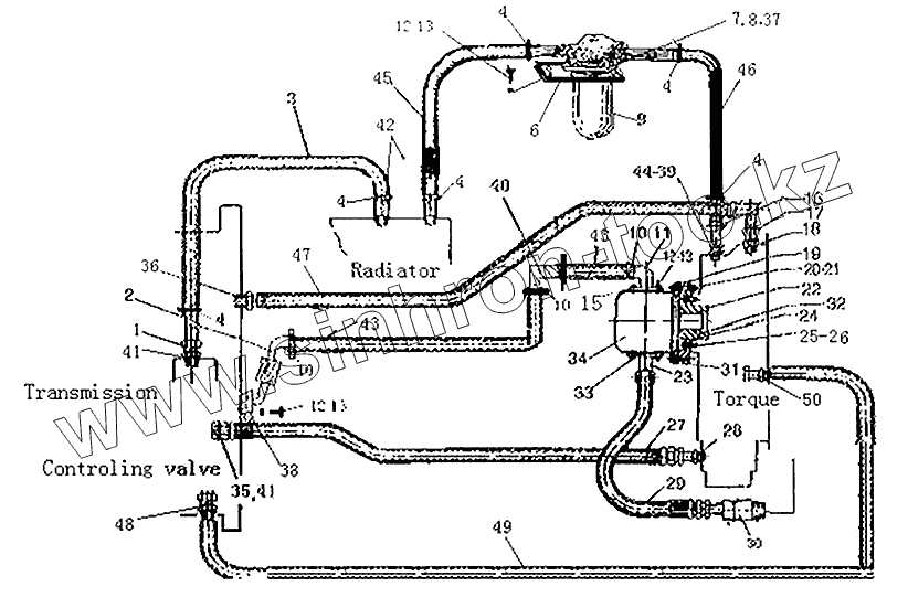
Каталог запасных частей к технике: Xiamen XZ636. Установка трансмиссионной гидравлической системы
1
2
3
4
4
4
4
4
4
6
7
8
9
10
10
10
11
12
12
12
13
13
13
15
16
17
18
19
20
21
22
23
24
25
26
27
28
29
30
31
32
33
34
35
36
37
38
39
40
41
41
42
43
43
44
45
46
47
48
49
50
| Позиция на иллюстрации | Заводской номер детали | Название детали | |
|---|---|---|---|
| 1 | W0104317001 | Полый болт М22х1,5х48 | |
| 2 | W0104317002 | Ассемблер масляного фильтра | |
| 3 | W0104317003 | Труба низкого давления масла (D=2300) | |
| 4 | W63605006004 | Зажим | |
| 6 | W0104317004 | Установочная пластина масляного фильтра | |
| 7 | B0100008035 | Болт М8х35 GB5781-86 | |
| 8 | B0200108003 | Шайба 8 GB93-87 | |
| 9 | W0104317200 | Ассемблер возвратного масляного фильтра | |
| 10 | B1601060000 | Зажим d60 | |
| 11 | W0104317300 | Ассемблер входного порта СВ32 насоса | |
| 12 | B0200110003 | Пружинная шайба 10 GB93-87 | |
| 13 | B0100010030 | Болт М10х30 GB5781-86 | |
| 15 | B0600135036 | "О"-кольцо 36х3,55 GB3452.1-88 | |
| 16 | W0104317005 | Соединитель М27х1,5 | |
| 17 | W0104317501 | Дренажный соединитель конвертера Z1”/трубный зажим | |
| 18 | W0104317006 | Соединительная шайба | |
| 19 | W0104317007 | Прокладка | |
| 20 | B0100010070 | Болт М10х70 GB901-86 | |
| 21 | B0300110060 | Гайка М10х6 GB6170-86 | |
| 22 | W0104317008 | Соединительная муфта насоса | |
| 23 | W0104317600 | Ассемблер дренажного порта на насос СВ32 | |
| 24 | W0104317009 | Прокладка | |
| 25 | B1000108020 | Винт М8х20 GB70-85 | |
| 26 | B0200108003 | Шайба 8 GB93-87 | |
| 27 | W01043178888 | Устройство шланга высокого давления 16/16 II-880 (0х90) | |
| 28 | W0104317010 | Соединитель дренажного порта предохранительного клапана R3/8” /М22х1,5 | |
| 29 | W0104317885 | Установка шланга высокого давления J19 II-960 (0°х60°) | |
| 30 | W0104317900 | Соединитель R3/4" / М30х2 | |
| 31 | W0104317011 | Муфта (соединение) | |
| 32 | B0400102502 | Упорное кольцо 25 GB894.1-86 | |
| 33 | B0600135047 | "О"-кольцо 47,5х3,55 GB3452.1-88 | |
| 34 | W0104303601 | Шестеренчатый насос | |
| 35 | W0104317110 | Соединитель на входном порте клапана | |
| 36 | W0105322044 | Соединитель М27х1,5/зажима трубы | |
| 37 | B0300108000 | Гайка M8 | |
| 38 | B0600145045 | "О"-кольцо 45,5х4,5 | |
| 39 | W63605006039 | Соединитель М24х1,5/М27х1,5 | |
| 40 | W63605006040 | Стальная труба | |
| 41 | B16000102200 | Соединительная шайба (D=22) | |
| 42 | W63605006042 | Соединитель | |
| 43 | W63605006043 | Резисторная труба низкого давления (D=30х200) | |
| 44 | B16000102400 | Соединительная шайба (D=24) | |
| 45 | W63605006045 | Резисторная труба низкого давления (D=19х1500) | |
| 46 | W63605006046 | Резисторная труба низкого давления (D=19х850) | |
| 47 | W63605006047 | Резисторная труба низкого давления (D=19х1600) | |
| 48 | W63605006048 | Соединитель | |
| 49 | W63605006049 | Труба | |
| 50 | W6360501976 | Соединитель |
Содержащиеся в справочниках-каталогах запасные части и детали не предлагаются к продаже, а носят исключительно информационный характер