Каталог запасных частей к технике: Xiamen XZ636. Установка радиатора
1
1
2
2
2
3
3
4
5
5
5
5
6
7
8
9
10
11
12
13
14
15
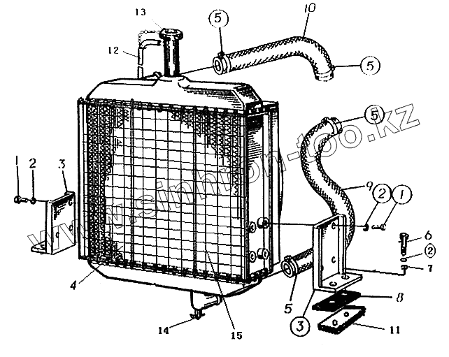
| Позиция на иллюстрации | Заводской номер детали | Название детали | |
|---|---|---|---|
| 1 | B0100012025 | Болт М12х25 GB5781-86 | |
| 2 | B0200212003 | Шайба 12 GB95-85 | |
| 3 | W0104307401 | Кронштейн | |
| 4 | W0104307400 | Радиатор воды и масла | |
| 5 | B1601060000 | Зажим d60 | |
| 6 | B0100012050 | Болт М12х50 GB5783-86 | |
| 7 | B0200112000 | Шайба 12 | |
| 8 | W0104314002 | Прокладка радиатора | |
| 9 | W0104314003 | Нижняя труба охлаждения | |
| 10 | W0104314001 | Верхняя труба охлаждения | |
| 11 | W63605001011 | Установочная платформа радиатора | |
| 12 | W63605001012 | Водосливная труба | |
| 13 | W63605001013 | Крышка | |
| 14 | W63605001014 | Пробка сливного отверстия | |
| 15 | W63605001014 | Пробка сливного отверстия |
Содержащиеся в справочниках-каталогах запасные части и детали не предлагаются к продаже, а носят исключительно информационный характер