Каталог запасных частей к технике: Xiamen XZ636. Установка гидравлической системы рабочего оборудования
1
2
3
4
4
4
4
4
4
5
5
6
6
6
6
7
8
9
9
10
11
11
11
12
12
12
12
12
12
12
12
12
12
13
13
13
13
13
13
13
13
13
13
14
14
14
14
14
15
16
16
17
17
18
18
19
20
20
20
20
20
21
22
26
29
31
36
37
38
39
40
41
42
43
44
45
46
46
46
47
47
47
48
48
49
49
50
51
52
54
55
56
57
58
59
60
61
62
63
64
65
66
66
66
67
68
69
70
71
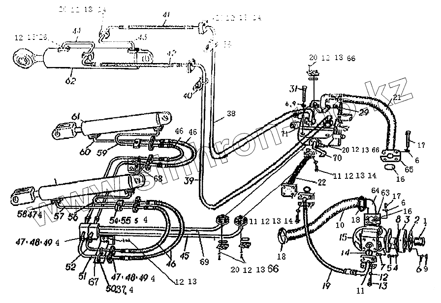
| Позиция на иллюстрации | Заводской номер детали | Название детали | |
|---|---|---|---|
| 1 | W0104319016 | Соединительная втулка насоса CBG2100 | |
| 2 | Z0104317009 | Прокладка | |
| 3 | W0104319015 | Соединение насоса CBG2100 | |
| 4 | B0200108003 | Шайба 8 GB93-87 | |
| 5 | B1000108025 | Винт М8х25 GB70-85 | |
| 6 | B0200112003 | Шайба 12 GB93-87 | |
| 7 | B0100050055 | Болт М50х55 GB5780-86 | |
| 8 | Z0104319014 | Прокладка | |
| 9 | B0300112001 | Гайка М12 GB6170-86 | |
| 10 | Z0105319201 | Всасывающая труба (D=46х650) | |
| 11 | Z0104319001 | Пластина давления | |
| 12 | B0100110003 | Шайба 10 GB93-87 | |
| 13 | B0100010030 | Болт М10х30 GB5781-86 | |
| 14 | B0600135036 | "О"-кольцо 36х3,55 GB3452.1-88 | |
| 15 | W0104306901 | Шестеренный насос | |
| 16 | B0600135047 | "О"-кольцо 47,5х3,55 GB3452.1-88 | |
| 17 | B0100012035 | Болт М12х55 GB5783-86 | |
| 18 | B1601070000 | Зажим d70 | |
| 19 | Z0105319101 | Дренажная труба насоса F25II- 1420 (0°Fх60°F) | |
| 20 | Z0104319001 | Пластина давления | |
| 21 | Z0105319002 | Резистентная труба при низком давлении масла | |
| 22 | Z0105306022 | Труба пневмораспределителя 25II-1230 (0х135) | |
| 26 | B0600135032 | "О"-кольцо 32х3,55 GB3452.1-82 | |
| 29 | B0100012030 | Болт М12х30 GB30-30-76 | |
| 31 | Z0104319004 | Болт М12х140 | |
| 36 | Z0104319005 | “V” резьба | |
| 37 | B0300108001 | Гайка М8 GB6170-86 | |
| 38 | Z0104319900 | Наклонная труба | |
| 39 | Z0104319101 | Труба выгрузки | |
| 40 | Z0104319013 | Установочное уплотнения II | |
| 41 | Z0105319102 | Наклонная труба F25II – 1050 (0 Fх90 F) | |
| 42 | Z0105319602 | Труба выгрузки F25II–1100 (0Fх90F) | |
| 43 | Z0104319150 | Наклонная муфта | |
| 44 | Z0104319180 | Муфта выгрузки | |
| 45 | Z0104319120 | Соединительная труба подъема | |
| 46 | Z0105319700 | Труба высокого давления подъема цилиндра F13II-1000 (0Fх0F) | |
| 47 | Z0104319001 | Пластина давления | |
| 48 | B0100008030 | Болт М8х30 GB5783-86 | |
| 49 | B0600135022 | "О"-кольцо 22х3,55 GB3452.1-82 | |
| 50 | W0104319009 | Винт | |
| 51 | Z0104319130 | Левое/правое подъемное соединение | |
| 52 | Z0104319140 | Левое/правое опускающее соединение | |
| 54 | Z0104319007 | Установочная пластина зажима | |
| 55 | Z0104319008 | Установочная пластина | |
| 56 | Z0104319100 | Подъемная труба левого подъемного цилиндра | |
| 57 | Z0104319110 | Опускающая труба левого подъемного цилиндра | |
| 58 | B0600135023 | "О"-кольцо 23х3,55 GB3452.1-82 | |
| 59 | Z0104319220 | Подъемная труба правового подъемного цилиндра | |
| 60 | Z0104319230 | Опускающая труба правого подъемного цилиндра | |
| 61 | 63605043 | Подъемный цилиндр | |
| 62 | 63605044 | Наклонный цилиндр | |
| 63 | W0105307063 | Пластина давления | |
| 64 | W0105307064 | Стальная труба | |
| 65 | W0105307065 | Пластина давления | |
| 66 | B0600135028 | "О"-кольцо 28Х3,55 GB3452.1-82 | |
| 67 | W0105307067 | Прокладка левой трубы | |
| 68 | W63605040068 | Правая прокладка | |
| 69 | Z63605040069 | Соединительная труба опускания | |
| 70 | W63605040070 | Труба F 25II–1240 (0°Fх90°F) | |
| 71 | 63605041 | Установка рабочего распределительного рабочего клапана |
Содержащиеся в справочниках-каталогах запасные части и детали не предлагаются к продаже, а носят исключительно информационный характер