Вернуться на главную
Поиск
Каталоги запчастей к технике
Спецтехника
XGMA
XG918
XG918I Fenyi ZL15A drive axle (в…ў)
Каталог запасных частей к технике: XGMA XG918. XG918I Fenyi ZL15A drive axle (в…ў)
zoom-in
zoom-out
enlarge
shrink
circle-right
circle-left
file-text2
info
cart
Тип техники
Не выбрано
Легковые автомобили
Грузовые автомобили и прицепы
Автобусы
Сельхозтехника
Спецтехника
Двигатели
Мототехника
Марка
Не выбрано
Ammann
BOMAG
CARMIX
CASE IH
Changlin
ChengGong
Dimex
Doosan
DYNAPAC
Foton
HAMM
Hidromek
Hitachi
Hyundai
JCB
JLG
John Deere
Komatsu
LIEBHERR
LiuGong
Lonking (LongGong)
Luneng
MANITOU
Mitsuber
New Holland
PENGPU
RM-Terex
SANY
SDLG
SEM
Shantui
Shehwa HBXG
Soosan
TIGARBO
VOGELE
Volvo
WAY
WIRTGEN
XCMG
XGMA
Xiamen
YTO
Yuchai
Zoomlion
Автокран
АЗСМ
Алтайлесмаш
Амкодор
АОМЗ
Атек
АТЗ
Балканкар Рекорд
БелАЗ
Беловеж
Борекс
Брянский Арсенал
Булат
ВЭКС
ГАЗ
Геомаш
Гидромаш
Донекс
Дормаш
Дормашина
Дорэлектромаш
ДЭЗ
ЕлАЗ
ЗЗГТ
Ижнефтемаш
Канаш-электрокар
КЗКТ
ККЗ
Клевер
Клинцовский автокрановый завод
КМЗ
КМЗ 1 Мая
Ковровец
Коммаш
Кранэкс
КЭЗ
КЭМЗ
ЛЗА
МАЗ
МЗИК
МЗКМ
МЗКТ
Михневский РМЗ
МоАЗ
Мозырский МЗ
МТЗ
ОЗП
Онежец
ПАО "ТЗА"
ППС Детва
Промтрактор
ПТЗ
Раскат
СпецАгрегат
ТВЭКС
ТТМ
УВЗ
Угличмаш
УЗТМ
ХТЗ
ЧЗКМ
ЧСДМ
ЧТЗ
ЭКСКО
ЭКСМАШ
ЮрМаш
Модель
Не выбрано
XG31651
XG918 (2010)
XG935H (2013)
XG935III (2011)
XG953III (2010)
XG955II (2010)
XG955III (2010)
XG958
Схема
>
Не выбрано
Diesel engine system (with LR4105G84 diesel engine)
XG918I diesel engine system (with YTR4108G97 diesel engine)
XG918I diesel engine system (with Weichai R4105G74 diesel engine)
Fuel Tank Assembly
Engine maintance
Torque Certor Piping (Torque converter and transmission oil Model: 6 -hydraulic transmission oil Oil quantity: 20L Executive Standard: According to Sinopec Standard Q / SH303 064-2004)
Torque Certor Piping
Torque Convertor
Gear Box
Forward Clutch Assembly
Gear-Box Revers Clutch Assembly
Gear-Box Middle Shaft
Gear-Box Output Shaft Assembly
Gear-Box Input Shaft Assembly
Gear-Box Housing Piping
Drive System
Feicheng ZL18 drive axle (I)
XG918 Fertilizer City ZL18 drive axle (II)
XG918 Fertilizer City ZL18 drive axle (III)
XG918 Fertilizer city ZL18 drive axle (в…Ј)
Drive System
XG918I Feicheng ZL16E drive axle (в… )
XG918I Feicheng ZL16E drive axle (в…Ў)
XG918I Feicheng ZL16E drive axle (в…ў)
XG918I Feicheng ZL16E drive axle (IV)
XG918I Fenyi ZL15A drive axle (в… )
XG918I Fenyi ZL15A drive axle (в…Ў)
XG918I Fenyi ZL15A drive axle (в…ў)
Steering System
Steering Device
Hydraulic System
Hydraulic System
Hydraulic System
Hydraulic Tank
Valve
Gas Brake System
Gas Brake System
Hand Brake System
Chassis
Chassis
Chassis
Chassis
Chassis
Implements
Cab Assembly
Cover system
Cover System
Lamp stand
Mudguard assembly
Electrical System
Air-condition System
Hydraulic System
Hydraulic System
Hydraulic System
Hydraulic System
Hydraulic System
Hydraulic Oil Tank
Implements
Light material bucket
Massive rock bucket
Particle rock bucket
Paper and Grass Grapple
Paper and Grass Grapple
Side-discharging Bucket
Side-discharging Bucket
Small Wood Grapple
Small Wood Grapple
Snow Removal Device
Snow Removal Device
Snow Removal Device
Snow Removal Device
Snow Removal Device
Large Wood Jaw Grapple
Large Wood Jaw Grapple
Paper Grapple
Paper Grapple
Wood Jaw
Wood Jaw
Circle Wood Jaw
Circle Wood Jaw
Quick-Exchanging Bucket
Hydraulic shortcut frame
4-in-1 Bucket
4-in-1 Bucket
Quick-Exchanging Wood JAW
Quick-Exchanging Wood JAW
Quick-Exchanging Fork
Quick-Exchanging Feed Bucket
Quick-Exchanging Feed Bucket
Quick-Exchanging Feed Bucket
Quick-Exchanging Bark Jaw
Quick-Exchanging Bark Jaw
Meter Panel
Pilot Controller
XG918 Series Wheel Loader Maintenance List
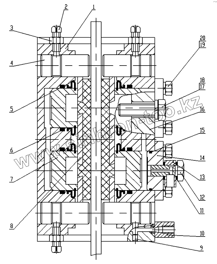
1
2
3
4
5
6
7
8
9
10
11
12
13
14
15
16
17
18
19
20
Позиция на иллюстрации
Заводской номер детали
Название детали
1
ZL15·2·4-1A
Pincers
2
GB85-88
Bolt
3
GB6171-86
Nut
4
ZL15·2·4-2
Pin
5
ZL15·2·4-5
Dust shield
6
GB1235-76
O-ring
7
ZL15·2·4-7
Pistin
8
ZL15·2·4·1
Brake disk
9
ZL15·2·4-6A
Pin
10
ZL15·2·4-8
Screw
11
JB982-77
Washer
12
JB999-77
Bolt
13
JB998-77
Hose fitting
14
ZL15·2·4-13
Cover
15
GB1235-76
O-ring
16
ZL15·2·4-14
Cover
17
GB93-87
Washer
18
GB5786-86
Bolt
19
GB93-87
Washer
20
GB5783-86
Bolt
Содержащиеся в справочниках-каталогах запасные части и детали не предлагаются к продаже, а носят исключительно информационный характер
Дополнительная информация
×
Название:
Номер:
Примечание: