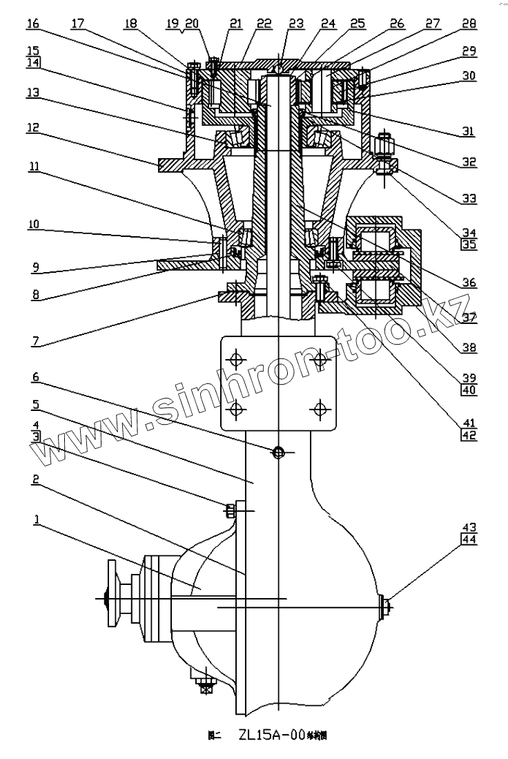
Каталог запасных частей к технике: XGMA XG918. XG918I Fenyi ZL15A drive axle (в… )
1
2
3
4
5
6
7
8
9
10
11
12
13
14
15
16
17
18
19
20
21
22
23
24
25
26
27
28
29
30
31
32
33
34
35
36
37
38
39
40
41
42
43
44
| Позиция на иллюстрации | Заводской номер детали | Название детали | |
|---|---|---|---|
| 1 | ZL15·2·5 | Retarder | |
| 2 | ZL15·2-12 | Washer | |
| 3 | GB5783-86 | Bolt | |
| 4 | GB93-87 | Washer | |
| 5 | ZL15A-8 | Cover | |
| 6 | BJ130-2401070 | Plug | |
| 7 | PR35·32-10 | Washer | |
| 8 | HG4-692-67 | Seal | |
| 9 | ZL15A-13 | Washer | |
| 10 | GB119-86 | Pin | |
| 11 | GB297-84 | Bearing | |
| 12 | ZL15A-7 | Cover | |
| 13 | GB297-84 | Bearing | |
| 14 | GQQ1514-22 | Plug | |
| 15 | JB982-77 | Washer | |
| 16 | ZL15A-6 | Differential axle | |
| 17 | ZL15A·1-3A | Plant pinion | |
| 18 | ZL10·2-2A | O-ring | |
| 19 | GB5783-86 | Bolt | |
| 20 | GB93-87 | Washer | |
| 21 | GB3452.1-82 | O-ring | |
| 22 | ZL15·2-6B | Cover | |
| 23 | GB308-84 | Ring snap | |
| 24 | GB894.1-86 | Snap ring | |
| 25 | ZL15A-5 | Sun gear | |
| 26 | GB308-84 | Ring snap | |
| 27 | ZL15·2·2-2 | Shaft | |
| 28 | GB309-84 | Roller assembly | |
| 29 | ZL15A·1-1 | Gear | |
| 30 | ZL15·2·2-3 | Ring snap | |
| 31 | ZL10·2·3A | Gear | |
| 32 | ZL15·2-13 | Nut | |
| 33 | ZL15·2-14 | Washer | |
| 34 | ZL15A-2 | Bolt | |
| 35 | ZL15A-1 | Nut | |
| 36 | ZL15A-9 | Shaft | |
| 37 | ZL15A·2-1 | Brake disk | |
| 38 | ZL15·2·4 | Brake disk | |
| 39 | GB5786-86 | Bolt | |
| 40 | GB93-87 | Washer | |
| 41 | GB5786-86 | Bolt | |
| 42 | GB93-87 | Washer | |
| 43 | ZL15·2-10 | Plug | |
| 44 | JB982-77 | Washer |
Содержащиеся в справочниках-каталогах запасные части и детали не предлагаются к продаже, а носят исключительно информационный характер