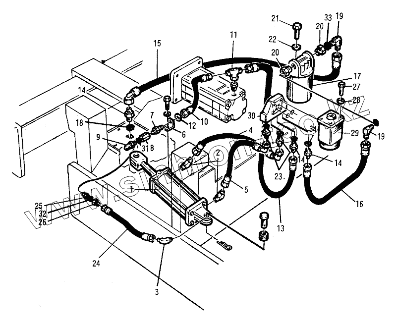
Каталог запасных частей к технике: XCMG YZC7. 401511 Гидравлическая система рулевого управления
1
2
3
4
5
6
7
8
9
10
11
12
13
14
14
14
15
16
17
18
19
19
20
20
21
22
23
24
25
26
27
28
29
30
32
33
| Позиция на иллюстрации | Заводской номер детали | Название детали | |
|---|---|---|---|
| 1 | 203590 | Цилиндр | |
| 2 | 401700 | Адаптер | |
| 3 | А3-1780 | Адаптер | |
| 4 | А4-0110 | Шланг | |
| 5 | А4-0100 | Шланг | |
| 6 | 401720 | Кронштейн | |
| 7 | А3-1790 | Адаптер | |
| 8 | 401730 | Ниппель | |
| 9 | Т1-0341 | Адаптер для определения давления | |
| 10 | А4-1600 | Шланг | |
| 11 | 401740 | Адаптер | |
| 12 | С3-1140 | Гайка | |
| 13 | Шланг | Шланг | |
| 14 | А3-1775 | Адаптер | |
| 15 | А4-0180 | Шланг | |
| 16 | Шланг | Шланг | |
| 17 | А2-0100 | Фильтр | |
| 18 | А5-4180 | Шайба | |
| 19 | А3-1775 | Адаптер | |
| 20 | 401710 | Адаптер | |
| 21 | С0-0180 | Bolt | |
| 22 | С4-3200 | Washer | |
| 23 | А3-1735 | Адаптер | |
| 24 | А4-1590 | Шланг | |
| 25 | Ниппель смазочного шприца | Ниппель смазочного шприца | |
| 26 | А3-1755 | Адаптер | |
| 27 | С0-0320 | Bolt | |
| 28 | С4-3220 | Шайба | |
| 29 | Клапан рулевой системы | Клапан рулевой системы | |
| 30 | Блок клапанов | Блок клапанов | |
| 32 | А5-4140 | Шайба | |
| 33 | А5-4180 | Шайба |
Содержащиеся в справочниках-каталогах запасные части и детали не предлагаются к продаже, а носят исключительно информационный характер