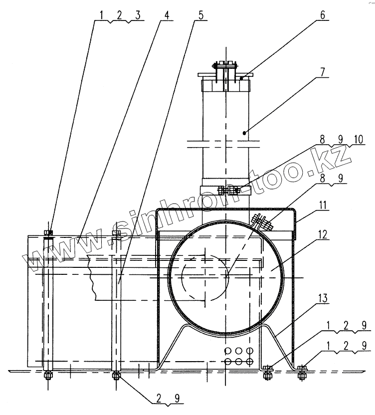
Каталог запасных частей к технике: XCMG XZ65K. Установка глушителя
1
1
1
2
2
2
2
3
4
5
6
7
8
8
9
9
9
9
9
10
11
12
13
| Позиция на иллюстрации | Заводской номер детали | Название детали | |
|---|---|---|---|
| 1 | 10420002 | Screw M10x20 | |
| 2 | 10440006 | Washer 10 | |
| 3 | 10440009 | Washer 10 | |
| 4 | XZ16K.47.5A | Exhaust pipe shell | |
| 5 | XZ16K.47-4 | Support pole | |
| 6 | XZ16K.47.1А | Muffler cover | |
| 7 | XZ16K.47-2 | Caudal pipe | |
| 8 | 10420001 | Воlt М10х45 | |
| 9 | 10430004 | Nut M10 | |
| 10 | XZ16K.45-39 | Clip | |
| 11 | XZ16K.47.3A | Muffler shell | |
| 12 | 11210346 | Мufflеr | |
| 13 | XZ16K.47.6A | Muffler support |
Содержащиеся в справочниках-каталогах запасные части и детали не предлагаются к продаже, а носят исключительно информационный характер