Каталог запасных частей к технике: XCMG XZ360E. 425402616 Cooling System
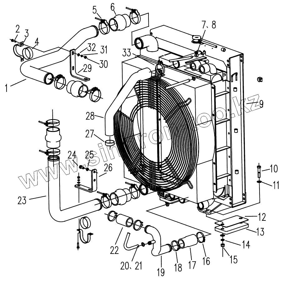
1
2
3
4
5
6
7
8
9
10
11
12
13
14
15
16
17
18
19
20
21
22
23
24
25
26
27
28
29
30
31
32
33
| Позиция на иллюстрации | Заводской номер детали | Название детали | |
|---|---|---|---|
| 1 | 425402609 | Inlet Air Pipe | |
| 2 | 805000020 | Болт М8х30 | |
| 3 | 425101478 | Clamps | |
| 4 | 425101120 | Rubber Mats | |
| 5 | 801969539 | T- Clamp | |
| 6 | 425101111 | Hose | |
| 7 | 800151549 | Clamps | |
| 8 | 801969376 | Hose | |
| 9 | 803085257 | Radiator | |
| 10 | 805000472 | Bolt | |
| 11 | 805300144 | Шайба 14 | |
| 12 | 425102343 | Adjustment Pad | |
| 13 | 425102342 | Plat | |
| 14 | 805300033 | Washer | |
| 15 | 805200067 | Гайка M14 | |
| 16 | 801900254 | T-Clamp | |
| 17 | 425402608 | Hose | |
| 18 | 801969566 | T-Clamp | |
| 19 | 425402606 | Inlet Hose | |
| 20 | 805801461 | Clamp | |
| 21 | 801972156 | Hose | |
| 22 | 425102421 | Hose | |
| 23 | 425402605 | Outlet Air Pipe | |
| 24 | 805000715 | Болт M12x25 | |
| 25 | 805300018 | Шайба 12 | |
| 26 | 425402607 | Bracket | |
| 27 | 801900100 | T-Clamp | |
| 28 | 425402613 | Outlet Hose | |
| 29 | 425402612 | Bracket Plate | |
| 30 | 805200045 | Гайка М8 | |
| 31 | 805300010 | Шайба 8 | |
| 32 | 805300069 | Шайба 8 | |
| 33 | 801969548 | T-Clamp |
Содержащиеся в справочниках-каталогах запасные части и детали не предлагаются к продаже, а носят исключительно информационный характер