Вернуться на главную
Поиск
Каталоги запчастей к технике
Спецтехника
XCMG
XZ320
0041613000 Mud Systerm
Каталог запасных частей к технике: XCMG XZ320. 0041613000 Mud Systerm
zoom-in
zoom-out
enlarge
shrink
circle-right
circle-left
file-text2
info
cart
Тип техники
Не выбрано
Легковые автомобили
Грузовые автомобили и прицепы
Автобусы
Сельхозтехника
Спецтехника
Двигатели
Мототехника
Марка
Не выбрано
Ammann
BOMAG
CARMIX
CASE IH
Changlin
ChengGong
Dimex
Doosan
DYNAPAC
Foton
HAMM
Hidromek
Hitachi
Hyundai
JCB
JLG
John Deere
Komatsu
LIEBHERR
LiuGong
Lonking (LongGong)
Luneng
MANITOU
Mitsuber
New Holland
PENGPU
RM-Terex
SANY
SDLG
SEM
Shantui
Shehwa HBXG
Soosan
TIGARBO
VOGELE
Volvo
WAY
WIRTGEN
XCMG
XGMA
Xiamen
YTO
Yuchai
Zoomlion
Автокран
АЗСМ
Алтайлесмаш
Амкодор
АОМЗ
Атек
АТЗ
Балканкар Рекорд
БелАЗ
Беловеж
Борекс
Брянский Арсенал
Булат
ВЭКС
ГАЗ
Геомаш
Гидромаш
Донекс
Дормаш
Дормашина
Дорэлектромаш
ДЭЗ
ЕлАЗ
ЗЗГТ
Ижнефтемаш
Канаш-электрокар
КЗКТ
ККЗ
Клевер
Клинцовский автокрановый завод
КМЗ
КМЗ 1 Мая
Ковровец
Коммаш
Кранэкс
КЭЗ
КЭМЗ
ЛЗА
МАЗ
МЗИК
МЗКМ
МЗКТ
Михневский РМЗ
МоАЗ
Мозырский МЗ
МТЗ
ОЗП
Онежец
ПАО "ТЗА"
ППС Детва
Промтрактор
ПТЗ
Раскат
СпецАгрегат
ТВЭКС
ТТМ
УВЗ
Угличмаш
УЗТМ
ХТЗ
ЧЗКМ
ЧСДМ
ЧТЗ
ЭКСКО
ЭКСМАШ
ЮрМаш
Модель
Не выбрано
500KN, 500KSN (2013)
DT-140B (2010)
LW-166 (2008)
LW-541F (2010)
LW300FN (2013)
LW300KN (2013)
LW321F (2010)
QY25K (2010)
QY25K5-I (2009)
QY30K5-I (2009)
QY30KH (2009)
QY30KL (2009)
QY30KT5 (2009)
QY50K (2010)
QY50K (вариант) (2010)
QY65K (2010)
QY70K (2010)
QY70K (вариант) (2010)
WZ30-25 (2008)
WZ30-25 (англ.) (2008)
XCT25L4_S (2019)
XCT25L5_S (2019)
XE150D (2011)
XE230 (2011)
XE80 (2012)
XS143 (2017)
XS160 (XS190) (2010)
XSM218 (XSM220) (2010)
XSM218, XSM220 (2010)
XZ16K-XZ50K (2010)
XZ200 (2014)
XZ320 (2012)
XZ360E (2016)
XZ500 (2012)
XZ65K (2010)
XZ680A (2014)
YL16 (YL20) (2008)
YZC7 (2010)
ZL30BR (2014)
ZL30G (2008)
ZL30H (2012)
ZL50G (2008)
Автогрейдер-GR135 (2012)
ГНБ XZ-180 (2012)
Катки XD30, XD40 (2008)
Раб. оборуд. грейдеров GR (2010)
Схема
>
Не выбрано
0042400000 XZ320 Horizontal Directional Drill
0041800000 XZ320A Horizontal Directional Drill
0042200000 XZ320B Horizontal Directional Drill
0043000000 XZ320D Horizontal Directional Drill
0041606023 Anchor
0041706000 Anchor
0041605000 Clamp
0041614029 Manipulative Desk
0041604000 The Power Unit
0043004000 The Power Unit
0042203000 The Handing Device Assembly Of Drilling Rod
0041810002 Left Control Panel
0042210005 Left Control Panel
0042410002 Left Control Panel
0043010001 Left Control Panel
0041610001 Right Control Panel
0042210002 Right Control Panel
0042410001 Right Control Panel
0041610005 Assistant Panel
0041610008 Relay Panel
0042210008 Relay Panel
0042410004 Relay Panel
0043010002 Relay Panel
0041608000 Fuel Tank
0042412000 Hydraulic System
0042412000 Hydraulic System
0042412000 Hydraulic System
0042412000 Hydraulic System
0042412000 Hydraulic System
0042412000 Hydraulic System
0042412000 Hydraulic System
0042412000 Hydraulic System
0042412000 Hydraulic System
0042412000 Hydraulic System
0042412000 Hydraulic System
0042412000 Hydraulic System
0042412000 Hydraulic System
0042412000 Hydraulic System
0041812000 Hydraulic System
0041812000 Hydraulic System
0041812000 Hydraulic System
0041812000 Hydraulic System
0041812000 Hydraulic System
0041812000 Hydraulic System
0041812000 Hydraulic System
0041812000 Hydraulic System
0041812000 Hydraulic System
0041812000 Hydraulic System
0041812000 Hydraulic System
0041812000 Hydraulic System
0041812000 Hydraulic System
0041812000 Hydraulic System
0042212000 Hydraulic System
0042212000 Hydraulic System
0042212000 Hydraulic System
0042212000 Hydraulic System
0042212000 Hydraulic System
0042212000 Hydraulic System
0042212000 Hydraulic System
0042212000 Hydraulic System
0042212000 Hydraulic System
0042212000 Hydraulic System
0042212000 Hydraulic System
0042212000 Hydraulic System
0042212000 Hydraulic System
0042212000 Hydraulic System
0042212000 Hydraulic System
0042212000 Hydraulic System
0042212000 Hydraulic System
0042212000 Hydraulic System
0042212000 Hydraulic System
0042212000 Hydraulic System
0043012000 Hydraulic System
0043012000 Hydraulic System
0043012000 Hydraulic System
0043012000 Hydraulic System
0043012000 Hydraulic System
0043012000 Hydraulic System
0043012000 Hydraulic System
0043012000 Hydraulic System
0043012000 Hydraulic System
0043012000 Hydraulic System
0043012000 Hydraulic System
0043012000 Hydraulic System
0043012000 Hydraulic System
0043012000 Hydraulic System
0043012000 Hydraulic System
0042212013 Hydraulic Tank
0042212013 Hydraulic Tank
0042212013 Hydraulic Tank
0042212013 Hydraulic Tank
0042407000 Engine System
0042407010 Air Filter Assembly
0042407103 Radiator Assembly
0042407001 Radiator Assembly
0042407134 Radiator Assembly
0041607160 Muffler System
0041709000 Engine Hood and Covers
0041613000 Mud Systerm
0041613000 Mud Systerm
0041613000 Mud Systerm
0041613000 Mud Systerm
0041613000 Mud Systerm
0042402000 Drill Frame
0041802000 Drill Frame
0042202000 Drill Frame
0043002000 Drill Frame
0041602069 Frame
0041601000 Track Group
0041601001 and 0041601041 Crawler
0041601200 and 0041601088 Crawler
004130485 Track Roller And Idler Device
0041601091 Track Roller And Idler Device
0041201010 Lower Roller
0041601090 Lower Roller
0041301019 and 0041301021 Assembly
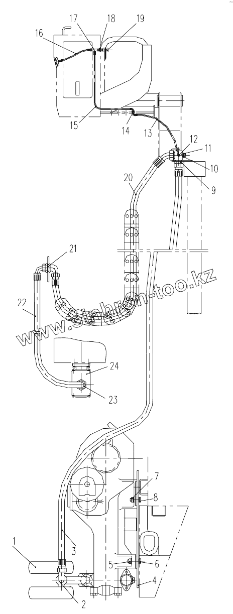
1
2
3
4
5
6
7
8
9
10
11
12
13
14
15
16
17
18
19
20
21
22
23
24
Позиция на иллюстрации
Заводской номер детали
Название детали
1
106000269
Mud Pump
2
0041613027
Coupler
3
101028294
Hose
4
0041613022
Plate
5
104030018
Nut 20
6
104000316
Bolt
7
104030167
Nut
8
104000473
Bolt
9
101020780
Nut
10
101030197
Port
11
0041213002
Coupler
12
101020005
Union
13
101020819
Tube
14
101020766
Coupler
15
101020816
Hose
16
101023307
Tube
17
101022532
Coupler
18
101020742
Coupler
19
106000291
Shutoff Valve
20
101022507
Tube
21
101020771
Coupler
22
101025462
Tube
23
101025050
Coupler
24
0041613037
Mud Swivel
Содержащиеся в справочниках-каталогах запасные части и детали не предлагаются к продаже, а носят исключительно информационный характер
Дополнительная информация
×
Название:
Номер:
Примечание: