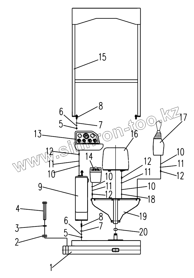
Каталог запасных частей к технике: XCMG XZ200. 425101862 Manipulative desk Standard
1
2
3
4
5
5
6
6
7
7
8
8
9
10
10
10
10
11
11
11
11
12
12
12
12
13
14
15
16
17
18
19
20
| Позиция на иллюстрации | Заводской номер детали | Название детали | |
|---|---|---|---|
| 1 | 425101881 | Bottom Border | |
| 2 | 805200113 | Nut | |
| 3 | 805300077 | Spring Washer | |
| 4 | 805000494 | Bolt | |
| 5 | 805203629 | Nut | |
| 6 | 805300018 | Шайба 12 | |
| 7 | 805300113 | Washer | |
| 8 | 805000045 | Болт M12x40 | |
| 9 | 802139777 | Cover | |
| 10 | 805300117 | Шайба 8 | |
| 11 | 805300010 | Шайба 8 | |
| 12 | 805000020 | Болт М8х30 | |
| 13 | 802139776 | Instrument Box | |
| 14 | 802139778 | Left Control Box | |
| 15 | 425101903 | Coping | |
| 16 | 425101863 | Seat | |
| 17 | 802139779 | Right Control Box | |
| 18 | 805200045 | Гайка М8 | |
| 19 | 425101864 | Seat Bracket | |
| 20 | 800553503 | Oil-less Bearing |
Содержащиеся в справочниках-каталогах запасные части и детали не предлагаются к продаже, а носят исключительно информационный характер