Вернуться на главную
Поиск
Каталоги запчастей к технике
Спецтехника
XCMG
XZ16K-XZ50K
XZ16K.51A Oil Pump Assy
Каталог запасных частей к технике: XCMG XZ16K-XZ50K. XZ16K.51A Oil Pump Assy
zoom-in
zoom-out
enlarge
shrink
circle-right
circle-left
file-text2
info
cart
Тип техники
Не выбрано
Легковые автомобили
Грузовые автомобили и прицепы
Автобусы
Сельхозтехника
Спецтехника
Двигатели
Мототехника
Марка
Не выбрано
Ammann
BOMAG
CARMIX
CASE IH
Changlin
ChengGong
Dimex
Doosan
DYNAPAC
Foton
HAMM
Hidromek
Hitachi
Hyundai
JCB
JLG
John Deere
Komatsu
LIEBHERR
LiuGong
Lonking (LongGong)
Luneng
MANITOU
Mitsuber
New Holland
PENGPU
RM-Terex
SANY
SDLG
SEM
Shantui
Shehwa HBXG
Soosan
TIGARBO
VOGELE
Volvo
WAY
WIRTGEN
XCMG
XGMA
Xiamen
YTO
Yuchai
Zoomlion
Автокран
АЗСМ
Алтайлесмаш
Амкодор
АОМЗ
Атек
АТЗ
Балканкар Рекорд
БелАЗ
Беловеж
Борекс
Брянский Арсенал
Булат
ВЭКС
ГАЗ
Геомаш
Гидромаш
Донекс
Дормаш
Дормашина
Дорэлектромаш
ДЭЗ
ЕлАЗ
ЗЗГТ
Ижнефтемаш
Канаш-электрокар
КЗКТ
ККЗ
Клевер
Клинцовский автокрановый завод
КМЗ
КМЗ 1 Мая
Ковровец
Коммаш
Кранэкс
КЭЗ
КЭМЗ
ЛЗА
МАЗ
МЗИК
МЗКМ
МЗКТ
Михневский РМЗ
МоАЗ
Мозырский МЗ
МТЗ
ОЗП
Онежец
ПАО "ТЗА"
ППС Детва
Промтрактор
ПТЗ
Раскат
СпецАгрегат
ТВЭКС
ТТМ
УВЗ
Угличмаш
УЗТМ
ХТЗ
ЧЗКМ
ЧСДМ
ЧТЗ
ЭКСКО
ЭКСМАШ
ЮрМаш
Модель
Не выбрано
500KN, 500KSN (2013)
DT-140B (2010)
LW-166 (2008)
LW-541F (2010)
LW300FN (2013)
LW300KN (2013)
LW321F (2010)
QY25K (2010)
QY25K5-I (2009)
QY30K5-I (2009)
QY30KH (2009)
QY30KL (2009)
QY30KT5 (2009)
QY50K (2010)
QY50K (вариант) (2010)
QY65K (2010)
QY70K (2010)
QY70K (вариант) (2010)
WZ30-25 (2008)
WZ30-25 (англ.) (2008)
XCT25L4_S (2019)
XCT25L5_S (2019)
XE150D (2011)
XE230 (2011)
XE80 (2012)
XS143 (2017)
XS160 (XS190) (2010)
XSM218 (XSM220) (2010)
XSM218, XSM220 (2010)
XZ16K-XZ50K (2010)
XZ200 (2014)
XZ320 (2012)
XZ360E (2016)
XZ500 (2012)
XZ65K (2010)
XZ680A (2014)
YL16 (YL20) (2008)
YZC7 (2010)
ZL30BR (2014)
ZL30G (2008)
ZL30H (2012)
ZL50G (2008)
Автогрейдер-GR135 (2012)
ГНБ XZ-180 (2012)
Катки XD30, XD40 (2008)
Раб. оборуд. грейдеров GR (2010)
Схема
>
Не выбрано
JSQ Cab
XZ16K.25A Lighting System
XZ16K.26 Beam Wires
XZ25K.26 Beam Wires
XZ35K.26 Beam Wires
XZ50K.26 Beam Wires
XZ16K.74 Battery Box
XZ16K.39A Air Reservoir Assembly
XZ35K.39А Air Reservoir Assembly
XZ16K.41.1А Foot Relay Valve Assembly
XZ16K.41.2A Solenoid Valve Assembly
XZ16K.41.3А Foot Relay Valve Assembly
XZ16K.41.4А Hand Relay Valve Assembly
XZ16K.41.5А Solenoid Valve Assembly
XZ16K.41.6 Air Dryer Assembly
XZ16K.41.7 Air Reservoir Assembly
XZ16K.42A Air Circuit Pipe Assembly
XZ35K.42 Air Circuit Pipe Assembly
XZ50K.42 Air Circuit Pipe Assembly
XZ16K.45B Engine Fixing (1)
XZ16K.45B Engine Fixing (2)
XZ16K.45B Engine Fixing (3)
XZ16K.45B Engine Fixing (4)
XZ16K.45В Engine Fixing (5)
XZ16K.45B Engine Fixing (6)
XZ25К.45 Engine Install (I)
XZ25K.45 Engine Install(II)
XZ25K.45.15A Engine Accelerator And Put Off
XZ35K.45A Engine Install (I)
XZ35K.45A Engine Install (II)
XZ35K.45A Engine Install (III)
XZ16K.46 Fuel Tank
XZ35K.46 Fuel Tank
XZ16K.47A Muffler Install
XZ16K.48A Radiator Ass'y
XZ50K.48 Radiator Assy
XZ16K.50A Gear - box and Suspension
XZ50K.50A Gear - box and Suspension
XZ16K.51A Oil Pump Assy
XZ35K.51A Oil Pump Assy
XZ50K.51 Oil Pump Assy
XZ16K.53A Transmission Shaft
XZ35K.53 Transmission Shaft
XZ50K.53A Transmission Shaft
XZ16K.54A Front Axle
XZ35K.54A Front Axle
XZ50K.54A Front Axle
XZ16K.55A Front Suspension
XZ35K.55 Front Suspension
XZ16K.56A Middle Axle
XZ25K.56 Middle Axle
XZ50K.56A Middle Axle
XZ16K.57A Rear Axle
XZ25K.57 Rear Axle
XZ50K.57A Rear Axle
XZ16K.58A Rear Suspension (Plate Spring Fixing)
XZ16K.58A Rear Suspension (Pull Rod Fixing)
XZ16K.58A Rear Suspension (Balancebeam Fixing)
XZ16K.37A Steering Hydraulic System
XZ25K.37A Steering Hydraulic System
XZ50K.37A Steering Hydraulic System
XZ16K.65 Steering System(Sreering Gear And Vertical)
XZ35K.65 Steering System
XZ50K.65 Steering System
XZ16K.67 Air Filter Install
XZ16K.70A Transmission Operation
XZ50K.70 Transmission Operation
XZ16K.83A Air Conditioning Unit
XZ25K.83A Air Conditioning Unit
QY16K.65 Carrier Pipe Assembly
QY16K.65.1 Pipes For Oil Return And Oil Drain
QY16K.65.2 Pipes For Pressure Oil
QY16K.65.3 Pipes For Vavle To Outrigger
QY16K.65.4 Pipes For Vavle To Outrigger
QY16K.65.5 Slide Guide For Fix
QY25K.65 Carrier Pipe Assembly
QY25K.65.1 Pipes For Front Outrigger Oil
QY35K.65 Carrier Pipe Assembly
QY35K.65.1 Pipes For Oil Return And Oil Drain
QY35K.65.2 Pipes For Pressure Oil
QY35K.65.3 Pipes For Vavle To Outrigger
QY35K.65.4А Slide Guide For Fix
QY50K.65 Carrier Pipe Assembly
QY50K.65.1 Pipes For Vavle To Outrigger
QY50K.65.2 Slide Guide For Fix
QY50K.65.3 Pipes For Pressure Oil
QY50K.65II Carrier Pipe Assembly
QY16K.66 Hydraulic Oil Tank
QY35K.66 Hydraulic Oil Tank
QY65K.67 Hydraulic Oil Tank Support
QY35K.67 Hydraulic Oil Tank Support
QY16K.70A Central Revolving Body
QY16K.72A Outrigger Operation System
QY25K.72A Outrigger Operation System
QY35K.72 Outrigger Operation System
QY50K.72 Outrigger Operation System
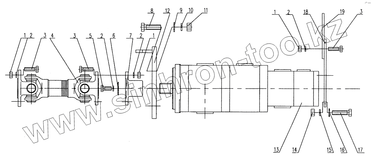
1
1
1
2
2
2
2
3
3
3
4
5
6
7
8
9
10
11
12
13
14
15
16
17
18
19
Позиция на иллюстрации
Заводской номер детали
Название детали
1
10430004
Nut M10
2
10440006
Washer 10
3
10410058
Bolt M10x35
4
10310113
Рrоpеllеr
5
10430021
Bolt M10x25
6
ХZ16К.51-1
Shаft hеаd соvеr
7
ХZ16К.51-2
Оil pump flаngе disс
8
10410285
Воlt М14х50
9
10440025
Wаshеr 14
10
10440137
Wаshеr 14
11
10430026
Nut М14
12
ХZ16К.51-3А
Рump suppоrt
13
10100141
Оil pump
14
10430005
Nut M12
15
10440010
Washer 12
16
10440009
Washer 10
17
10410016
Bolt M12x50
18
ХZ16К.51-4
Рlаtе
19
ХZ16К.51-5А
Рlаtе
Содержащиеся в справочниках-каталогах запасные части и детали не предлагаются к продаже, а носят исключительно информационный характер
Дополнительная информация
×
Название:
Номер:
Примечание: