Вернуться на главную
Поиск
Каталоги запчастей к технике
Спецтехника
XCMG
XS143
228501332 INSTRUMENT PANEL ELECTRIC
Каталог запасных частей к технике: XCMG XS143. 228501332 INSTRUMENT PANEL ELECTRIC
zoom-in
zoom-out
enlarge
shrink
circle-right
circle-left
file-text2
info
cart
Тип техники
Не выбрано
Легковые автомобили
Грузовые автомобили и прицепы
Автобусы
Сельхозтехника
Спецтехника
Двигатели
Мототехника
Марка
Не выбрано
Ammann
BOMAG
CARMIX
CASE IH
Changlin
ChengGong
Dimex
Doosan
DYNAPAC
Foton
HAMM
Hidromek
Hitachi
Hyundai
JCB
JLG
John Deere
Komatsu
LIEBHERR
LiuGong
Lonking (LongGong)
Luneng
MANITOU
Mitsuber
New Holland
PENGPU
RM-Terex
SANY
SDLG
SEM
Shantui
Shehwa HBXG
Soosan
TIGARBO
VOGELE
Volvo
WAY
WIRTGEN
XCMG
XGMA
Xiamen
YTO
Yuchai
Zoomlion
Автокран
АЗСМ
Алтайлесмаш
Амкодор
АОМЗ
Атек
АТЗ
Балканкар Рекорд
БелАЗ
Беловеж
Борекс
Брянский Арсенал
Булат
ВЭКС
ГАЗ
Геомаш
Гидромаш
Донекс
Дормаш
Дормашина
Дорэлектромаш
ДЭЗ
ЕлАЗ
ЗЗГТ
Ижнефтемаш
Канаш-электрокар
КЗКТ
ККЗ
Клевер
Клинцовский автокрановый завод
КМЗ
КМЗ 1 Мая
Ковровец
Коммаш
Кранэкс
КЭЗ
КЭМЗ
ЛЗА
МАЗ
МЗИК
МЗКМ
МЗКТ
Михневский РМЗ
МоАЗ
Мозырский МЗ
МТЗ
ОЗП
Онежец
ПАО "ТЗА"
ППС Детва
Промтрактор
ПТЗ
Раскат
СпецАгрегат
ТВЭКС
ТТМ
УВЗ
Угличмаш
УЗТМ
ХТЗ
ЧЗКМ
ЧСДМ
ЧТЗ
ЭКСКО
ЭКСМАШ
ЮрМаш
Модель
Не выбрано
500KN, 500KSN (2013)
DT-140B (2010)
LW-166 (2008)
LW-541F (2010)
LW300FN (2013)
LW300KN (2013)
LW321F (2010)
QY25K (2010)
QY25K5-I (2009)
QY30K5-I (2009)
QY30KH (2009)
QY30KL (2009)
QY30KT5 (2009)
QY50K (2010)
QY50K (вариант) (2010)
QY65K (2010)
QY70K (2010)
QY70K (вариант) (2010)
WZ30-25 (2008)
WZ30-25 (англ.) (2008)
XCT25L4_S (2019)
XCT25L5_S (2019)
XE150D (2011)
XE230 (2011)
XE80 (2012)
XS143 (2017)
XS160 (XS190) (2010)
XSM218 (XSM220) (2010)
XSM218, XSM220 (2010)
XZ16K-XZ50K (2010)
XZ200 (2014)
XZ320 (2012)
XZ360E (2016)
XZ500 (2012)
XZ65K (2010)
XZ680A (2014)
YL16 (YL20) (2008)
YZC7 (2010)
ZL30BR (2014)
ZL30G (2008)
ZL30H (2012)
ZL50G (2008)
Автогрейдер-GR135 (2012)
ГНБ XZ-180 (2012)
Катки XD30, XD40 (2008)
Раб. оборуд. грейдеров GR (2010)
Схема
>
Не выбрано
228401880 XS143 VIBRATORY ROLLER XS143
228401853 FRAME ASSEMBLE
228303106 BATTERY BOX
228401653 DRUM FRAME ASSEMBLE
228401849 RIGHT BRACKET
228702646 FUEL TANK
228702645 OIL TANK
228703138 PLATE
230502674 SUPPLY TUBE ASSY
228400144 DRUM ASSEMBLY
228401535 DRUM
228302987 TRANSMISSION SYSTEM
800354543 AXLE (192/75)
S0000073067 CENTRAL GROUP
S0000073068 DIFFERENTIAL
S0000073069 INPUT SET
S0000073070 AXLE HOUSING
S0000073071 BRAKE
228401862 ENGINE SYSTEM
228102081 ENGINE SETUP
228401858 OIL DRAINAGE SYSTEM
228401855 COOLING SYSTEM
228401857 AIR INLET SYSTEM
228401856 FUEL SYSTEM
228501331 INSTRUMENT AND CONTROL
228501328 ELECTRIC CONTROL BOX ASSEMBLY
228900660 INSTRUCTURE OF INSTRUMENT BOX
228501332 INSTRUMENT PANEL ELECTRIC
228501329 CONTROL BOX
228700617 CONTROL BOX OPERATION
228702933 CONTROL BOX ELECRTIC
228302990 DRIVER CAB
239900621 WARNING LAMP 24V
228302986 DRIVER CAB
S0000009231 CAB 1
S0000009263 CAB 2
S0000009289 CAB 3
S0000009319 CAB 4
226803534 SHOCK CABSORBER
226803533 SHOCK CABSORBER
228501335 ELECTRIC SYSTEM
228703261 BATTERY ASSEMBLY
227002246 REVERSING BEEPER
225703455 BATTERY SWITCH ASSEMBLY
225703438 RELAY ASSEMBLY
228702933 CONTROL BOX ELECRTIC
228501332 INSTRUMENT PANEL ELECTRIC
S0000072339 SENSOR SYSTEM
228501330 WIRING HARNESS ASSEMBLY
228302693 BATTERY WIRES
228401873 HYDRAULIC SYSTEM
228401875 HYDRAULIC PROPULSION SYSTEM
228401874 HYDRAULIC VIBRATION SYSTEM
228401876 HYDRAULIC STEERING SYSTEM
228401877 HYDRAULIC BRAKE SYSTEM
228703136 HYDRAULIC SUPPORT SYSTEM
228401854 ENGINE HOOD
228401786 FRAME
228700305 SAFETY DEVICE
228700434 SCRAPER
228401839 PAINT MARKER
228401843 AC SYSTEM
228401841 COMPRESSOR ASSEMBLY
228401879 XS143 ATTACHED TOOLS XS143
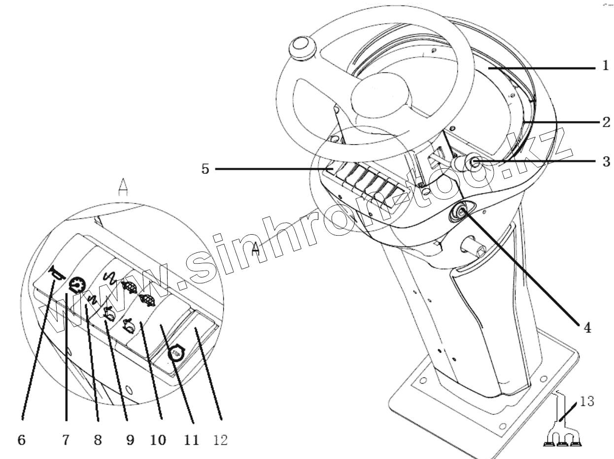
1
2
3
4
5
6
7
8
9
10
11
12
13
Позиция на иллюстрации
Заводской номер детали
Название детали
1
803545342
COMBINATIONAL INSTRUMENT
2
803544079
HARNESS OF COMBINATIONAL INSTRUMENT
3
803686635
COMBINATIONAL SWITCH
4
803608667
Выключатель зажигания
5
228101987
COMBINATIONAL SWITCH
6
S0000072333
SWITCH
7
S0000072334
SWITCH
8
S0000072335
SWITCH
9
S0000072336
SWITCH
10
S0000072337
SWITCH
11
803605453
THUMBS-UP SWITCHES
12
S0000072338
SWITCH
13
228501334
HARNESS OF INSTRUMENT BOX
Содержащиеся в справочниках-каталогах запасные части и детали не предлагаются к продаже, а носят исключительно информационный характер
Дополнительная информация
×
Название:
Номер:
Примечание: