Каталог запасных частей к технике: XCMG XE150D. Pilot Hydraulic Piping
1
2
2
2
2
3
4
5
6
6
7
7
8
9
9
10
11
12
13
14
15
15
16
17
18
18
18
19
19
20
20
20
21
22
23
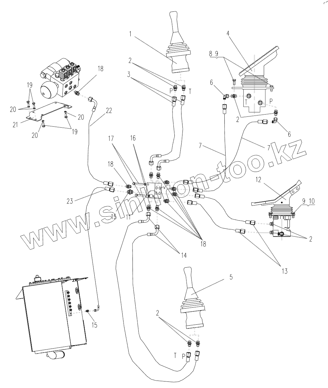
| Позиция на иллюстрации | Заводской номер детали | Название детали | |
|---|---|---|---|
| 1 | 803007222 | Right Pilot Valve | |
| 2 | 803172161 | Adapter | |
| 3 | 803172419 | Hose Assy | |
| 4 | 803007191 | Pilot Valve | |
| 5 | 803007221 | Left Pilot Valve | |
| 6 | 803166487 | Adapter | |
| 7 | 803177328 | Hose Assy | |
| 8 | 805000714 | Болт М10х20 | |
| 9 | 805300014 | Шайба 10 | |
| 10 | 805000062 | Болт М10х35 | |
| 11 | 803007220 | Diffluence | |
| 12 | 803202206 | Pilot Valve | |
| 13 | 803172092 | Hose Assy | |
| 14 | 803172095 | Hose Assy | |
| 15 | 803173835 | Joint | |
| 16 | 805300010 | Шайба 8 | |
| 17 | 805004693 | Bolt | |
| 18 | 803163582 | Adapter | |
| 19 | 805000714 | Болт М10х20 | |
| 20 | 805300014 | Шайба 10 | |
| 21 | 310500233 | Bracket | |
| 22 | 803172000 | Hose Assy | |
| 23 | 803172012 | Hose Assy |
Содержащиеся в справочниках-каталогах запасные части и детали не предлагаются к продаже, а носят исключительно информационный характер