Каталог запасных частей к технике: XCMG WZ30-25 (англ.). Working Oil Tank
1
1
2
2
2
3
4
4
4
4
4
5
5
6
6
7
7
8
9
10
11
12
12
13
13
14
14
15
16
17
18
19
20
21
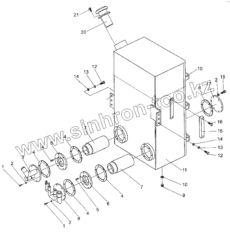
| Позиция на иллюстрации | Заводской номер детали | Название детали | |
|---|---|---|---|
| 1 | GB5783-86 | Болт | |
| 2 | GB93-87 | Шайба 12 | |
| 3 | WZ30.9.4.3 | Сливной фланец | |
| 4 | WZ30.1.1-2 | Прокладка | |
| 5 | GB70-85 | Болт | |
| 6 | WZ30.9.4-1 | Фланец крепления | |
| 7 | WU-400x100F-J | Фильтр | |
| 8 | WZ30.9.4.2 | Обратный фланец | |
| 9 | WZ30.1.1-4 | Пробка | |
| 10 | JB982-77 | Шайба | |
| 11 | WZ30.9.4.1 | Топливный бак | |
| 12 | GB5783-86 | Болт | |
| 13 | GB93-87 | Шайба 12 | |
| 14 | GB95-85 | Шайба | |
| 15 | YWZ-200 | Индикатор уровня | |
| 16 | Bolt | Bolt | |
| 17 | WZ30.1.1-1 | Крышка фланца | |
| 18 | GB5783-86 | Болт | |
| 19 | WZ30.1.1.2 | Ladder | |
| 20 | EF5-65 | Воздухоочистительный фильтр | |
| 21 | Bolt | Bolt |
Содержащиеся в справочниках-каталогах запасные части и детали не предлагаются к продаже, а носят исключительно информационный характер