Каталог запасных частей к технике: XCMG WZ30-25 (англ.). Rear Chassis
1
2
2
3
3
4
4
5
5
6
6
7
7
8
8
9
10
11
11
11
11
11
11
11
11
12
12
12
12
12
12
12
12
13
14
14
15
16
17
18
19
20
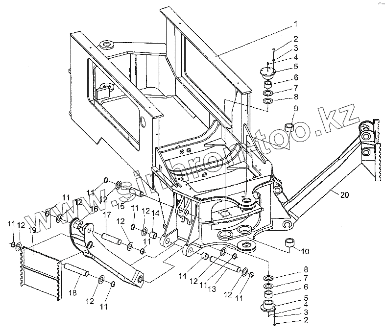
| Позиция на иллюстрации | Заводской номер детали | Название детали | |
|---|---|---|---|
| 1 | WZ30.8.1B | Rear Chassis | |
| 2 | GB5783-86 | Болт | |
| 3 | GB93-87 | Шайба 12 | |
| 4 | GB1153-89 | Масленка | |
| 5 | WZ30.8.2-10 | Опора | |
| 6 | WZ30.8.2-1 | Втулка корректирующая | |
| 7 | WZ30.8.2-11 | Прокладка корректирующая | |
| 8 | WZ30.8.2-12 | Прокладка | |
| 9 | WZ30.8.2-8 | Втулка | |
| 10 | WZ30.8.2-9 | Втулка | |
| 11 | GB894.1-86 | Пружинный зажим | |
| 12 | WZ30.8.2-4 | Прокладка | |
| 13 | WZ30.8.2.3 | Shaft | |
| 14 | WZ30.8.2-7 | Втулка | |
| 15 | WZ30.8.2-5 | Вал | |
| 16 | WZ30.8.2.2B | Stabilizer | |
| 17 | WZ30.8.2-3 | Вал | |
| 18 | WZ30.8.2-6 | Shaft | |
| 19 | WZ30.8.2.1 | Стабилизирующая опора | |
| 20 | WZ30.8.2 | Stabilizer |
Содержащиеся в справочниках-каталогах запасные части и детали не предлагаются к продаже, а носят исключительно информационный характер