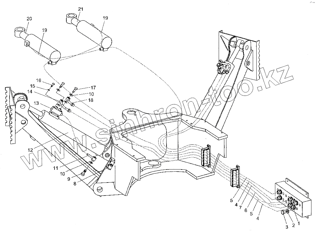
Каталог запасных частей к технике: XCMG WZ30-25. Опорная гидравлическая система
1
2
3
4
4
5
5
6
7
8
9
10
10
11
12
13
14
15
16
17
18
19
19
20
21
21
| Позиция на иллюстрации | Заводской номер детали | Название детали | |
|---|---|---|---|
| 1 | WZ30.9.3.3-5 | Соединительная втулка | |
| 2 | JB982-77 | Шайба | |
| 3 | WZ30.9.3.3-6 | Заглушка | |
| 4 | WZ30.9.3.3.11А | Шланг 13II | |
| 5 | WZ30.9.3.3.10А | Шланг 13II | |
| 6 | WZ30.9.3.3.1 | Шланг 13II-2900 | |
| 7 | WZ30.9.3.3.7 | Шланг 13II-2800 | |
| 8 | WZ30.9.3.3.4 | Зажим | |
| 9 | WZ30.9.3.3-3 | Полый болт М18x1.5 | |
| 10 | JB982-77 | Шайба | |
| 11 | WZ30.9.3.3.2А | Шланг | |
| 12 | WZ25.9.2.1А | Опорный гидроцилиндр | |
| 13 | SO-H10B-S | Гидрозамок | |
| 14 | WZ30.9.3.3.9 | Стальная труба | |
| 15 | GB93-87 | Шайба 12 | |
| 16 | GB70-85 | Болт | |
| 17 | WZ30.9.3.3.8-4 | М10x75 | |
| 18 | WZ30.9.3.3.8 | Полый болт М18x1.5 | |
| 19 | WZ25.9.21 | Стальная труба | |
| 20 | WZ16.9.9.54 | Шланг 13II-850 | |
| 21 | WZ16.9.42 | Рулевой гидроцилиндр | |
| 21 | WZ16.9.42 | Рулевой гидроцилиндр |
Содержащиеся в справочниках-каталогах запасные части и детали не предлагаются к продаже, а носят исключительно информационный характер